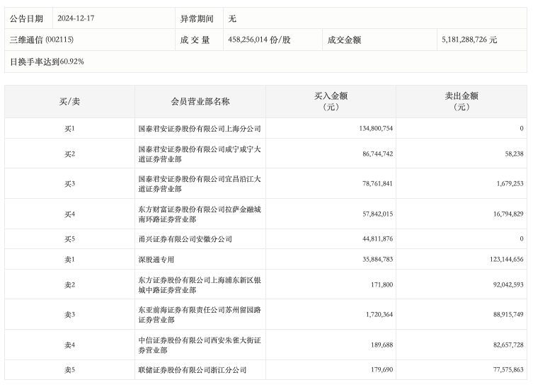
龙虎榜丨三维通信今日上演“天地板”,国泰君安上海分公司净买入1.35亿元

12月17日,三维通信今日上演“天地板”,成交额51.81亿元,换手率60.92%,盘后龙虎榜数据显示,国泰君安上海分公司净买入1.35亿元,深股通专用席位买入3588.48万元并卖出1.23亿元。

 

未经正式授权严禁转载本文,侵权必究。

三维通信

  • 三维通信(002115.SZ):2025年三季报净利润为287.27万元
  • 机构风向标 | 三维通信(002115)2025年三季度已披露持仓机构仅7家

评论

暂无评论哦,快来评价一下吧!