文 | 车东西 R
编辑 | 志豪
车东西1月6日消息,今日,哪吒汽车官网无法正常打开,显示“系统维护中,请稍后再试”。

▲哪吒汽车官网已经无法正常打开
有媒体尝试联系哪吒汽车官方,表示多次尝试拨打哪吒汽车官方客服电话也无法接通,此外有销售人员回电解释称,官网这几天在维护,应该下周就能好了。
该销售人员还称哪吒汽车在1月4日就已经恢复生产了。他表示目前试驾服务也正常进行,“车子都有的”。
对此,车东西尝试联系哪吒汽车北京官方门店,发现门店已经换为销售其他品牌,不过车东西也发现目前哪吒汽车的APP是可以正常打开的,也可以联系到官方人工客服。
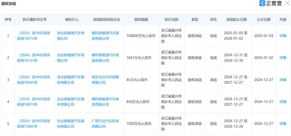
而根据企查查上的消息,2025年1月3日,合众新能源汽车有限公司新增一条股权冻结信息,股权被执行的企业为哪吒新能源汽车制造有限公司,冻结股权数额10亿人民币,冻结期限自2025年1月3日至2028年1月2日。

▲合众新能源汽车有限公司现存多条股权冻结信息
结合此前哪吒汽车裁员降薪事件和CEO张勇下课,创始人方运舟走到前台等消息,哪吒汽车的未来变得难以确定。
截至发稿时,哪吒汽车官网仍未恢复正常。
01.官网无法正常打开,致电门店已转为其他品牌
从昨日晚十点开始,陆续有人发现哪吒汽车官方网站无法正常打开。截至目前,进入哪吒汽车官方网站链接后仅显示“系统维护中,请稍后再试”。
对此有媒体尝试联系哪吒汽车官方,其表示多次尝试拨打哪吒汽车官方客服电话也无法接通。
有媒体以意向购车者身份致电哪吒汽车体验中心,一名销售人员回电解释称,官网这几天在维护,应该下周就能好了,哪吒汽车在1月4日就已经恢复生产了。他表示目前试驾服务也正常进行,“车子都有的”。
另外根据上证报消息,哪吒汽车有关人士向上证报记者回应,公司正在维护中,预计午间可以解决问题。上述人士表示,服务器崩了,但并非因为遭遇攻击,应该是维护问题。
对此车东西尝试联系哪吒汽车北京门店,发现地图软件中搜索北京的哪吒汽车后搜索结果只有6家,车东西与部分北京门店进行了联系,发现门店已经换为销售其他品牌。

▲在地图软件中搜索哪吒汽车门店
目前,哪吒汽车的APP是可以正常打开的,也可以联系到官方人工客服。

▲哪吒汽车官方APP界面
车东西通过哪吒汽车官方APP中的人工客服询问是否可以提车,客服人员表示交付时间视具体情况而定,门店有现车一般7天左右;工厂线下有车源一般14天左右会发运;需要工厂根据订单排产一般30-60天左右。

▲哪吒汽车官方APP人工客服
随后车东西询问哪吒汽车官方客服工厂是否已经复产,客服人员没有回复。
此外,在社交媒体上,有自称是哪吒汽车车主的网友发帖,表示自己的哪吒汽车车机屏幕弹出设备授权提醒,显示“授权已到期,请联系厂商处理”。
该网友还表示哪吒汽车的400电话已经打不通,APP授权到期。

▲有自称是哪吒汽车车主的网友发帖
关于车机屏幕弹出设备授权提醒,车东西也询问了哪吒汽车官方APP上的人工客服,对方没有给出回应。
02.新增10亿人民币股权冻结,官方未公布2024年销量
除了官网无法正常访问等情况外,哪吒汽车近期可谓是“风雨飘摇”。
根据企查查上的消息,2025年1月3日,合众新能源汽车有限公司新增一条股权冻结信息,股权被执行的企业为哪吒新能源汽车制造有限公司,冻结股权数额10亿人民币,冻结期限自2025年1月3日至2028年1月2日,执行法院为浙江省嘉兴市桐乡市人民法院。

▲合众新能源汽车有限公司现存多条股权冻结信息
同时,哪吒汽车主体合众新能源汽车有限公司现存多条股权冻结信息。此外,合众新能源汽车有限公司还有1条被执行人信息,执行金额超911万。

▲合众新能源汽车有限公司有1条被执行人信息
而根据此前的消息,2024年11月哪吒汽车被传启动大规模裁员,比例最高或达到70%。
对此,哪吒汽车向媒体予以否认,官方回应表示,公司正在通过精简业务、聚焦核心、组织优化和薪酬绩效改革等措施,构建更集中高效的组织架构。但是从官方的回应来看,哪吒汽车的裁员与降薪应该是确认的,只是具体比例没有透露。
2024年12月6日,哪吒汽车官方宣布,因公司战略调整,张勇不再担任CEO,转任公司顾问。哪吒汽车创始人、董事长方运舟兼任公司CEO。
同时,方运舟发布公司全员信表示,哪吒汽车将通过一系列改革,在全力以赴实现IPO的同时,未来2-3年内能实现销量一半在国内、一半在国外,2025年整体毛利率转正,2026年公司整体盈利。
但是在2024年,根据哪吒汽车发布数据显示,哪吒汽车9月全系整车交付10118辆,与8月交付的11005辆相比略有下滑。

▲哪吒汽车9月全系整车交付10118辆
同时哪吒汽车前9个月交付量为8.59万辆,同比下降12.13%,前9个月仅完成了全年30万交付目标的约28.6%。
这应该也是哪吒汽车近期最后一次官方公布月销量,同时截至目前,哪吒汽车仍未官方公布2024年全年销量。
而根据此前的数据,哪吒汽车2022年累计交付15.2073万辆,同比增长118%,实现了15万辆的既定目标,同时成为了当年的新势力车企交付量第一。

▲哪吒汽车2022年累计交付15.2073万辆
销量情况不断下滑的哪吒汽车,选择了用上市的方法筹集资金来自救,2024年6月26日,哪吒汽车主体合众新能源汽车向港交所递交上市申请。
根据招股书显示,2021年至2023年,其净亏损分别为48.40亿、66.66亿、68.67亿元,三年累计亏损183.73亿。
而在近期,哪吒汽车主体合众新能源香港主板代码变更,此前临时代码为810613,名称为合众新能源,变更后正式代码为H1940,名称为合众汽车。
有媒体关于此事询问哪吒汽车,哪吒汽车相关人士表示不予置评。至于上市带来的资金能否拯救哪吒汽车,还需要时间来观察。
03.结语:2025年车市洗牌还在继续
总的来看,哪吒汽车近期面临一系列挑战,从官网无法正常访问,到多次被股权冻结,以及组织架构的调整。
哪吒汽车正在通过上市筹集资金以自救,但上市带来的资金是否能够解决当前的困境,以及目前种种事件是否会影响其上市计划,这些问题仍需时间来揭晓答案。


评论