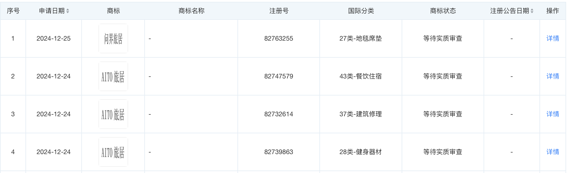
天眼查知识产权信息显示,近日,赛力斯汽车有限公司申请注册数枚“问界旅居”“AITO旅居”商标,国际分类为地毯席垫、餐饮住宿、建筑修理、健身器材,当前商标状态为等待实质审查。
赛力斯汽车有限公司成立于2012年9月,法定代表人为岑远川,注册资本约100.8亿元,经营范围含汽车研发及相关技术的技术咨询、技术服务、技术成果转让等,由赛力斯集团股份有限公司、国开制造业转型升级基金(有限合伙)共同持股。

来源:界面新闻
天眼查知识产权信息显示,近日,赛力斯汽车有限公司申请注册数枚“问界旅居”“AITO旅居”商标,国际分类为地毯席垫、餐饮住宿、建筑修理、健身器材,当前商标状态为等待实质审查。
赛力斯汽车有限公司成立于2012年9月,法定代表人为岑远川,注册资本约100.8亿元,经营范围含汽车研发及相关技术的技术咨询、技术服务、技术成果转让等,由赛力斯集团股份有限公司、国开制造业转型升级基金(有限合伙)共同持股。

评论