在小米SU7和小米YU7两款车型之后,小米申请了多枚“U”字辈商标,或为未来新车做准备。
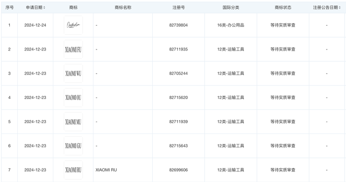
天眼查知识产权信息显示,近日,小米科技有限责任公司申请注册“XIAOMI FU”“XIAOMI WU”“XIAOMI OU”“XIAOMI MU”“XIAOMI GU”“XIAOMI RU”商标,国际分类为运输工具,当前商标状态均为等待实质审查。

小米汽车首款车型SU7于去年3月28日正式上市,定位纯电智能轿车,标准版(后驱长续航智驾版)定价为21.59万元,较同类竞品特斯拉低出超过3万元。新车上市后引发市场强烈反响,交付周期长达数周。
2024年,小米汽车凭借SU7一款车型,全年交付超过13.5万辆,2025年交付目标30万辆。
小米汽车的第二款车型YU7在2024年底登陆工信部第390批《道路机动车辆生产企业及产品公告》,新车为纯电SUV,尺寸与现有的SU7车型相近,但在宽度和高度上有所增加。
小米董事长兼CEO雷军发文解释全新SUV车型提前公示原因时表示,希望YU7测试车可以尽早拆除重伪装,“有助于我们做更全面、更细致的长时间大规模测试。”该车预计于今年六至七月正式上市。

此前业内一份流传的产品路线图揭示了小米汽车在2024年至2027年的新车规划,小米或在未来三年内推出四款新车型,其中包括备受瞩目的增程式SUV车型。
另据科技媒体36氪报道,小米的第三款车的初步定位在15万元级,预计于2026年推出。
雷军曾为小米汽车定下目标,希望通过15-20年的努力,成为全球前五的汽车厂商。在投入方面,小米汽车预计10年投入100亿美元,首期为100亿元人民币。雷军在近日的跨年直播活动中透露,小米造车总支出大概在300亿元左右。



评论