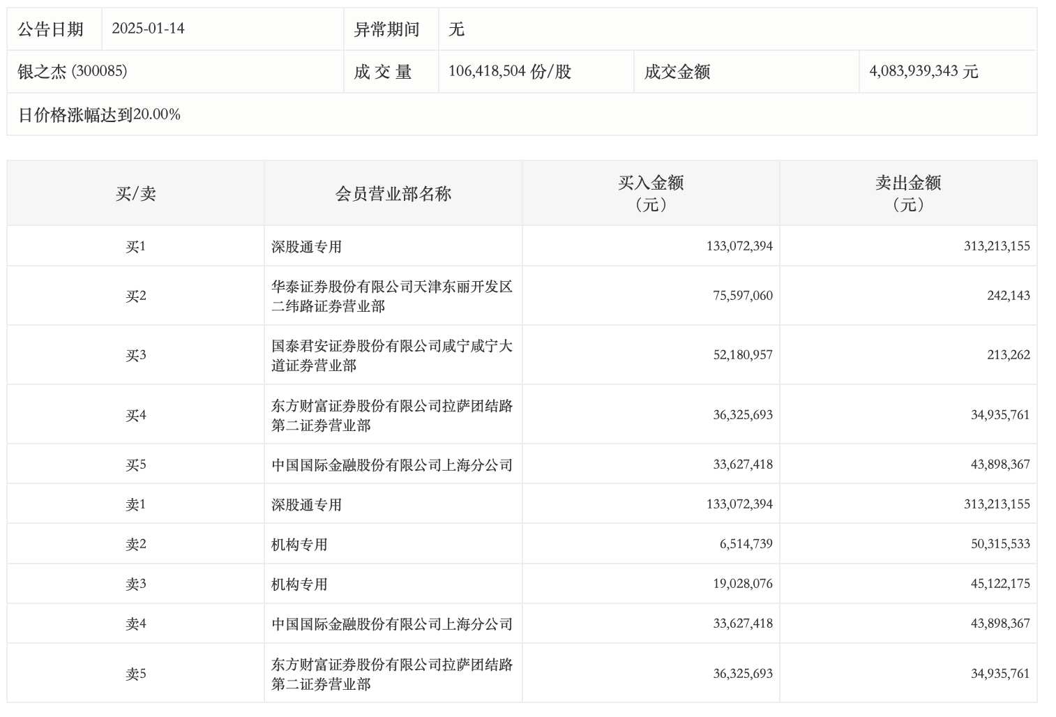
1月14日,银之杰今日涨停,龙虎榜数据显示,上榜营业部席位全天成交8.44亿元,占当日总成交金额比例为20.67%。其中,买入金额为3.56亿元,卖出金额为4.88亿元,合计净卖出1.32亿元。
具体来看,机构买入2554.28万元,卖出9543.77万元,合计净卖出6989.49万元。此外,深股通专用、华泰证券天津东丽开发区二纬路证券营业部分别买入1.33亿元、7559.71万元;深股通专用、中国国际金融上海分公司分别卖出3.13亿元、4389.84万元。

来源:界面新闻
1月14日,银之杰今日涨停,龙虎榜数据显示,上榜营业部席位全天成交8.44亿元,占当日总成交金额比例为20.67%。其中,买入金额为3.56亿元,卖出金额为4.88亿元,合计净卖出1.32亿元。
具体来看,机构买入2554.28万元,卖出9543.77万元,合计净卖出6989.49万元。此外,深股通专用、华泰证券天津东丽开发区二纬路证券营业部分别买入1.33亿元、7559.71万元;深股通专用、中国国际金融上海分公司分别卖出3.13亿元、4389.84万元。

评论