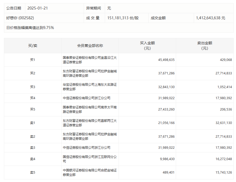
好想你1月21日涨停,龙虎榜数据显示,上榜营业部席位全天成交3.19亿元,占当日总成交金额比例为22.58%。其中,买入金额为2.07亿元,卖出金额为1.12亿元,合计净买入9493.78万元。
具体来看,知名游资现身龙虎榜,作手新一(国泰君安证券股份有限公司南京太平南路证券营业部)净买入2722.67万元。此外,国泰君安证券宜昌沿江大道证券营业部、东方财富证券拉萨金融城南环路证券营业部分别买入4549.86万元、3767.13万元;东方财富证券昌都两江大道证券营业部、东方财富证券拉萨金融城南环路证券营业部分别卖出3263.11万元、2771.48万元。

评论