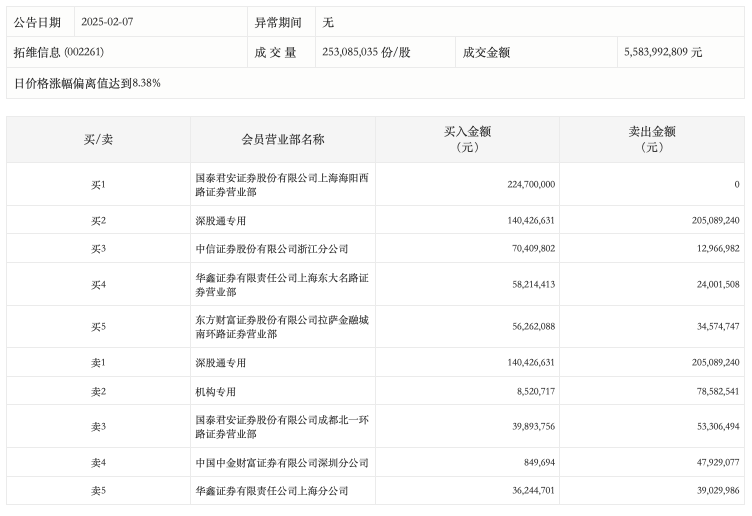
2月7日,拓维信息今日涨停,龙虎榜数据显示,上榜营业部席位全天成交11.31亿元,占当日总成交金额比例为20.25%。其中,买入金额为6.36亿元,卖出金额为4.95亿元,合计净买入1.4亿元。
具体来看,机构买入852.07万元,卖出7858.25万元,合计净卖出7006.18万元。此外,国泰君安证券上海海阳西路证券营业部、深股通专用分别买入2.25亿元、1.40亿元;深股通专用、国泰君安证券成都北一环路证券营业部分别卖出2.05亿元、5330.65万元。

来源:界面新闻
2月7日,拓维信息今日涨停,龙虎榜数据显示,上榜营业部席位全天成交11.31亿元,占当日总成交金额比例为20.25%。其中,买入金额为6.36亿元,卖出金额为4.95亿元,合计净买入1.4亿元。
具体来看,机构买入852.07万元,卖出7858.25万元,合计净卖出7006.18万元。此外,国泰君安证券上海海阳西路证券营业部、深股通专用分别买入2.25亿元、1.40亿元;深股通专用、国泰君安证券成都北一环路证券营业部分别卖出2.05亿元、5330.65万元。

评论