曾经作为高端餐饮代表的湘鄂情创始人孟凯正欲通过回购已经被转让的商标“湘鄂情”复出。
6月19日,孟凯所控股的上市企业中科云网科技集团股份有限公司(下称“中科云网”)在回复深交所的公告中证实,孟凯此次回国欲回购“湘鄂情”商标。
2009年上市的湘鄂情是国内第一家在A股上市的民营餐饮企业。不过2013年起出现大面积亏损,之后转型互联网更名为ST云网仍然扭亏无望。而创始人孟凯也被证监会调查,一个月前才回到国内。
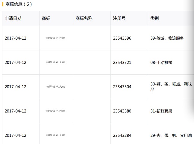
孟凯回国的一个多月里,高调接受媒体采访,表示“将利用湘鄂情品牌重新回归餐饮业”,推出新品牌“湘鄂情八大碗”和“湘鄂情小馆”,前者为半成品的微波菜品,定位于网络消费者,目前已在微信公众号开始售卖;后者则定位大众餐饮,以实体店为主。据《北京商报》报道,湘鄂情小馆首家店将于7月在深圳开设。
界面新闻发现,“湘鄂情八大碗”微信自2016年底开始运营,目前在售商品包括瓦岗红烧肉、梅菜扣肉、珍珠丸子等菜品,不过销量并不高,例如一款“滋补酱猪手”的销量仅为17份。值得注意的是,商标图像均含有孟凯简笔画肖像,品牌名字为“湘鄂情味道”,这背后似乎与孟凯本人关系密切。
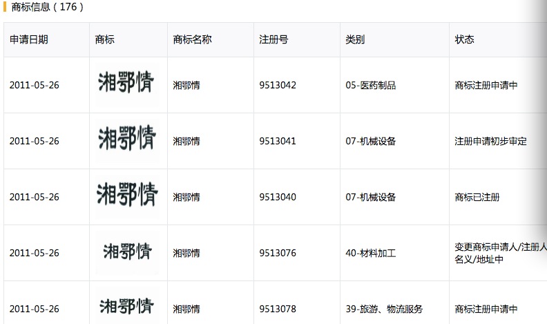
微信公众号账号主体为“北京湘鄂情商贸有限公司”,该公司法人则为“深圳家家湘鄂情投资控股有限公司”(下称“家家湘鄂情”),而家家湘鄂情由深圳市家家餐饮服务有限公司(下称“家家餐饮”)成立,家家餐饮在2015年2月,以1亿元受让了“湘鄂情”系列商标,并以“湘鄂情”品牌开始运作餐饮项目。

根据界面记者查询,2011年家家餐饮就注册过多个湘鄂情相关的商标。
据《时代周报》报道,家家餐饮的法人代表李文出生于1978年,高中文化程度,身份证号信息显示李为武汉人氏,与孟凯同为湖北老乡。
孟凯此前接受《北京青年报》的采访中也表示,购买湘鄂情商标的为朋友。
这很可能意味着,孟凯要回购商标,东山再起并非难事。
上市公司ST云网目前以经营团膳为主,但仍然同属于餐饮业,孟凯此举引发了深交所对ST云网(孟凯为实际控制人)的问询,孟凯经营的这些餐饮品牌是否与公司主营业务构成同业竞争。
根据6月19日的回复,孟凯确实有回购湘鄂情商标的想法,但并不涉及上市公司的业务变动。目前第三方(家家餐饮)以“湘鄂情”商标所运作的相关餐饮项目,与上市公司及孟凯本人无关。
2013年,亏损高达5.64亿元的湘鄂情更名为“中科云网”,但2014年仍然亏损6.84亿元,随后被证监会立案调查的孟凯滞留海外直至今年5月,期间卸下其在中科云网的职务,并先后指定万钧、王禹皓、陈继替其管理中科云网,并处理巨额债务。但随着孟凯与王禹皓关系恶化,中科云网扭亏无望。2016年年报显示,中科云网亏损5408万元。
此前与湘鄂情命运相似、定位相似的餐饮品牌俏江南同样想被创始人收回。2017年1月5日,俏江南股份有限公司向俏江南(北京)企业管理有限公司发出律师函,俏江南股份有限公司不仅仅要求冻结查封“俏江南”、“SouthBeauty”、“麻辣熊猫”等72项商标,还明确要求其停止使用72项商标,这是张兰与CVC之间的矛盾浮出水面之后,张兰试图通过法律手段收回自己创立的品牌。
创始人意图收回品牌重来不难理解,毕竟湘鄂情曾在2007年被认定为“中国驰名商标”,至今仍然有一定知名度,不过孟凯看上的大众餐饮领域和餐饮外卖,同样竞争激烈。当初在高端餐饮市场败下阵来的湘鄂情能否重新回归消费者视线,还很难说。



评论