
来源|众筹之家
作者|十安
“2018年7月10日,乌鲁木齐4500余人接到新疆恒基泰富资产管理有限公司(下称“恒基泰富”)客服经理电话,称深圳中昇国际实业控股有限公司无法正常运营,法人代表薄涛、财务主管邓玉(薄涛妻子)以及总监杨翔携10亿巨款境外潜逃,涉事高层皆为失联。紧随其后,深圳等多地分公司“瘫痪”停运。”
近日,上海警方公布“联璧金融”案境外潜逃的犯罪嫌疑人员被抓捕回国,案件在追赃挽损的侦查中又获得了新一步进展。
而在全民瞩目之余,还有一批分散在全国多地的数千名投资人也在焦灼期许着,卷走近10亿的恒基泰富经济诈骗案的境外潜逃人员也能尽快被抓捕回国,还回他们积累半生的“血汗钱”。
01
“今年4月份,我才刚续完半年合同,总共投了110万进去。该公司客戸经理马某云还给我写了个人担保书,承诺若出现风险,一定提前告知并承担责任……谁能料到才过了三个月,毕生积蓄就化为乌有了。”

图片源自维权人
维权人何先生是一名定居新疆的退休老党员干部(政法老兵),他向众筹之家透露,新疆恒基泰富资产管理有限公司(下称“恒基泰富”)是一家第三方理财公司,该公司证照俱全,并且已经平稳运行多年,在当地社会口碑一直都很不错,地方主流媒体也曾多次将其评选为最佳投资公司。
就在今年5月份,恒基泰富举行了9周年庆典,当地媒体刊发了一篇《九载深耕理财 不忘立业初心》的文章为其造势,公司也是一度被塑造成“可靠、安全、放心”的形象,这也是让投资人们万万没想到的,随后的惊天一雷劈到自己头上时的惊恐、茫然与之形成的剧烈反差。
7月10日,有消息传出公司法人代表薄涛、财务主管邓玉(薄涛妻子)以及总监杨翔携款境外潜逃。“惊惧、绝望……事到如今,我都不敢告诉家里人,担心他们承受不了这个灭顶之灾啊。”何先生说。
据悉,此次恒基泰富一案牵涉甚广。除了新疆的公司,还包括深圳、成都、西安等地分公司,涉案总金额高达10亿元,受害投资人超5000余人。目前,此案已被立案侦查,公司高层已境外出逃,客户经理马某云、马某义已被抓捕。
平稳运行9年、资质证照俱全……突然的临时跑路,不免让人生疑,这是一场筹谋已久的经济诈骗犯罪?背后是否还存在更多不为人知的惊人事实?为此,众筹之家对此案展开了深入的调查。
02
公开资料显示,新疆恒基泰富资产管理有限公司成立于2009年5月,是一家拥有基金信托产品、固定收益类理财产品、中小型企业项目融资等主营业务的投资理财公司。
公司位于新疆乌鲁木齐。此外,在新疆昌吉州、克拉玛依还有两家分支机构,公司法人薄涛持股50%,股东邓玉(薄涛妻子)持股50%。
从股东信息来看,恒基泰富实为家族企业,且在新疆地区“根基”深厚。

截图源自企查查
据悉,恒基泰富是经证监会审核批准在新四板挂牌股权交易的公司,同时,也是乌鲁木齐唯一具有基金发行资格的股权投资基金管理公司,可公开发行基金、股权。
另据维权投资人透露,在恒基泰富运营九年时间里,因为各种资质手续齐全,其中包括工商局颁发的营业执照和各种监管部门、媒体颁发的荣誉证书,所以赢得了很多人的信赖。
一系列的“鲜花着锦”,让恒基泰富成功塑造了“稳定、安全、有保证”的理财公司形象,也蒙骗过了所有投资人的眼睛。
据众筹之家了解,在“恒基泰富”案件中,仅新疆地区涉及的投资金额就高达8亿多元,投资受害人波及乌鲁木齐市、昌吉地区及新疆其他地区零散客户4500余人,而在这群人中大多数为60—80岁之间的老年人,他们的养老储蓄款正好成为了恒基泰富的目标。
但实际上,恒基泰富的触角远远超出这些。
此前在众筹之家的采访中,何先生提到与恒基泰富的续约,实为与深圳新恒基泰富资产管理有限公司签订的“深圳华商一号咨询合伙企业(有限合伙)”投资项目合同,而我们在工商信息查询中发现新疆恒基泰富资产管理有限公司旗下并无此分支机构。

截图源自企查查
据知情人士透露,“深圳新恒基泰富资产管理有限公司”实际为“深圳中昇国际实业控股有限公司(下称中昇国际)”,两家公司同为一个主账户,恒基泰富董事长薄涛持股100%,为中昇国际实际控制人。
逃跑“三人帮”中的杨翔既为公司监事,也是财务总监,现已失联的高管林子文为公司总裁、第二负责人。
据查,案发前夕,中昇国际的募集总规模达到4000万人民币,有5家分公司,主要分布于深圳、成都、西安、香港等地,而这些公司实际上皆为“恒基泰富系”。
03
“恒基泰富”一案也正是由中昇国际爆雷而波及开来的。
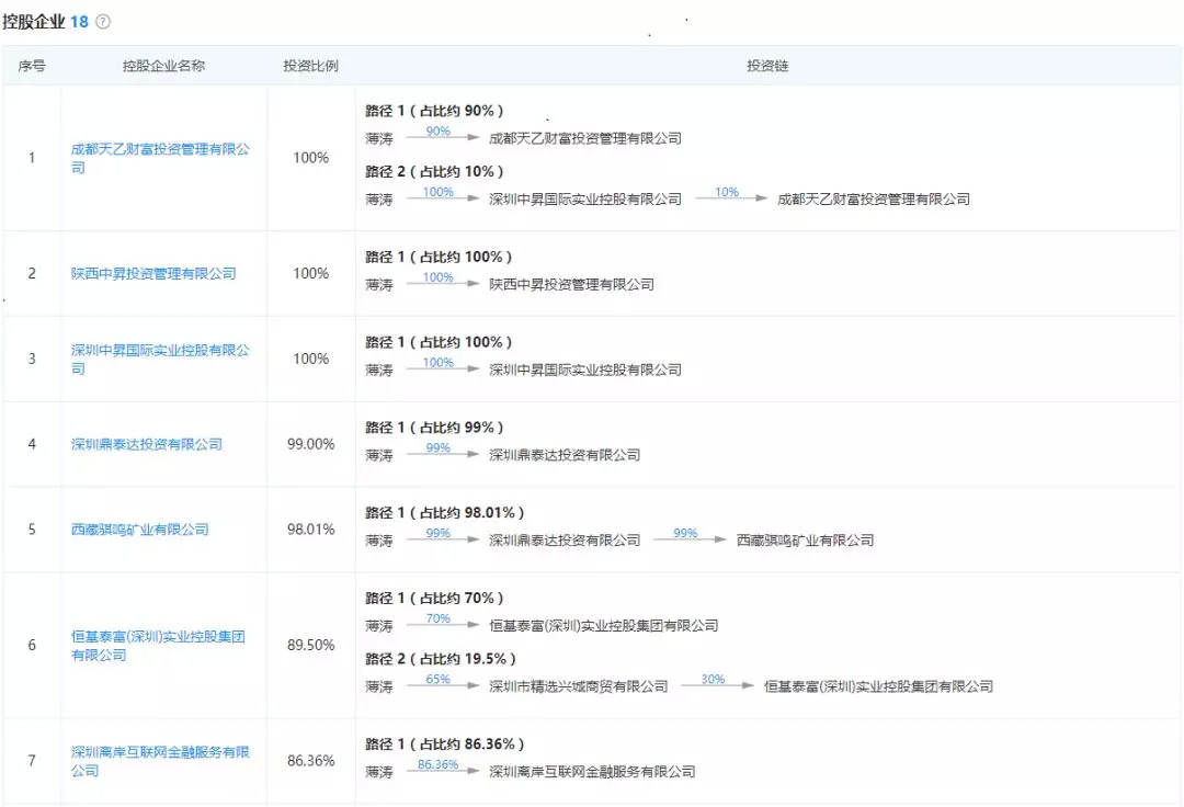
企查查显示,恒基泰富实控人薄涛名下共控股18家公司,此次出事的深圳中昇国际便是其中之一。


截图源自企查查
众筹之家了解到,案发前,何先生投资的“深圳华商一号咨询合伙企业(有限合伙)”项目是关于深圳市光束影视传媒有限公司(下称“光束传媒”)的传奇星赛系列活动,目前该项目活动已在猫眼、永乐上线售票。
而事实上,中昇国际所谓的项目方“光束传媒”事实上也与薄涛有莫大的关系。
据中昇国际内部知情人士透露称:
“这个投资项目是由中昇国际总裁林子文一手负责的,传奇明星赛是和湖南卫视合作的,龙岗大运体育中心都已付过场地费用都已付过场地费用,就等8月24开赛了。不过,目前光束传媒已经解散,产品风控总监甘和平,和林子文一样已经失联,受害者们出事后才知道薄涛是此家光束传媒公司背后的老板。”
而据众筹之家调查,2017年4月25,光束传媒进行了一系列的变更,实控人薄涛转变为李象兰。当前的公开资料显示,李象兰在光束传媒持股99%。
值得一提的是,据知情人透露,这个李象兰实际上为薄涛母亲。换而言之,光束传媒也所属“恒基泰富系”。

图片由维权人提供
而除了光束传媒之外,据统计,薄涛直接或间接控股的“恒基泰富系”公司还有深圳鼎泰达投资有限公司(持股99%)、恒基泰富(深圳)实业控股集团有限公司(持股70%)等在内的18家公司,但这些多为空壳公司,并没有真正在实际运行;并且这些公司都与新疆恒基泰富、中昇国际为一个整体。
所以,对于所有的投资人来说,公司募集的资金最后实际都集中在了薄涛等人手中。虽然事发前恒基泰富曾向投资人们承诺,公司项目资金都是由第三方机构进行托管。但据中昇国际的一个财务告知,公司资金一直以来都是由财务总监杨翔一手控制,这也成为了之后薄涛、邓玉、杨翔等人轻易卷走10亿资金的一个重要原因。
目前,“恒基泰富经济诈骗案”已在新疆、深圳等地立案侦查。后续情况如何,众筹之家将会持续跟进。
注:本文部分内容由维权投资人提供,其承诺所示信息真实无误,并为内容真实性负责,众筹之家仅作客观真实报道。


评论