文|律师 专利代理师 工程师 贾巍超
编辑|IPRdaily王颖
内容提要:
法律具有国家意志性的,自改革开放至今,我国科技水平得到了快速发展,从模仿先进技术国外,再到现在的全民创新,专利制度的保驾护航作用至关重要。专利制度的根基为权利要求书的稳定性,而决定专利稳定性的一重要因素为创造性。创造性具有很强的争议性,可以减少审查员判定时候的主观因素。专利文件本身类似一个法律文件,作者尝试利用法律思维来对创造性进行全新解读,试图使得创造性评价更加客观。
关键字:
本领域技术人员;技术问题;专利权人;因果关系;创造性;
Exploring the Creativity of Utility Patents by Legal Thinking
Summary:
The law has the national will. Since the reform and opening up, China's science and technology has developed rapidly. From the imitation of advanced technology abroad to the current national innovation, the patent system's escort role is crucial. The foundation of the patent system is the stability of the claims, and an important factor in determining the stability of patents is creativity. Creativity is highly controversial and reduces the subjective factors of the examiner's decision. The patent document itself resembles a legal document, and the author attempts to use legal thinking to create a new interpretation of creativity in an attempt to make creative evaluation more objective.
Key words:
technical personnel in the field; technical issues; patentee; causality; creativity;
第一部分 关于本领域技术人员的认定
一 前言
“五岭逶迤腾细浪,乌蒙磅礴走泥丸。”---毛泽东《长征》
对于不了解红军历史的人来说,如果仅从诗句中字面理解,一般会认为红军长征是个很轻松的过程。但是,每个中国人都知道长征过程是多么艰辛。同样,专利创造过程并不如事后看到那样简单,捅破窗户纸容易,知道在哪里去捅破难。
二 正文
本领域技术人员,设定这一概念的目的,在于统一审查标准,尽量避免审查员主观因素的影响”,但是,在《审查指南》中并没有对“知晓”、“促使”——这两个主观因素进行明确限定,也没有对“普通技术知识”,“现有技术”,“常规实验手段”——这三个名词进行明确定义。而且,专利权人与审查员对现有技术知晓程度不同,代表社会公共利益的审查员很容易站在事后诸葛亮的立场来评价创造性,而忽略专利权人的发明创造过程,使得专利文献的创造性高度降低,专利权人的合法权益得不到真正的保护。另外,在实践中,专利代理师与审查员需要在有限的时间内对技术方案进行快速理解,仅仅阅读有限的在先文献和与专利权人有限次的沟通,同时也受制于专利权人的专业知识水平参差不齐,很难到达对该领域技术进行全面客观的认识,专利文献中所表达的现有技术水平并不代表而且很难代表真正的本领域技术人员的技术水平。专利代理师与审查员的行业背景与工作阅历、撰写文件的质量、背景技术的解释等等因素都会影响对本领域技术人员的客观水平。
如何客观的定义“本领域的技术人员”,减少主观因素影响,贾巍超提出以下拙见与同仁分享,共同探讨。
1. 设定本领域的技术人员是为了保护专利权人的合法权益
1.1 从国家政策与立法目的来讲
“党的政策是国家法律的先导和指引,是立法的依据和执法司法活动的重要指导。”【1】,而保护知识产权是我国的基本国策。而《专利法》总则第一条,明确写明“为了保护专利权人的合法权益,鼓励发明创造,推动发明创造的应用,提高创新能力,促进科学技术进步和经济社会发展,制定本法”。
作为下位法的《审查指南》的制定目的主要给专利审查员日常工作用的,当对《审查指南》文意解释出现歧义的,应当进行根据立法目的解释,即做“为了保护专利权人的合法权益”的解释,兜底才是专利权人不可以不合理侵占现有水平的公共技术财富。
1.2 从专利制度的渊源来讲
只有保护了作为善意发明人的专利技术,才能促进技术发展,14世纪,英国为了引进国外先进的纺织技术,英国国王开始为外国技工颁发专利证书,授予垄断权利,使得英国科技水平得到大幅度提升,实现了第一次工业革命发生在英国,即专利制度优先“为了保护专利权人的合法权益”。
2. 本领域的技术人员的特点
2.1 时间性
首先,本领域的技术人员的认知水平是申请日(优先权日)之前的技术水平;其次,本领域的技术人员的认知水平应当结合申请日(优先权日)之前的时代大背景,科学技术的大环境;再次,本领域的技术人员的认知水平应当结合申请日(优先权日)之前的技术潮流。
科技大环境包括积极背景、消极背景以及特殊背景三方面,这三方面的技术背景需要进行单独考虑与整体把握。其中,所谓的积极背景,是对科学技术发展起到促进作用的大环境,例如,在第二次工业革命时代,电力的应用作为动力;在信息革命时代,机算机的应用;自2012年后大数据技术、物联网等新技术的应用。消极背景包括明确被淘汰的落后技术,例如智能机时代的大哥大(又叫手提电话)、BB机(又叫无线寻呼系统中的被叫用户接收机)等落后技术。特殊背景,在某些地区或者某个时间段的特殊情景,例如在非典时期,关于非典预防方面专利的申请特殊定位。在防治“非典”的科技攻关中,涌现出一批重大的发明创造,对其依法、准确、及时授予专利或其它形式的知识产权,不仅对防治工作和生物技术以及医学的发展十分重要,而且对确保我国公众健康、培育国家核心竞争力和发展相关产业十分重要【2】。
2.2 地域性
法是国家意志的表现,世界各国制定专利法的目的都是为本国利益服务的。例如,美国“所属技术领域的技术人员”具有“普通的创造能力”,并配合周边限定说;欧专局在审查指南中没有明确“所属技术领域的技术人员”是否具有创造能力【3】,并配合中心限定说;而我国则在专利审查指南中明确规定了“所属技术领域的技术人员”“不具有创造能力”,配合折中限定说。由此可见,本领域技术人员的水平定位与各国科技水平排名顺序相同。因此,在判断创造性的时候,应当结合我国科技水平,采用严格“不具有创造能力”的限定。
2.3 政治性
专利制度是为了“鼓励发明创造,推动发明创造的应用,提高创新能力,促进科学技术进步和经济社会发展,”,提高我国科技竞争实力,通过设定“不具有创造能力”,将专利制度作为利器,有利于民族企业发展,避免国家科学技术的发展被国外技术所垄断。例如,美国德州仪器公司的半导体专利,在日本申请后被推迟30年之久才获准。美国梅苏克斯公司的红外传感技术,在日本申请专利时却被拖延了将近20年。日本通过对美国半导体的专利技术审查周期进行拖延,从而避免国内半导体行业被美国垄断,保留了二十年的快速发展时间,才有了今天日本在半导体行业的地位。
3. 本领域的技术人员的定义
在《审查指南》第二部分第四章关于创造性(InventiveStep)中“本领域的技术人员,是指一种假设的“人”,假定他知晓申请日或者优先权日之前发明所属技术领域所有的普通技术知识,能够获知该领域中所有的现有技术,并且具有应用该日期之前常规实验手段的能力,但他不具有创造能力。如果所要解决的技术问题能够促使本领域的技术人员在其他技术领域寻找技术手段,他也应具有从该其他技术领域中获知该申请日或优先权日之前的相关现有技术、普通技术知识和常规实验手段的能力。”如何理解该定义中的主观性描述以及程度上的描述,统一本领域技术人员的知识水平显得尤为关键。具体分析如下:
3.1 所属技术领域的确定,应当以权利要求所限定的整体技术方案为基础,借助于主题名称、技术原理、主要技术特征,结合技术方案所实现的技术功能、用途加以确定,而不是各个技术方案所体现的技术领域。针对实用新型专利相近或相关的技术领域判定容易出现偏差,在确定的时候可以参考IPC分类号。
相近的技术领域一般指与整体方案技术原理相近、整体功能与用途相近的领域。例如,在(2011)知行字第19号中,虽然握力计和电子秤都是测力装置,但二者分别具有不同的特定用途。同时,重力和人手的握力相比较,施力对象不同,施力方向也不同,重力单纯向下,人手的握力不是单纯向下而是从四周向中心,所以二者不属于相同技术领域。但涉案专利与手提式数字显示电子秤功能相同,用途相近,二者测力传感器的测力原理基本相同,可以将手提式数字显示电子秤视为涉案专利的相近技术领域。
3.2 在“所有的普通技术知识”中,普通二字的近义词为一般;反义词:特出,格外突出;特别出众。
普通技术知识的是技术人员的基础知识,其确定应当采取有利于保护专利权人的解释,即应限定为教科书、手册等公知常识,不包括技术窍门、不被公知的技术秘密。在评价创造性的时候,普通技术知识的举证责任在于审查员或无效请求人方;而在认定说明书公开是否不充分,专利权人具有举证说明做公开不充分的内容为普通技术知识/现有技术的义务;当权利要求缺少必要技术特征时候,专利权人具有举证说明做该省略必要技术特征为普通技术知识/现有技术的义务。例如,一种照相机,包括布帘式快门……,如果申请日之前审查员对照相机不甚了解,认为仅有布帘式快门无法实现相机的功能,专利权人需要将透镜和取景窗等照相机零部件为公知常识进行举证说明。
另外,结构特征是普通技术知识,并不代表该结构特征与其他结构的连接关系特征是普通技术知识;各零件为普通技术知识,并不代表该各零件相互作用的组合的整体特征是普通技术知识。
3.3 知晓,释义为知道。知道:是指知道有这么一件事情,只是被动的接受,不包含主动的思考。理解:不仅知道其内涵,还完全认可其中的道理,即原理。明白:知道的比较透彻。懂:就是完全知道这件事情,也知道其内涵,更知道其中的道理,或者表示自己就是这个专业的。
如图1-1,物体以角速度ω绕O点,由A点摆动到B点:

图1-1
知晓:支点O,角速度ω,物体始点为A,终点为B,圆周等速运动;
理解:水平方向位移减少了L,距离支点越远,线速度越大等原理。
3.4 常规:沿袭下来经常实行的规矩;通常的规则;一般的规则。创造能力:包括创造技术手段、技术问题、技术效果、技术构思、或技术原理等能力,以及将上述五方面进行非常规组合的能力。
3.5 相关的技术领域:“如果所要解决的技术问题(不包括技术手段、技术问题、技术效果、技术构思),能够(直接且主动)促使(impel)本领域的技术人员在其他技术领域寻找技术手段。”
相关的技术领域可以按照图1-2中的方法进行确定:
步骤1,知晓区别技术特征A所要的技术问题a;
步骤II,设定一个其他领域,记载已经解决了技术问题a;
步骤III,该相关领域也记载解决技术问题a的手段是采用区别技术特征A,步骤IV,得到该其他领域为相关领域。

图1-2
4. 该本领域技术人员必须是“善意”的。
事后诸葛亮是人类的本性,在有限的时间,特别是无效阶段,审查员无法真正还原多年之前(申请日或优先权日)的本领域技术人员的认知水平,而且当时的本领域技术人员的认知水平本身就是不确定的概念。根据谁主张谁举证的举证规则,在专利无效请求人通过大量论文与专利举证事实上已经拔高了现有技术水平,极大地增大了专利权人的举证难度,专利权人很难界定在申请日当时的本领域技术人员的真实水平。
所谓的“善意”是指,既不能刻意将本领域技术水平拔高到研究生工程师、或专家水平以上级别,来增加维权难度,又不能将本领域技术水平降低到外行水平,来不合理的降低授权难度。因此,笔者认为,本领域技术水平还应该为刚入职的大专水平(是指合格的毕业生)或渡过实习期的中专生水平为适宜。
5. 笔者建议,在专利无效阶段评价创造性的时候,可以参考英美法系中的“陪审团制度”,技术事实认定交给陪审团,审查员仅仅负责法律程序上的认定。此处又存在问题,专利无效不同于普通民事或刑事认定,这些陪审团人员都是本领域的利益相关者,正所谓同行是冤家,如何提高陪审团对事实认定的客观性成为需要解决的技术问题。
首先,建立各个领域的陪审员库。例如将陪审员分为技工(设定0.2分)、技术员(设定0.4分)、教师(设定0.6分)、以及专家(设定0.8分)四个人员档次;陪审员需要与涉案专利方无直接利害关系,且保证陪审员事先不知道方案内容。
然后,陪审员预先知道无效请求人已经确定最接近的现有技术,还知道专利权人提供的用于作为增加噪声的多余技术文献。
再次,如果专利权人认为创造性在于发现了原本领域技术员未曾发现的技术问题或技术构思,那么,让陪审员各个独自判断,是否能发现该问题;如果专利权人认为创造性在于找到了解决现有技术问题的手段,那么,让陪审员各个独自判断,看是否能找到无效请求人提供的对比文件内容。难度系数同样分0.2,0.4,0.6,0.8四个档次,陪审员可以人为设定难度分数。
最后,计算人员档次×难度系数的得分,去掉最高分与最低分数,将该分数对应的人员从陪审团中剔除,剩余的人员作为本领域技术人员进行下一步的创造性判断。
同理,对于相关技术领域的判断,也可以引入技术问题、技术效果、用途、技术原理等参数并合理量化,采用上述方法进行判定。
当然,本方法为抛砖引玉,可以解决先进的数学方法对本方法进行优化改进。
三 总结
专利文献是代表技术发展的最前沿的方向与潮流,由于审查员常年审查各行各业大量的前沿专利技术,不自觉地拔高了该领域的技术水平,尤其当其在毫不费力知道技术手段的前提下,带动答案去看所要解决的技术问题,不可避免有“万水千山只等闲”的感觉。因此,只有立足于国情,严格扩大解释,牢记保护专利权人合法权益,才是使得“本领域技术人员”的角色,真正起到统一审查标准,尽量避免审查员主观因素的影响。
第二部分 关于创造性评价的分析方法
一 前言
1923年,美国福特公司有一台大型发电机不能正常运转,公司的几位工程技术人员百般努力都无济于事。福特焦急万分,只好请来德国籍科学家斯罗斯。斯特罗斯来到福特公司后,爬上爬下地在电机的各个地方静听空转的声音,然后用粉笔在电机的左边一个长条地方画了一道线。“毛病出在这儿,”科学家对福特说,“多了十圈线圈,拆掉多于的线圈就行了。”技术人员照此一试,电机果真运转了。大家对斯特罗非常感谢。“不用谢了,给我1万美元就行了!”斯特福说。“天哪!画一道线就要1万美元?”技术人员大吃一惊。“是的!”斯特罗斯傲慢地说,“用粉笔画条线不值一美元,但知道该在那里画线的技术超过9999美元!”。
由此看出,事后知道技术方案回头看解决技术问题的过程容易。但是,发明创造的难点在于:知道在该在那里画线!而创造性的评价核心在于评价“知道该在那里画线的技术”。
二 正文
(一) 关于创造性的审查原则
笔者认为,创造性与新颖性的区别在于:新颖性侧重审查的是专利权人发明创造的结果,而创造性侧重审查的是专利权人发明创造的过程;新颖性是“对人性”,而创造性是“对世性”。
所谓的对人性是指,专利权人发明创造不得与在先已经存在的技术方案相同或等同,即不得直接或变向侵占已经存在的技术方案为自己所垄断,这是社会所不允许的。所谓的对世性是指,我们先假定任何技术方案是在自然界所在的,只不过人类由于自身原因以及社会发展程度所限而没有发现而已,例如电磁效应、蒸汽机原理等,而且专利权人发明创造只不过直接从自然界发现或站在前人的肩膀来发现这些已经“埋藏”在大自然中的过程,专利权人就像一个个淘金者将一个个技术方案从自然界洞穴中挖掘出来。
创造性,对应英文单词为“Inventive Step”,其本质在于,通过采用三步法来还原本领域技术人员完成发明的过程,让审查员体验“Inventive Step”。同时,审查员还要结合该领域技术人员所在行业水平的技术高低,不可能要求农机领域技术人员达到航天领域的技术水平。当针对某一个现有产品时,专利权人可能发现了本领域技术人员都没有发现得该产品存在的技术问题或技术缺陷,也可能发现了产生某个技术问题或缺陷的技术构思或技术原理,还可能发现了基于同一技术构思而采用的不同技术手段。在发明创造的过程中,专利权人在相同、相近或相关的技术领域中的现有技术中寻找犹如大海捞针,需要花费大量的心血。即使发明人可能比较幸运,一下就找到了解决问题的方法【3】,也是基于长期对技术问题或技术缺陷思考的结果,需要对发明过程中的各种相关因素进行综合考虑。例如,19世纪40年代,美国人埃利亚斯·豪为了解决手工缝纫存在的技术问题,在苦闷中,他睡着了。睡梦中,他看见一帮野蛮人要砍掉他的头或是煮了他来吃。关于这个细节有不同的说法,总之处境是大大的不妙,豪拼命地想爬出锅或躲过砍刀,但是被这群野蛮人用长矛恐吓着——这时,他看到了长矛的尖头上开着孔。这个梦使他放弃了传统手工缝纫的原理,设计了针孔开在针头一端的曲针,配合使用飞梭来锁线。1845年他的第一台模型机问世,每分钟能缝250针!这比好几个熟练工人还要快!真正实用的工业缝纫原理诞生了。又如,凯库勒比利时的根特大学任教时,一天夜晚,他在书房打瞌睡,眼前有出现旋转的碳原子。碳原子长链像蛇一样盘绕卷曲,忽见一蛇衔住自己的尾巴,并旋转不停。他像触电般地猛然醒来,接着整理苯环结构的假说。
(二) 判断方法
笔者结合刑法总则中的理论,提出以下方法,即先进行客观要素分析对比,然后进行主观要素确定,如果产生预料不到效果直接排除。
2.1 判断前提是对技术方案进行客观梳理
2.1.1对技术方案进行拆分
如图2-1所示:一个完整技术方案的客观构成包括技术构思、技术原理、若干技术特征(i表示技术特征的数量)、技术问题、以及技术效果(包括技术用途)等基本单元。

图2-1
则对比文件(Dj)构成如下图2-2,j表示对比文件的数量。

图2-2
专利文件的权利要求项所保护的技术方案(Z)构成如下图2-3,

图2-3
将技术文献进行正确的格式细化,是下面进行创造性分析的前提。
2.1.2 对技术特征进行整理
针对技术特征进入如下图2-4的整理。

图2-4
技术特征并不是简单的技术元素的拼凑。技术特征是解决一个或若干技术问题的具有相互关联的技术元素组成最小集合。位置关系、连接关系、动作关系等也是技术元素。那么,何为相互关联呢?笔者认为,综合这些技术元素是否同一个技术问题,基于同一技术构思或同一技术原理来进行分析判断,这些技术元素在连接关系或位置关系是不是不可拆分、缺一不可的【4】。在具体分析判断时候,可以反向进行,即去掉某一个技术特征,看看对应的技术问题是不是还能得不到解决,技术构思是否完整,技术原理是否可以实现。
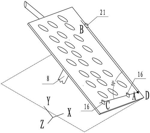
举例来讲,本案涉及一种丝网印刷机,背景技术中的丝网印刷机是印刷放料平台都是水平设置的,印刷品的对位都是通过操作工手工定位的,劳动强度大,精度低。针对背景技术中存在的上述问题,发明提供了一种丝网印刷机(如图2-5中所示),

图2-5
具体改进如下图2-6所示,

图2-6
其改进之处是在,上料的时候倾斜的放料平台(3),在放料平台(3)上设置有至少两个Y向定位销(16),Y向定位销(16)沿Z向伸缩设置,其中两个Y向定位销(16)与印刷品接触点分别为A点与C点,A点与C点沿X向设置,在放料平台(3)上设置有X向定位销(21),X向定位销(21)沿Z向伸缩设置,X向定位销(21)与印刷品接触点为B点,A点、B点、C点以及放料平台(3)的上表面对印刷品六点定位。为了实现自动定位,上述技术特征缺一不可。技术元素包括放料平台(3),两个Y向定位销(16),X向定位销(21);连接/位置关系:Z向伸缩设置,六点定位,A点、B点、C点。因此,技术特征1是机架(1);技术特征2是印刷头(2)、技术特征3是印刷头(2)与放料平台(3)扣合;技术特征4是上述改进之处。
其次,从技术特征是否以文字形式表达,可以分为隐性技术特征与显性技术特征。显性技术特征即写在文字中,隐性技术特征可以根据文字中隐含意思得到的。在本丝网印刷机中,其隐性技术特征包括印刷品通过重力下滑到定位销处。
再次,从对方案的整体影响分析,分为肯定性技术特征与否定性技术特征,在本丝网印刷机中,其相比于现有技术,否定性技术特征为定位时候,省略了人这个技术特征。
2.2 对方案进行对比:
如图2-7,当我们确定好了最基本技术特征,以及与其对应的技术问题之后,开始将专利文件与对比文件进行对比。

图2-7
在现实中,有的时候,当专利文件一个技术特征TZi可能映射多个技术问题WZi,而在对比文件中,该技术特征Ti可能仅解决其中一个或有限几个技术问题,那么这时候,需要结合技术构思与技术原理进行综合分析,基于整个对比文件是否可以得到专利文件对应的技术构思(包含用途)与技术原理。例如,第13420号决定维持辉瑞的万艾可专利权。当专利文件一个技术特征TZi可能映射的技术问题WZi,而在对比文件中存在技术特征Ti,但没有记载该技术特征Ti可以解决技术问题Wzi,而该问题一旦找出,其解决方案却是显而易见的。在这种情况下,确定发明实际解决的技术问题时应将“问题”和“技术手段”共同认定为发明人需要跨越的技术障碍,所确定的技术问题应为“如何解决该缺陷(现象)”【5】
当仅从客观要素,分析得到具有创造性就不需要在分析主观要素。
2.3 在实践中,现有技术包括专利文献、期刊杂志、报刊书籍等大量国内外海量信息,只要审查员或无效请求人通过大量检索之后,很多的时候,可以找到相应现有技术存在解决问题与相应技术特征。创造性评价需要考虑主观要素,包括显而易见、技术启示、技术进步、以及预料不到的效果,如图2-8。

图2-8
当现有技术所要解决的问题与专利文件所要解决的技术问题既不是毫无关系,又不是完全相同或等同的时候,即本领域技术人员看到现有技术所对应的解决的技术问题WDji,有通过一定技术启示路径来解决专利文件中技术问题WZi时候。技术启示路径是否显而易见的,决定该专利文件是否具有创造性的关键因素。
情况一,关系为上下位概念,技术问题Wdji是技术问题Wzi的下位概念,则不具有创造性;如果技术问题Wdji是技术问题Wzi的上位概念,则如果专利文件类型是发明,则不具有创造性,如果专利文件类型是实用新型,则当构思相同时,则不具有创造性,当构思不相同时,则具有创造性。
情况二,技术问题Wdji通过演绎推理或归纳推理可以得到技术问题Wzi则专利文件不具有创造性,反之,则专利文件具有创造性。例如,一项有关剪草机的发明,通过对与公知的不同的斜角,可以保证刀片的自动研磨。又如,汽车轮胎加入30%碳黑生产出来的橡胶具有原先不曾预料到的高强度和耐磨性能。
情况三,技术问题Wdji通过类推推理可以得到技术问题Wzi;根据立法目的解释与现阶段国家政策,始终在强调如何提高对专利权人的保护,因此,在无具体证据支撑的情况下,应该禁止不利于专利权人的类推推理,而可以采用有利于专利权人的类推推理。
2.4 上述三种情况,如果可以由技术问题Wdji推理得到技术问题Wzi;还需要考虑技术启示路径具体形式来的判断上,笔者认为应当考虑技术问题Wdji与技术问题Wzi是否存在因果关系,如图2-9。


图2-9
现有技术问题集合中,如果没有区别技术特征在对比文件D2中的技术问题,则还可以得到专利文件中的技术问题WZ1,则对比问题2与技术问题WZ1无因果关系。如果没有区别技术特征在对比文件D3中的技术问题,则得不到专利文件中的技术问题WZ1,则具有因果关系,则具有技术启示。
2.4.1 如图2-10中,直线型因果关系

图2-10
如果中间技术问题是技术问题Wdji的充分必要条件,同时中间技术问题是技术问题WZji的充分必要条件,即使存在多个中间技术问题,但是从技术问题Wdji最终充分必要得到技术问题Wzi,则具有因果关系,具有技术启示。
如果技术问题Wdji与技术问题Wzi反向引导关系或平行关系,则不具有因果关系,不具有技术启示。
2.4.2 如图2-11,分支型因果关系是比较复杂的一种关系

图2-11
相比于现有技术,专利文件在解决技术问题Wzi时,在现有技术问题Wdij基础上引入了介于技术元素JRYSi,该介于技术元素JRYSi与技术问题WDji对应的技术特征集合TDji组成技术问题Wzi使用的区别技术特征Tzi。这时候,需要具体分析。
首先,根据专利文件记载的方案,判定技术元素JRYSi引入的时机,是早于解决技术问题Wzi介入,还是与解决技术问题Wzi同时介入,还是晚于解决技术问题Wzi介入,还是解决完技术问题Wzi后介入,一般在方法专利或产品涉及工作/使用的动作过程时候,需要考虑。当解决完技术问题Wzi后技术元素JRYSi介入,则不必考虑该技术元素JRYSi。
然后,具体分析该技术元素JRYSi所起的作用,为了达到解决技术问题Wzi的目的,在技术问题Wdij基础上,该技术元素JRYSi所起的作用需要结合专利文件,做具体分析。
当起到正向/反向作用时候,如果仅仅是1+1=2或2-1=1的作用,则该技术问题Wdij与技术问题Wzi具有因果关系,具有技术启示,如果起到1+1>2或2-1<1的作用,则该技术问题Wdij与技术问题Wzi不具有因果关系,不具有技术启示。
当该技术元素JRYSi所起的作用起到主要作用,则该技术问题Wdij与技术问题Wzi不具有因果关系,不具有技术启示。当该技术元素JRYSi所起的作用起到主要作用,则该技术问题Wdij与技术问题Wzi不具有因果关系,不具有技术启示。
当该技术元素JRYSi所起的作用起到辅助作用,当技术元素JRYSi其是冗余作用,有无都可以实现技术问题Wzi,或其作用与技术问题Wdij是重叠关系,则该技术问题Wdij与技术问题Wzi具有因果关系,具有技术启示。当技术元素JRYSi其是起到替代、阻断技术问题Wdij的作用,但还是能到达解决技术问题Wzi的效果,则该技术问题Wdij与技术问题Wzi不具有因果关系,不具有技术启示。当技术元素JRYSi其是起到加强或减弱技术问题Wdij的作用,则针对发明专利该技术问题Wdij与技术问题Wzi具有因果关系,具有技术启示,要是针对实用新型专利,需要根据本领域设计人员水平,结合技术构思、技术原理来进行综合考虑。
当该技术元素JRYSi所起的作用起到主要作用,则该技术问题Wdij与技术问题Wzi不具有因果关系,不具有技术启示。
最后,笔者认为,在专利无效阶段,针对创造性可以采用陪审团制度,将陪审团成员之间进行隔离并与当事人进行背对背,当事人之间进行争辩,推演发明创造的过程,陪审团成员在实现不知道专利权人所认为的创新点基础上,先寻找技术问题,再通过技术问题来寻找对应的技术特征,对该过程是否显而易见进行评判。
三 结尾
总之,创造性专利审查最为精彩的部分,也是一个发明创造产生的过程,笔者结合刑法总则的一些思维,例如主客观分析法、因果关系等理念,以及法理学中的解释方法、推理方法等,结合图表的方式,采用全新的角度来阐释创造性。同时,在专利前期撰写的时候,专利代理师也可以采用本篇文章中的法律思维,对专利文件所要保护的技术方案,采用全新角度进行诠释,从而为后期专利审查,专利宣告无效奠定坚实的基础。总之,最终目的是将创造性尽可能的客观化,减少主观人为因素,降低专利权人维持专利的成本,从而最终实现对专利权人的合法权益进行保护。由于笔者个人能力水平所限,仅仅为抛砖引玉的作用,如有不足之处,请同仁多多指点。
参考文献:
【1】、报纸、人民日报评论员,韩诚编辑:《围绕“两个关系”加强党的领导——一论学习贯彻习近平同志在中央政法工作会议重要讲话》,载《人民日报》2014年01月10日01版,发稿时间:2014-01-1009:59。
【2】、政府文件、国家知识产权局:《国家知识产权局关于在防治“非典”工作中加强知识产权保护的通知》,发布日期:2003-05-15。
【3】、刊物、涂赤枫刘文霞:《本领域的技术人员能否具备创造能力——从中、欧、美、日专利局关于“本领域的技术人员”的定义说起》,载《中国发明与专利》2011年第12期第24-25页。
【4】、论文《创造性理论与实践》冯涛发布时间:2016-06-15http://www.sipo-reexam.gov.cn/alzx/scrdzjt/19933.htm最后一次访问时间:2019-1-2923:56
【5】、论文马文霞刘丽伟发布时间:2015-08-12《创造性判断中发明构思的把握与应用》http://www.sipo-reexam.gov.cn/alzx/scrdzjt/19926.htm最后一次访问时间:2019年1月30日23:56【6】、论文于萍发布时间:2014-08-06《创造性评价中实际解决技术问题的确定——专利法热点问题专家谈(四)》http://www.sipo-reexam.gov.cn/alzx/scrdzjt/19916.htm 最后一次访问时间:2019年1月30日23:56
【7】、图书:中华人民共和国国家知识产权局.专利审查指南(2010)北京知识产权出版社2009.9P176-190;
来源:IPRdaily中文网(iprdaily.cn)
校对:IPRdaily纵横君


评论