文|雅斯顿 Volador
今天我们要聊的人车交互和常规理解上的车内人员和车机交互不太一样,而是车外人员与汽车的交互。要说这可是一个全新领域,即便往前追溯百年,除了喇叭和车灯外,汽车和车外人员交流方式还真少得可怜。
既然要聊交互,自然逃不开V2X,这个时髦的说法全称是Vehicle To Everything,意为车与所有物体的连接。在这么一个“大概念”中就有一个V2P(Vehicle ToPedestrian)的细分说法,它代表车与行人之间的连接,这项技术主要的目的是通过信息特别是网络信息的交互来预防碰撞。
今天我们要聊的其实就是这么一项技术,但概念要更范一些,比如汽车和人所佩戴/携带/驾驶的移动设备也都属于这个范畴。
1 摩托车和汽车交互
根据预测,未来5年全球摩托车保有量将以年均5.1%的速度继续快速增长,到2022年全球摩托车保有量将跃升至8亿多辆。与摩托车巨大的保有量相对应的,是摩托车的高危险性。
据相关数据表明,汽车紧跟摩托车正后发对摩托车驾驶员的危害极大。我本人也有这种体会,骑着摩托车特别怕后车同车道跟车,因为虽然后视镜可以帮忙探测盲点,但仍然存在视线限制,所以不得不通过移动行驶路线来降低碰撞风险。

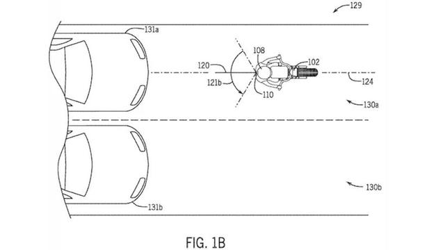
本田在摩托车上的技术实力有目共睹,对先锋技术的投入更是值得期待。针对这个问题,他们在日前申请了一项有关摩托车后置雷达系统的专利。具体来说,是将雷达系统安装于摩托车驾驶员头盔的后方,系统通过一个后置式摄像头工作,探测快速接近摩托车的车辆,将实时数据传送至CPU,然后通过摩托车仪表盘视觉反馈或者通过摩托车座位或栏杆的触觉反馈发送警报。

有这个想法的不仅是本田一家,像杜卡迪公司就表示将在2020年之前将雷达技术整合至旗下摩托车中,铃木最近也申请了一项与雷达技术相关的专利,该专利也是将雷达系统安装在摩托车上。不过考虑到会增加头盔重量,以上两家将雷达系统设计在了车身上。
2 自行车和汽车交互
随着共享出行的兴起,自行车开始在国内复苏。作为一种健康的出行方式,自行车在解决短距离交通刚需上的成绩是值得肯定的。但我们也经常被不守交通规则的骑行者困扰,相信这类问题在短期内也很难通过强化惩罚措施来解决。但换句话说,这也正是自行车和汽车交互技术得以发展的土壤。

早在2014年,沃尔沃提出了建立汽车到自行车的通信系统的想法。它是对与汽车同行进方向的骑行者进行监测,以此扩充AEB技术的触发范围,这项技术已经被应用于沃尔沃绝大部分车型中。
但严格来说,这是一种单方面的监控方式,并不算“交互”。事实上现如今基于行人骑行者的AEB功能也有不少企业在使用,这直接促使2018版E-NCAP对行人保护项中的AEB行人碰撞保护系统内容进行来扩充,开始纳入骑行者检测。
所以作为更高阶和未来化的一种交互方式,自行车和汽车的交互会是什么样的呢?谈到这个问题,我们最先想到还是苹果的iBike。不过作为一项概念化十足,落地比较尴尬的项目,iBike更像是给自行车安装了一台苹果手机,它更多的是强调自行车和骑行者之间的交互。

其实往回看,沃尔沃还提出了一套双向通讯系统的概念,其可根据自行车骑行者头盔上的模块与智能手机进行通信,当系统检测到车辆与骑行者之间的距离过于接近或即将发生碰撞时,驾驶员和骑行者都将接收到碰撞预警提示。想想看,这和本田的后置雷达系统专利有类似之处。
3 可穿戴技术推动人车交互
除了摩托车、自行车外,更多的就是行人了。关于行人的保护问题已经有过很多讨论,我们不做深入的介绍。但其实通过以上分析,大家不难发现,可穿戴技术在推动人车交互上起着强大的推动作用。
可穿戴技术最早由麻省理工学院媒体实验室提出(20世纪60年代),利用该技术,可以把多媒体、传感器和无线通信等技术嵌入衣物中,是一种可直接穿戴的智能设备。随着计算机软硬件、互联网技术和探测技术的高速发展,它在“交互”上的可能性越来越丰富。
举例来说,今年3月份,瑞士初创企业Eyra开发出了一款能帮助盲人“看东西”的可穿戴设备Horus。穿戴上Horus设备后,eyes模块会将其拍摄到的信息传到core模块中,经计算分析处理,可将图片数据转换音频数据,再回传到eyes模块的骨传导耳机播放,由于音源本身存在方位,用户可以听出障碍物的大致方向,骨传导耳机则保证了听力障碍者在嘈杂环境下可正常使用。

虽然Horus并没有与汽车建立独立连接,但这大大开拓了我们的眼界,相信随着网联技术的崛起,汽车通过特殊渠道释放信号给视觉听觉障碍者不再是难事。
这并不是空穴来风,在2018年6月,澳洲第一大电信营运商澳洲电信与澳洲智能网联汽车暨智能型运输系统开发商CohdaWireless合作,透过澳洲电信4G移动通讯网路,成功测试Cohda的防撞技术,在可能发生碰撞时对车辆、行人或自行车骑士发出警示。

在测试展示中,车辆会直接与行人或骑行者的智能手机进行互动,并通过手机App发出警讯。测试证实,道路安全可通过智能手机及移动通讯技术获得改善,并能拯救生命。
雅斯顿小结
在以往,我们更多的是关注汽车自身的智能化,局部范围内会提及些汽车和汽车之间的交互,但汽车和外部人员的交互却了解的不多。但汽车智能化、网联化真要发展起来,肯定要比我们现在所看到的精彩。
人车交互想要发展起来,肯定少不了可穿戴技术的发展。当然,核心还是做好网联化铺垫,就好比澳洲电信利用4G移动通讯网路做的一样。这么看来,大家心心恋恋的5G,还真别再磨磨蹭蹭了嘛。


评论