文 | 时代财经App
徐泽迷上了自走棋——一款脱胎于端游《DOTA2》区别于“吃鸡”的策略对战棋牌游戏。他会在下班后的晚8点打开虎牙观看主播CTY的自走棋游戏直播,也会邀上三五位好友一同对战。他的朋友大多是最近半年才接触自走棋游戏的,原因很简单,自走棋起源于2019年初端游《DOTA2》的游廊地图(玩家自定义游戏)“刀塔自走棋”,由巨鸟多多团队打造。
因玩法简单新颖,自走棋游戏虏获了众多玩家,也引起诸如Valve、拳头、腾讯、网易等全球知名游戏企业的注意。而随着巨头的涌入自走棋游戏开始席卷全球,与之相关的主播、直播平台、游戏企业也在快速布局,生怕慢一步,差之千里。
4月开播,最高70万人在看
徐泽喜欢的游戏主播CTY是在2019年春节期间接触自走棋游戏的,彼时,自走棋游戏刚诞生。因玩法简单有趣,CTY“很快就被深深吸引,最后一发不可收拾”。
正因为这“一发不可收拾”的喜欢,CTY在今年4月尝试自走棋游戏直播,虽然直播时间很短,但因其出色的游戏操作,受到了很多诸如徐泽这样的游戏玩家的喜爱。
最近几个月,CTY将直播时间固定在了下午四时至晚上十二时,日均直播时间9到10个小时。直播时间很长,但效果很好,“直播时最高人气大概在70万左右”CTY说这话时语调轻微上扬。这一数值与动辄数百万的《王者荣耀》或《和平精英》游戏人气有一定的差距,但在自走棋游戏直播圈里,CTY的成绩已经很不错了。“自走棋玩法是今年刚兴起的,体量上与《王者荣耀》没法比,但我很看好这一类型游戏”CTY说。
事实上,不止CTY看好这一游戏类型,CTY所在的直播平台虎牙直播亦是如此。虎牙直播相关负责人曾达在接受时代财经采访时表示,自走棋玩法是今年的热点,虎牙通常会在游戏未开测时与厂商沟通设立板块。以《多多自走棋》为例,我们在游戏未内测的时期就开设了板块,做了市场调研和主播储备,当游戏内测时,我就进行了主播招募和直播冲榜的活动。
曾达所说的《多多自走棋》,是由《DOTA2》游廊自走棋原创团队巨鸟多多联合龙渊网络、imba传媒共同制作,于今年4月推出的策略对战棋牌游戏。因主打“原班人马”制作“原汁原味”,游戏脱离了端游《DOTA2》也依然拥有不少的游戏玩家。徐泽和CTY就是从端游转移过去的手游玩家。
据Sensor Tower7月1日发布的数据显示,《多多自走棋》游戏双平台(Google Play跟App Store)上线后的首周,下载量达到110万次,到目前为止不含国内android的全球累计下载量为420万次,收入超过130万美元。
6个月,65个商标50款游戏
《多多自走棋》的亮眼成绩也让诸如Valve、拳头、腾讯、网易、英雄互娱、畅游等知名游戏企业加速了跟进的步伐。
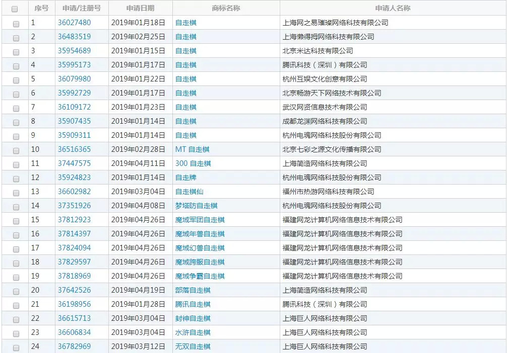
据中国商标网注册信息显示,截止至昨日(7月8日),中国内地游戏企业在分类“41”(教育娱乐)类目下,注册了66个“自走棋”相关商标。其中,腾讯先后注册了自走棋、天天自走棋、全民自走棋、欢乐自走棋、腾讯自走棋等5个商标;网易注册了荒野自走棋、率土自走棋、平安京自走棋、倩女自走棋、乱斗自走棋等多个商标;畅游、巨人、电魂、网龙等游戏企业也有相关的商标注册,并且这些游戏企业正以最快的速度立项研发并推出游戏。

自媒体“有饭研究”报道称,2019年1月至今,App Store上的自走棋相关手游超过20款,安卓测试版有30款以上。今年4月,《多多自走棋》上线时,《皇家骑士:300自走棋》、《赤潮自走棋》、《平安京自走棋》等多款游戏已经开始抢占市场。一时间,“新爆款游戏”、“下一款《王者荣耀》”、“接替吃鸡风潮”等自走棋“溢美之词”频频见诸于媒体报道。
今年6月,一线游戏企业的自走棋游戏集中爆发。6月20日,Valve推出自走棋游戏《刀塔霸业(Dota Underlords)》;6月28日,拳头的LOL云顶之弈(原名英雄战棋)开启内测;7月4日,腾讯自走棋《Chess Rush》全球发布。
与4月的游戏作品相比,6月进驻的游戏多数为老牌游戏重磅产品,游戏品质和精细度更甚一筹。“现在市场上自走棋手游百花齐放,各有各的用户群体,各有各的新颖玩法,我觉得有这样的竞争未尝不是一件好事。”CTY如是说。在他看来,自走棋游戏的竞争有利于精品游戏的诞生,对玩家而言是好事。
对于市场竞争,作为自走棋游戏玩法的创造者,巨鸟多多工作室在接受《游戏日报》采访时表示,“游戏史上有很多案例都能证明术业有专攻的定律,用一款游戏IP来终结一个垂直类市场,这是一个伪命题。”
在巨鸟多多看来,虽然目前很多游戏都推出了自走棋模式,但大多都是以一个玩法模式作为存在。比如LOL的核心价值终归是在MOBA,而非自走棋,无论是玩家属性还是游戏的发展主线,都很难让自走棋成为真正的“主角”。“越来越多的自走棋游戏进入市场后,各自都能在自走棋领域里,走出他们各自的特色之路,而不是谁上来就给整个细分市场划上了句号。”巨鸟多多工作室表示。
大小厂商混战,暑期档或成分界线
理想很美好,但现实是Valve、拳头、腾讯等一线游戏企业已经开始对自走棋市场发起进攻,且攻势凶猛。
据Sensor Tower数据显示,6月20日发布后,Valve《刀塔霸业》手游版首周的全球下载量达到150万次,其中 Google Play占比66%,iOS为34%。
腾讯在7月4日发布自主研发的首款自走棋游戏《Chess Rush》,该游戏不仅向玩法开刀,而且压缩玩家对战时间。可谓博采众长,目前有观点认为依托于腾讯在游戏行业雄厚资源以及社交流量优势,该游戏的发展前景可期。
可以预见,随着拿下自走棋商标的游戏企业产品的推出,后期自走棋游戏的入门门槛将随之提高,竞争也将更为激烈。目前业内已有观点认为,自走棋游戏已告别了野蛮生长阶段进入了“群雄割据”时期。
独立游戏时评人张书乐对时代财经分析说,“任何一种游戏类型的‘问世’,最终在一个阶段可能只有一到两款最终占据主流和生存下来。因此,自走棋游戏的用户聚集,可能在暑期档出现一个明显的分界线。”
在他看来,今年的秋冬季,自走棋市场可能会有“头部”游戏出现。当然,也不排除有更为创新的自走棋玩法出现。“游戏的体验是可以不断创新的。卡牌游戏盛行之时,跟风吃灰的有之,进场很晚如《阴阳师》却创新了体验(如和风)而让用户氪金的有之。”张书乐表示。
他认为,游戏模式本身并非横空出世,或许来自于PC时代的某种类型的进化,甚至可能来自于红白机时代,但归根到底能够成为一种现象级存在,都在于根据新的网络体验和用户需求,进行了定制化的创新。
只是,从目前的自走棋市场发展来看,虽然各方都在倾情投入和探索,但谁也不知道,“自走棋”的市场到底有多大,这种玩法到底是下一个“爆款”,还是一个昙花一现的伪热点。不管结果如何,各方都在跑马圈地,尽可能的扩充自己的涉及范围,各家边境也开始逐渐接近,擦枪走火的风险也越来越大。


评论