编辑 | 智东西 赵佳蕊
智东西7月15日消息,据外媒Phone Arena最新报道,苹果将要放弃AR智能眼镜项目之际,三星的一款AR眼镜专利获得了批准。
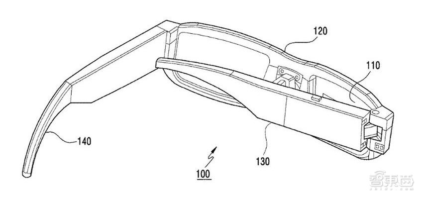
三星的这个专利于今年一月份提交。专利中描述,当AR眼镜处于展开状态时,它可以自动开机。位于眼镜腿上的投影仪可以把光线投影到装有透镜的小显示屏上,同时它使用的是基于ARM架构的处理器。
一、这款AR眼镜展开时可以自动开机
这款可穿戴设备包含许多配件,其中包括透明构件、外壳、投影仪、光学传递构件和固定装置等。
通过铰链部分外壳可以用旋转的方式耦合到透明构件,以便外壳可以相对于透明构件按照指定的方向折叠。当该设备处于折叠状态时投影仪停止发光。
当外壳相对于透明构件处于展开的时候,光学传递构件能够将从投影仪发射的光引至透明构件,此时光学传递构件不与透明构件有物理接触。
固定装置包括两个磁极,其中一个磁极安装在外壳中,另一个相反磁极安装在透明构件中,两个磁极可以相互吸引。

二、三星曾用视频展示无屏VR/AR眼镜
2017年三星发布了一款名为“无显示屏”(Monitorless)的项目视频,该视频展示了一款AR眼镜,这款眼镜看起来和这次专利中使用的插图非常相似。
这款“无显示屏”眼镜可以通过WiFi连接到三星的手机上,三星的手机可以通过蜂窝网络连接到用户的电脑上,用户便可以用AR眼镜看他们的电脑桌面(因此命名为“无显示屏”)。
三星在2017年世界移动通信大会上展示了这款无屏眼镜,它使用电致变色玻璃使得这款眼镜可以在VR和AR之间相互切换,这种玻璃可以通过施加电压来改变其不透明度。
结语:AR眼镜市场化程度低
尽管市场上已经出现了不少的智能眼镜,例如已经商业化的谷歌眼镜,但作为一个消费产品,谷歌眼镜却是失败的。
对于普通消费者来说,谷歌眼镜1500美元的售价太高了,而且安装眼镜对消费者来说也是一道艰难的门槛。电影院也因为担心这些AR眼镜在观影时录屏而拒绝这种AR眼镜进入放映厅,甚至还有一些酒吧因担心佩戴者偷拍客人照片,侵犯他人隐私,而拒绝这种AR眼镜进入酒吧。
目前来看,苹果放弃AR眼镜,谷歌AR眼镜的市场化也不算成功,三星获得此次AR眼镜专利之后,能否成功将AR眼镜市场化尚且还是一个未知数。
文章来源:Phone Arena


评论