文|连线 青松
编辑|水笙
“生病急用钱?快用水滴筹”,水滴筹官网首页,这家平台将其能发挥的最大效用摆在了世人面前。但眼下,这一本应是雪中送炭的平台,开始偏离最初的轨迹。
11月30日,梨视频发布一则《卧底水滴筹:医院扫楼,筹款每单提成》的视频报道,报道指出,互联网筹款平台“水滴筹”在超过40个城市的医院派驻地推人员,在各个医院病房进行“扫楼”,引导患者发起筹款。
视频中,“每天都得扫(病房),从5楼到28楼”、“半个小时就能办好”、“没谁会做亏本的买卖”、“每月最少35单,发不完淘汰”、“故事都有模板,都好弄”,等等言论从多个水滴筹筹款顾问的口中说出,有顾问提到,公司要求“强制发单”的原因是想要抢占市场,自带公益属性的水滴筹,暴露出其不为人知的一面。

水滴筹顾问工作流程,图片来源于梨视频
乱象不止于此,从发起标准到预筹金额,再到资质审核,这套由筹款顾问全程跟进的业务流程,同样暴露出不小的问题。从视频中可以看出,水滴筹顾问未向医院核实病情、并随意估算筹款金额等情况,在不同地区、不同医院轮番上演。
水滴筹方面随后回应称,其已在第一时间由水滴筹总经理牵头,线下各区域筹款顾问负责人以及其他相关负责人成立紧急小组,在全国范围内尤其是宁波、郑州、成都等地,开展相关情况排查。
回应还提到:“自即刻起,线下服务团队全面暂停服务,整顿彻查类似违规行为,组织重新回炉学习,再次加强平台纪律培训和提升服务规范,培训通过后方可重新提供服务。”

水滴筹的回应,图片来源于水滴筹官方微博
随即不久,有媒体就此事件采访了水滴筹PR负责人、新闻发言人王莹,其回应称:“我们平台对员工有非常严格的行为规定,但有个别员工依然为了个人利益发表一些不符合规定的言论,这种行为我们是绝对不容忍的。希望大家不要因为个别不规范行为,否认水滴筹平台存在的价值。”
可以预见的是,此次事件之后,水滴筹的公众信任感或会降至冰点,其长久以来维持的良好形象无疑也将大打折扣。
今日下午五点十五分,水滴筹微博发布声明,“线下人员违反服务规范的类似现象确有不同程度存在,公司管理层认为,这类问题核心是公司的管理问题,水滴公司管理层自身必须对此负责,承担相应管理责任。同时,水滴筹将调整绩效模式。”

水滴筹发布的最新声明,图片来源于水滴筹官方微博
事实上,在水滴筹大量“发单”的背后,是一门保险生意。在公益平台水滴筹背后,是“水滴保”(2019年6月改名为水滴保险商城),这个主要销售健康类保险产品的平台,是水滴公司主要的营收渠道,这个平台需要的是大量的流量和用户。在梨视频的采访中,水滴筹款顾问提到,在水滴筹上给癌症病人捐款的人,捐完后自己购买健康险的概率较高。

水滴保险商城上的保险产品,图片来源于水滴保官网
这种关联性,让人怀疑水滴公司是否能够平衡好公益和生意?如何做好整个流程的监管?
1、频繁遭遇信任危机
这不是水滴筹第一次遭遇信任危机。
2019年5月7日,德云社相声演员吴鹤臣(本名吴帅)突发脑出血住院救治,其家人随后在水滴筹平台发起筹款,随即引发网友争议。争议焦点在于,有网友发现,吴家经济状况良好,在北京有两套房产、一辆车,却在众筹时勾选了“贫困户”标签。

吴鹤臣的大病众筹页面,目前显示发起人正在退款中
对此,水滴筹在对外回应时称,当前车产、房产、存款等家庭经济情况普遍缺乏合法有效的核实途径。为了让赠与人充分了解患者的实际情况,决定是否予以帮助,水滴筹要求发起人向赠与人最大化、真实地公布患者的疾病情况、治疗花费情况、家庭经济状态(主要是房产、车产等信息)、预期款项用途以及享受医保、商业保险情况。
声明还指出,水滴筹将第三方验证机制、监督举报机制与平台审核机制相结合,以此对患者相关情况进行核实。
但就此次的事件来看,至少在第一步,水滴筹的顾问们就没有认真核实患者的信息,而是为了发单随意发起筹款金额。
不够严格的审核机制,还给了一些人隐瞒真实情况以获得捐助的可能。
今年6月,全国首例网络个人大病求助纠纷案有了结果,网络筹款发起人莫某被判返还“水滴筹”全部捐赠15万余元及利息。这些钱将由平台返还给6068位捐款人。
莫某的儿子的确患了重病,但他隐瞒了家中有房、有车、有商铺的情况,并且隐瞒了通过其他渠道筹得的资金。同时,他所筹得的款项,也并全部按照与平台的约定,用于支付其孩子的医疗费用。
对于此案,北京朝阳法院表示,其同时向民政部、北京水滴互保科技有限公司(以下简称水滴筹公司)发送司法建议,建议推进相关立法、加强行业自律,建立网络筹集资金分账管理及公示制度、第三方托管监督制度、医疗机构资金双向流转机制等,切实加强爱心筹款的资金监督管理和使用。
2、输血易,造血难
水滴公司是一家商业公司,而且是一家备受投资者青睐的明星企业。

水滴筹,图片来源于水滴筹APP下载页面
2016年4月,顶着美团10号员工的光环,沈鹏创立水滴公司。据硬核财经报道,在他离职的第二天,就收到了来自前东家和前同事的数百万投资。一周内,沈鹏被一众投资机构频繁约见。

水滴公司创始人沈鹏,图片来源于沈鹏个人微博
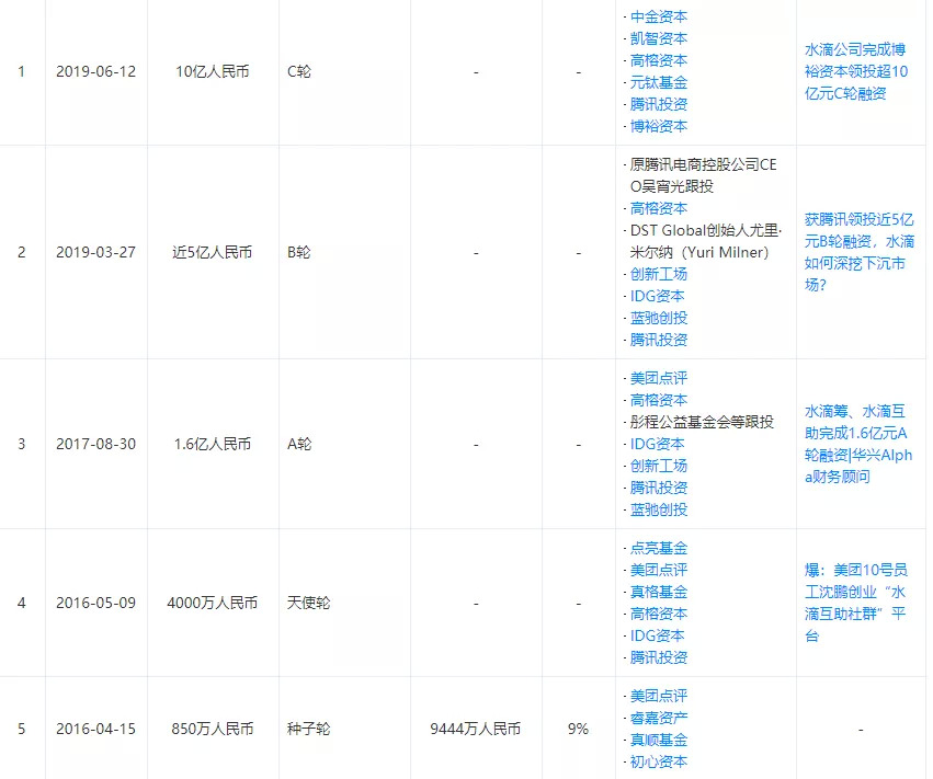
天眼查资料显示,水滴筹主体公司为北京纵情向前科技有限公司,该公司旗下另外两项产品为水滴互助与水滴保。截止目前,其已完成5轮融资,融资额总计高达近18亿元。
2016年4月,其完成850万人民币种子轮融资;同年5月,其再次完成4000万元人民币的天使轮融资,投资方包括IDG资本、腾讯、美团-大众点评、高榕资本、点亮基金和真格基金等;2017年,其完成1.6亿元A轮融资。

水滴公司融资历程,图片来源于天眼查
即便是在资本市场不景气的2019年,其依旧是资本的宠儿:2019年3月,其获得由腾讯领投的近5亿元人民币B轮投资,仅仅过了三个月后,其再次宣布完成高达10亿元的C轮融资。三个月内,水滴公司连续获得两轮融资,不得不说其势头很猛。
但事实上,现在最为人熟知的水滴筹,并不具备盈利能力,这是所有筹款平台面临的共同难题。
水滴筹之前,筹款平台领头羊是轻松筹,据新浪财经报道,此前,包括轻松筹在内的筹款平台都会收取2%左右的手续费。此后,由于这种商业模式饱受争议,轻松筹在2017年5月宣布,对个人大病实行零手续费。
而水滴筹从一开始推出,就不收取任何手续费,筹集所得资金也全部归筹款人所有。水滴筹不仅不赚钱,此前还为了发展进行过补贴。那么,这个公司怎么生存?
真正的盈利点,藏在水滴筹、水滴互助与水滴保组成的商业闭环,在这其中,水滴筹是最为重要的流量源头。而水滴保则是最主要的变现渠道,2017年5月,水滴公司获得保险经纪牌照,进入保险行业迅速发展,其官方信息显示,水滴保战略合作的保险公司超过60家,保障用户超过1000万。

水滴保商城页面,图片来源于水滴保商城官网
这也不难理解,为什么水滴筹如此重视单量,毕竟,累计捐款超过4亿人的水滴筹,可以为水滴公司另外两个业务——水滴保和水滴互助进行导流。
沈鹏的生意经正在慢慢奏效。此前,他曾公开表示:“公益筹款也是一个很好的商业场景,你给一个刚为白血病患者捐助的年轻人推荐一个抗癌或者白血病的保险,这个转化率也很高。”
但对于流量的重视,导致水滴筹对于顾问指标极为重视,从而衍生出造假、流程不规范、审核不严格等各种问题,短短一年内,遭遇多起危机的水滴筹,或许真的是时候慢下脚步完善机制,而不是为了市场蒙眼狂奔了。
3、商业公益如何平衡?如何监管?
不可否认的是,水滴筹上线以来,确实帮助了万千经济困窘的患者和家庭,其内在的公益价值不可抹杀,甚至于,承接着水滴筹的下游水滴保,对健康险的普及也发挥着不容忽视的作用。
但对急速前进的“水滴公司”来说,如何找到公益与商业价值之间的平衡点,成了下一阶段亟待思考的问题。再由此延伸,其急速扩张之下所暴露出来的在管理、监管等方面的问题,同样到了需要根治的时刻。
回过头看,从表层“无处不在”的线下地推,到筹款顾问具体操作流程的随心所欲,再到最深层次的信任危机,水滴筹前路不明。
这些危险信号,或许从很早就已经埋下引线。
线下地推是美团的强项,出身美团的沈鹏将这一模式在水滴筹的推广上进行了复制。早期的水滴筹,打的就是下沉市场的主意。据锌刻度报道,除了在每个城市招募大量兼职人员和志愿者,辅导当地人筹款,水滴筹还在各地农村做刷墙广告,由此来获取足够多的流量。
久而久之,争议也随之而来。湖北某医院神经外科护士刘敏曾对媒体抱怨道:“他们的人经常是一帮人进入病房,围着患者介绍他们的业务,也不管患者的家庭经济情况是不是困难,就让你参加,而且把宣传单放得哪里都是。”但这,只不过是大肆地推背后的一个缩影。
本次危机发生后,知名评论人士敬一山曾评论称,“如果说过去一些‘骗捐’丑闻,还可以归咎于筹款人自身造假,平台问题主要在审核不严。但水滴筹有如此庞大的地推团队‘扫楼筹款’,说明可能存在系统性、组织化的‘造假’。”
水滴筹11月30日的回应中,其如此解释成立线下推广团队的原因:水滴筹组建线下服务团队的起因,是发现一些年纪偏大、互联网使用水平较低的患者,在陷入没钱治病的困境时,还不知道可以通过水滴筹自救。水滴筹不希望任何一名有需要的大病患者措施自救机会,因此组建了线下服务团队为他们提供相应的筹款支持服务。
初心没错,但问题是,剖析水滴筹发起筹款的每一个环节,从审核标准到流程监管的部分,自始至终,并不是很完善。换句话说,水滴筹快速发展的这几年,追求流量、为商业价值打好基础,或许从一开始,就凌驾于公益之上。
去年,沈鹏在接受商业与生活采访时提到,水滴筹、水滴互助和水滴保,本质上都是在经营信任,如果没有看到这一点,或者对这一点理解不够深刻或者不够坚持,时间长了就会产生质的差别。希望这几次的危险信号,能够让水滴真正做出改变,并完善整体机制。
同时,对于这样一个拥有巨大流量,并且有巨额捐款流通的平台,也有必要引入第三方监管平台,不仅仅水滴筹需要,所有的众筹平台都需要,只有这样,才能够让公众对众筹平台更有信心。


评论