文|雷达财经 长帆
编|深海
2月12日,贾跃亭方面此前披露的一份声明引发众多关注,已申请离婚的甘薇向贾跃亭提出了接近5.71亿美元(约合人民币39.83亿)的索赔。
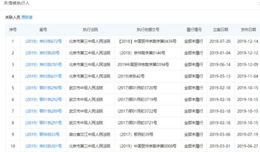
目前,贾跃亭正在申请破产。企查查方面的数据显示,截至2月12日,贾跃亭已经16次被列为失信被执行人。
1月29日,贾跃亭更新微博,称“祖国人民深受疫情之苦,悲痛如潮,在人类灾难面前,此时的我却无力做任何贡献,心如刀绞。”

无能为力的贾跃亭,有能力支付甘薇的巨额离婚索赔吗?
曾帮乐视拉来众多明星股东
贾跃亭起于微末,在甘薇之前,贾跃亭在老家山西曾有两段短暂的婚姻,均黯然收场。
2003年,与他人一起在北京紫竹桥民居里一起合租的北漂贾跃亭,遇到了扭转人生的第一个机遇。因为工作上长期与中国联通打交道的原因,他得以敏锐地嗅到3G的商业前景:“我认为3G牌照将很快发放,带宽速度将大大增加,视频业务需求将超过图文需求。”
贾跃亭想从平台入手,做流媒体平台,这是日后乐视网的起源。这一年,他30岁,业务大获成功。
2004年的冬天,贾跃亭在北京的一场饭局中,认识了时年20岁的甘薇。
当时的甘薇,还是解放军艺术学院的一名学生,年轻而富有活力,贾跃亭心动了。
此时,贾跃亭身价已过千万,涉世未深的甘薇,还未见过太多繁华,很容易就被贾跃亭俘获了。
刚毕业一年,甘薇就低调嫁给了贾跃亭。
此时,贾跃亭正在逐渐走上人生的辉煌。2010年,乐视网成为第一家上市的视频企业。2012年,乐视网广告收入4.2亿,超过版权分销所得的收入,成为乐视网新的利润增长点。
2014年,贾跃亭和甘薇的双胞胎女儿降世,两年后又降一子,贾跃亭非常开心,多次在公开场合、微博展现夫妻二人和三个子女的幸福生活。
贾跃亭还拿出真金白银,支持甘薇事业。2015年12月,甘薇监制的古装网络剧《太子妃升职记》开播,成为流量爆款。在乐视网播出9天即破亿,开启了网剧新高潮。乐视网为此新增会员达220万,一个月内会员收入暴增4000余万元。
甘薇“乐视老板娘”形象更加深入人心,其名下也拥有了十多家公司,其控制的北京乐漾影视估值也一路飙到12亿元。
靠着乐视的资源,甘薇在娱乐圈风生水起,还加入了泰迪姐妹团。泰迪姐妹团成员大姐秦岚、二姐霍思燕、三姐李小璐、四姐熊乃瑾、五妹甘薇、六妹肖雨雨、七妹杨幂,编外人员应采儿。
值得一提的是,甘薇还帮乐视拉来一帮明星股东。张艺谋、黄晓明、孙俪、刘涛等人纷纷入股。

贾跃亭自拍照 众多明星参与
其中,刘涛曾出资6000万元投入乐视影业与乐视体育,孙俪夫妇出资5000万元成为乐视影业股东。
婚后贾跃亭两次跑路海外
在贾跃亭崛起过程中,汇金立方角色颇为重要。在腾讯科技的一篇报道称,“乐视网早期的一家重要投资方汇金立方背景复杂,其化名王诚的实际控制人为某山西落马高官的亲属。2008年,汇金立方和其他数家投资方一起投资了尚不知名的乐视网。”
2014年7月15日,广电总局约谈互联网电视7大牌照方,针对电视“盒子”提出多项整改意见,其中更要求7家牌照方立即停止擅自与“某视频网站”开展的互联网电视业务。有媒体报道称,广电总局点名的正是乐视,约谈对于乐视电视来说不亚于灭顶之灾——相当于直击乐视作为根基的战略模式“乐视生态”。
众声喧嚣中,贾跃亭滞留了半年多才回来。
回归后的贾跃亭,选择加速扩张、高歌猛进,公开宣称:“2015年我们将颠覆传统汽车。”
之后的故事证明,贾跃亭颠覆的不只是传统汽车。2015年4月,发布乐视超级手机系列。同年,成立乐视金融。2016年,贾跃亭“乐视七大生态”格局初步形成。
2016年下半年,疯狂扩张的乐视危机集中爆发。当年11月2日,有报道称乐视拖欠供应商一百多亿元货款,已被拒绝供货。随后,多个媒体报道了乐视资金链危机和债务问题,把乐视和贾跃亭推到了风口浪尖上。
随后,贾跃亭发表了著名的公开信《乐视的海水与火焰:是被巨浪吞没还是把海洋煮沸》,承认了乐视资金状况出现问题,宣布要停止烧钱扩张。
公开信并未能挽救乐视。此后,易到事件、裁员风波、高管调整、股价大跌、债务危机、员工讨薪、股票冻结、变相自融、造假上市、面临退市等问题接踵而至,贾跃亭的乐视生态梦被粉碎。
关键时刻,贾跃亭得到了老乡孙宏斌的帮助。
2017年1月15日,北京金宝街一间酒店里,贾跃亭和孙宏斌共同出席了主题为“同袍携行,乐创未来”的新闻发布会,宣布融创150亿入股乐视,这笔“150亿买卖”的大单仅仅用了36天。
2017年7月,贾跃亭出走美国,并辞去乐视网CEO 等职务,退出董事会,留给了孙宏斌一个“烂摊子”。
2018年3月14日,孙宏斌辞去乐视网董事长职务,退出董事会,并不再在乐视网担任何职务。
在随后召开的融创业绩发布会上,“退出”乐视的孙宏斌看起来如释重负,承认了乐视投资失败,“损失了165亿,还怎么壮士断臂,而是断头了!总共投资了165亿,都归零了!”
“连小薇都不相信我了”
甘薇曾透露:2017年7月1日,其和往常一样,给老贾准备好了去美国出差两周的行李。
结果,贾跃亭直到今天都没回来。
留在国内的甘薇,压力非常大,并为此埋怨贾跃亭。贾跃亭面对媒体时表示,“连小薇都不相信我了”。
2017年12月,甘薇前往美国,夫妻团聚后,甘薇再度相信贾跃亭。
同年底,北京市证监局勒令贾跃亭限时回国处理债务问题,贾跃亭发了一封言辞恳切的说明信,人却不见踪影。在此时刻,甘薇选择回国处理危机。


2018年1月3日凌晨,甘薇在微博发布长文《一位妻子的独白》。甘薇称:
老贾是一个有梦想的人,原本可以选择一条比较舒适的生活和轨迹创业,但却选择了一条艰难无比的道路创业,为了事业义无反顾。这是老贾的优点,也是他的缺点。今天,老贾阶段性创业失败,很大的问题是他有超越常人的梦想,不断地挑战自我、挑战极限,结果挑战过度。
甘薇的回国,并没能力挽狂澜。2019年10月14日,贾跃亭债务处理小组在微博宣布,贾跃亭在美国主动申请破产。个人破产重组方案完成后,贾跃亭把个人所持有的全部FF股权和相关收益权转让给债权人,个人担保义务和债务得以解除,从而可以回国推动和落实FF中美双主场战略。
在贾跃亭破产前,贾甘二人突然在成都市某法院申请离婚,目前仍在处理中。
相关文件显示,2019年,贾跃亭分别在2月和7月分别向甘薇转账40万和11万美元用于家庭费用。
今年1月18日,贾跃亭方面披露的声明显示,在贾跃亭提出破产重组以后,已申请离婚的甘薇向贾跃亭提出了接近5.71亿美元(约合人民币39.83亿)的索偿。
贾跃亭是否有能力赔偿离婚费用?
根据贾跃亭债务处理小组提交的一份破产文件显示,目前贾跃亭的债权人数量超过100人;在索赔金额排名前20的无担保债权人名单里,排名第一的是Shenzhen Yingda CapitalManagement Co.,Ltd.(深圳英大资本管理有限公司,现“北京英大资本管理有限公司”),索赔理由为个人担保,索赔金额为2.797亿美元。
排名第二的是China CITIC Bank Co.,Ltd.Head Office Sales Department(中信银行),索赔理由为个人担保,索赔金额为2.33亿美元;排名第三的是Ping An Bank Co.,Ltd.BeijingBranch(平安银行),索赔理由为个人担保和股权质押,索赔金额为2.3亿美元。
破产公司文件和申请管理公司Epiq Cases网站披露的一份文件显示,贾跃亭在2019年10月14日提交破产申请文件前6个月,每月的月收入为93810美元。
不过,贾跃亭月生活支出7680美元,每个月还额外支付42000美元作为父母子女的生活费,另有每个月25000美元支出,用于雇用律师、会计、顾问和支付“商务娱乐”。扣除这部分,基本所剩无几。
贾跃亭可能还存在一些隐藏财产。2019年12月18日,贾跃亭申请个人破产重组所在地特拉华州破产法庭正式决议,将贾跃亭个人破产重组案在加州中区法院继续推进。与此同时,美国联邦破产署还指控贾跃亭在破产程序中存在“不诚实行为”,违背对债权人的信托义务,建议破产法院另行指派一个独立的破产财产管理人。
被债权人团体和US Trustee调查出的、贾跃亭没有自行披露的资产包括:
1、 贾跃亭在 RanchoPalosVerdes 实际控制的至少5处房产,价值约3020万美元; 2、 其通过关联人代持的电动车LucidMotors约20%股份,价值约2.26亿美元; 3、其关联人邓超英、王佳伟等人在同一区域持有的房产,价值约917万美元。
雷达财经简单计算发现,即使被指控的全部隐藏资产为真,贾跃亭也不足以支付甘薇的索赔。
文件显示,截至12月17日,贾跃亭身负的债务总计约为37.7亿美元,其中有抵押索赔(债务)约为12亿美元,无抵押索赔(债务)约为25.6亿美元。
企查查资料显示,截至目前,贾跃亭已经16次被列为失信被执行人。


贾跃亭的最新微博更新于今年1月29日。他说:
今年祖国人民深受疫情之苦,悲痛如潮,在人类灾难面前,此时的我却无力做任何贡献,心如刀绞。挺住,武汉!加油,中国!
或许,贾跃亭的加油、挺住也是说给自己听的。


评论