文|恒都法律研究院
第1则 花絮
要说2019年年底最火的电视剧之一,《精英律师》绝对能够占得一席之地,先不说王鸥与靳东从古代的《琅琊榜》到民国的《伪装者》再到现代的《精英律师》,完完整整的走了一遍"三生三世"的"三生恋",单从其剧中的故事情节及所涉及的法律问题,也足够广大网友"格外关注"。
譬如:"一小时收费标准在六千至十万之间,根据案件性质,复杂程度等等,咨询费不低于五万"的资深律师罗槟的口头报价。看到这一幕,惊呆的不仅是普通大众,还有我们这群从事法律职业的法律共同体。

再譬如:何赛说他的博士生导师曾经起草了《知识产权法》以及戴曦所提及的《产品专利法》等等,一度让"知产人"陷入"混乱",作为国产都市律政剧,最起码编剧还是要做到严谨。
第2则 相关信息介绍
《精英律师》是由刘进执导,靳东、蓝盈莹、刘敏涛、朱珠等主演的都市律政剧。该剧围绕权璟律师事务所,讲述了以罗槟、戴曦为首的一群法律从业者,为守护公平正义、为职业理想奋斗的故事。该剧于2019年12月20日在东方卫视、北京卫视首播,并在爱奇艺、腾讯视频同步播出。[i]
俗话说,"人红是非多",《精英律师》也不例外。这不,引来各种争议的同时也带来了各种"是非":
(一)"精英律师"商标
看到如上所示表格,很多人就会问,难道《精英律师》的出品方没有注册"精英律师"商标?非也,非也。
难道"狂欢者电影制作有限公司"与《精英律师》的出品方新丽电视文化投资有限公司、浙江贤君影视文化有限公司有关系?没错,你真相了。

根据上述可知,《精英律师》的出品方之一新丽电视文化投资有限公司与新丽电影(浙江)有限公司均为新丽传媒集团有限公司100%控股的子公司,而狂欢者电影制作有限公司则为新丽电影(浙江)有限公司100%控股的子公司,所以狂欢者电影制作有限公司与新丽电视文化投资有限公司属于关联公司。
(二)"权璟"商标
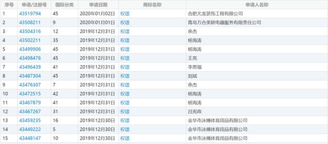
就在《精英律师》于2019年12月20日首播的同时,国家知识产权局就收到了很多"意外但在意料之中"的文件:


根据上述列表,申请"权璟"商标的申请人中并不包含《精英律师》的出品方新丽电视文化投资有限公司和浙江贤君影视文化有限公司,也没有关联公司狂欢者电影制作有限公司。
可能《精英律师》的出品方自己也没有想到,在电视剧上映之前先申请了"精英律师"商标,保护了电视剧名称,但是没有想到的是电视剧上映后"权璟"商标能有如此大的"能量",真真儿让人大吃一惊。
第3则 启示
(一)针对"精英律师"商标
针对截图(三)中所列的10枚"精英律师"商标,经查询,目前都在审查中,其结果如何?我们静待国家知识产权局的审查结果。
但是笔者想说的是,"精英律师"商标本身存在"自身缺陷",其本身显著性较弱,"精英"并非是臆造词,而是一个固有的中文词汇,是指事物之最精粹、最美好者,"律师"也是固有词汇,因此对其保护力度也会受一定的限制。另外"精英律师"商标也存在"外在风险",主要是存在很多在先的权利障碍,如深圳市精英商标事务所名下的 "精英"商标等等。故狂欢者电影制作有限公司名下的"精英律师"商标在如此情形下,其申请结果也不得而知。下面举例说明下为什么会说"精英律师"存在"内忧外患"的问题:如上截图(三)所示:狂欢者电影制作有限公司于2019年8月29日在第45类"实体安全保卫咨询; 社交陪伴; 服装出租; 诉讼服务; 交友服务; 法律服务; 法律研究; 互联网域名租赁; 计划和安排婚礼服务; 知识产权许可"服务上申请了第40689656号"精英律师"商标,因第45类服务涉及法律服务、法律研究等行业,"律师"是从事法律行业的人员,故"律师"用在第45类服务上显著性较弱,故申请商标的核心显著部分为"精英",而"精英"本身并非臆造词,属于常用词语。另外经检索,在第45类服务上申请注册的、在申请商标申请日之前的商标有31个,都可以成为申请商标的引证商标,因此申请商标的难度可想而知。


(二)针对"权璟"商标
针对截图(五)中的"权璟"商标,如果《精英律师》出品方及关联公司都未申请注册商标,其对此也有权利要求的话,从目前情况来看,后期或许只能以在先权利来维权。
与此同时也有一定难度,根据截图(五),第21类第42150467号"权璟"商标、第35类第36875431号"权璟"商标和第36类第35484919号"权璟"商标是早于《精英律师》的首播时间的。
参考链接
[i] https://baike.baidu.com/item/%E7%B2%BE%E8%8B%B1%E5%BE%8B%E5%B8%88/2924794?fr=aladdin


评论