记者 |
编辑 | 牙韩翔
据澎湃新闻报道,2月7日武汉市中心医院眼科医生李文亮去世当天,就有人将他的名字相关进行商标申请。
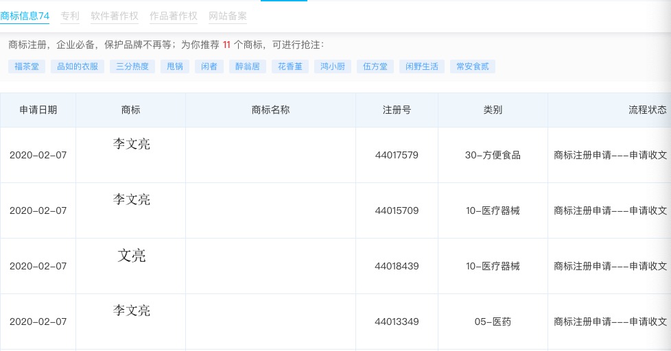
界面新闻记者在国家知识产权局商标局网站检索“李文亮”,没有检索到结果。但检索“文亮”,发现有56件商标,其中有13件的申请日期在2020年2月7日之后,其中第一个在2月7日当天申请的,是长沙市福茶堂电子商务有限公司。
通过天眼查,界面新闻记者发现,这家公司注册时间是2019年5月16日,经营范围是在互联网从事电子器材、电器机械及器材、保健用品、日用品、汽车内饰用品销售;家用电器及电子产品、化妆品及卫生用品、预包装食品、营养和保健食品、非酒精饮料及茶叶、散装食品、进口食品、箱包零售;电子产品组装;厨具、设备、餐具及日用器皿百货零售服务。
天眼查显示,这家公司从2月7日起,先后申请了3个“李文亮”和1个“文亮”商标,类别涉及医药、医疗器械和方便食品,状态均为“等待实质审查”。
界面新闻记者进而在国家知识产权局商标局网站检索“吹哨人”,结果有38件商标,而其中有30件都是在2月7日后申请的,目前状态均为等待受理中。

平江慕华电子商务公司负责人袁潇湘告诉界面新闻,他自2月8日起申请注册了包括“文亮”、“吹哨人”在内的6个商标,类别涉及医药、医疗器械和广告销售,主要打算用于代工口罩和消毒液,或者申请成功之后再转手。他表示按照一般流程,从申请到最后审批通过可能要花9到12个月,而自己申请这些商标是为了“万能标”备用,就一起申请了好几个。
不过,这些商标注册申请,很可能要落空。
就在2月3日国家知识产权局商标局恢复开放商标网上服务系统后,一大批与此次疫情相关的商标就被抢注。
“火神山”被申请注册了43件商标,涉及化学工业品、药物、游戏器具和玩具、广告、印刷品等多个品类;“雷神山”商标的也有18件,涉及服装、医疗器械、法律服务、科学技术服务等多个类别。
类似的操作在17年前的“非典”时期就已经出现,但很难被注册成功。例如2004年1月15日,申请人杨某在第3类化妆品类别申请了第一件“钟南山”商标,后被商标局驳回;后来某医药保健有限公司在2004年12月24日申请的第5类“钟南山”商标,使用在疫苗、药物胶囊、抗菌素等医疗领域也被驳回;甚至到了2018年12月,还有人申请“钟南山”商标用于第35类广告销售,仍然被驳回了。
2020年2月7日,审查部门下发了《疫情防控相关商标审查指导意见》,明确与疫情相关人员姓名,含疫情病毒名、疾病名的相关标志,疫情相关药品标志,防护产品相关标志,其他疫情相关标志等的审查指导意见,依法从严从快打击与疫情相关的非正常商标注册申请行为。
2月13日,国家知识产权局商标局网站发布消息称,为依法打击可能发生的以病毒名、疾病名等与此次疫情防控相关名词、标志申请注册商标行为,审查部门加紧研究制定疫情防控期间的商标审查标准,严厉打击通过商标注册造谣、炒作等恶意注册行为。
截至2月26日,商标局已对“火神山”“雷神山”等近600件与此次新冠肺炎疫情相关的商标注册申请实施管控。
2月27日19点43分,中共长沙市天心区委网信办微博@天心发布称,长沙市知识产权局、天心区市场监督管理局(知识产权局)要求长沙市福茶堂电子商务有限公司法定代表人姜某某撤回商标注册申请,并向社会公开致歉。姜某某表示,深刻认识到问题的严重性,已主动撤回相关商标申请,并出具致歉书。
2月27日21点51分,我们报道前文提到的平江慕华电子商务公司也通过微博发声致歉。



评论