文|车东西 Juice 晓寒
现阶段的汽车产业,正面临着一个又一个的难关。
2019年,国内汽车销量下滑明显,根据中汽协发布的数据显示,2019年国内汽车产销分别完成2572.1万辆和2576.9万辆,同比分别下降7.5%和8.2%。而2018年,国内汽车产销分别完成2780.9万辆和2808.1万辆,但产销量比上年同期分别下降4.2%和2.8%。
连续两年的销量下滑,让国内车市一片寒冷,不少车企都认为熬过了最困难的2019年,2020年就会变得更好。
但是,年初的一场新冠肺炎疫情打破了所有的美好愿望。
春节后出现的疫情,让全国进入半封闭状态,湖北乃至全国的汽车产业公司,都处于停工状态,4S店也是门庭冷清——车市跌至谷底。车企不得不承受着高昂的厂房运维与人员成本开支,例如北京奔驰就自曝工厂停工一天亏损4亿。

在国内疫情得到有效控制后,目前各地陆续复工,但仍面临着零部件、原材料供给不足的情况,同时车市的消费需求仍未完全恢复,车企的亏损仍在继续。按照中汽协、乘联会的预计,今年汽车销量或下滑达到百万台,比去年更加寒冷。
这种情况下,一些车企也抛出了最硬核的措施——降薪来应对危机。那么目前国内都有哪些车企在通过降薪来改善现金流?他们具体又是如何调整薪酬的呢?车东西通过多方调查、采访,找出了答案。
销量寒冬撞上疫情黑天鹅,14家车企降薪自救
连续两月销量持续走低,中国汽车行业已经降至冰点了。
2020年1月,中国汽车产业生产汽车178.3万辆,同比下降24.6%;销售汽车194.1万辆,同比下降18%。2月,国内汽车产销分别完成28.5万辆与31万辆,环比均下降83.9%,同比分别下降79.8%和79.1%。
但销量下降并不仅仅体现在这两个月,根据中汽协的数据显示,2018年,国内汽车产销分别完成2780.9万辆和2808.1万辆,但产销量比上年同期分别下降4.2%和2.8%,而2019年,销量持续下滑,根据中汽协发布的数据显示,2019年国内汽车产销分别完成2572.1万辆和2576.9万辆,同比分别下降7.5%和8.2%。
整个汽车市场都在持续走低,车企的处境就更为艰难了。长安汽车2019年全年销售汽车175.9971万辆,同比减少15.16%;北汽集团全年售出了226万辆,同比下降了5.91%;广汽集团共售出206.22万辆汽车,同比下降4%。
而民营车企受到的冲击更大,比亚迪全年汽车总销量为46.14万辆,同比降低11.39%;吉利汽车2019年累计售出136万辆,同比下滑9.3%,。
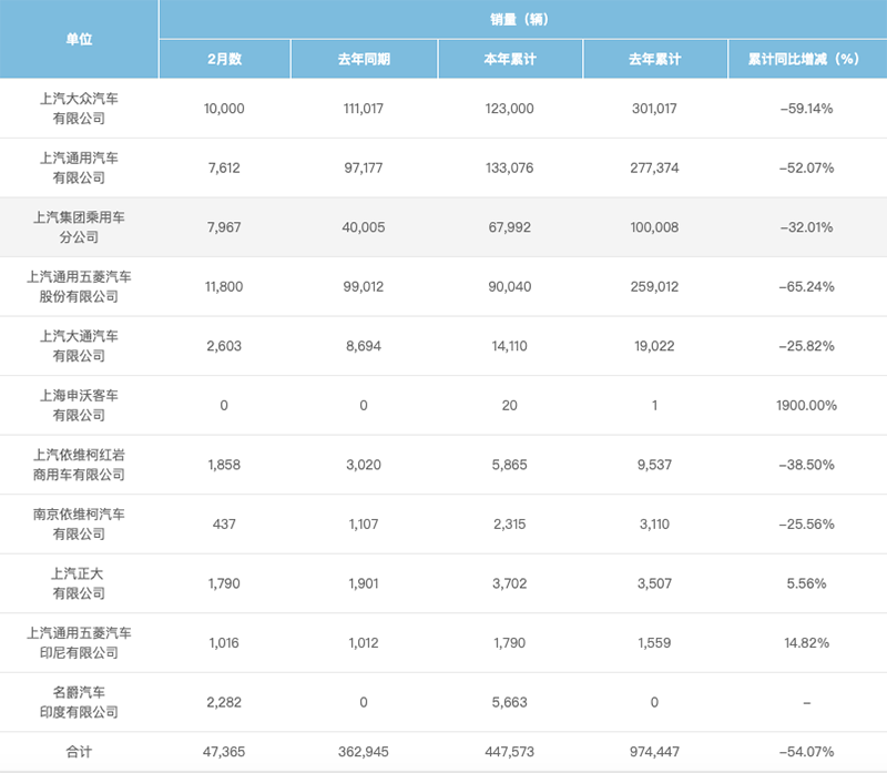
进入2020年之后,这种情况变得更加严重。根据上汽集团公布的产销快报,上汽集团2020年2月汽车销量合计47365辆,本年销量累计447573辆,同比下滑54.07%,此外,比亚迪2020年2月销量合计5501辆,1月~2月销量累计30674辆,同比下滑56.65%。

▲上汽集团2月销量快报
在这种情况之下,车企都开始坐不住了,纷纷选择降薪来降低成本。
从降薪的情况上来看,此次降薪潮的影响范围非常广泛,从央企到地方国企再到私企和新造车公司都开始了降薪自救。
长安汽车这种央企已经开始在薪资方面进行调整了,有知情人士透露,长安在疫情后对薪酬进行了一些调整,加强了员工薪酬与销量等绩效的绑定,在绩效无法实现的情况下,会影响薪酬。
一位长安研究院的员工向车东西透露,疫情对薪酬多少会有一些影响,但是并没有透露影响的程度与方式。
而北上广这些地区的国企也在进行薪资调整,在所有企业中,在薪资调整方面做的最坚决的就是上汽集团了,旗下多个子公司如上汽大通、上汽汇亚、上汽通用泛亚、上汽乘用车集团,甚至上汽大众、上汽通用都做出了降薪的决定。
北汽集团也被传出了要进行薪资调整的消息,据一份文件显示,北汽集团销售部门的员工都将根据任务完成量来兑现工资,未完成3月份整体批发任务的员工,将扣除月度整体工资的20%至70%不等。

▲国内车企降薪情况一览表
民营企业也未能幸免,也已经在薪资方面进行调整了,比亚迪被员工传出取消了2月份的绩效和加班费,江铃控股宣布执行副总裁以上收入下调比例40%,副总裁及其以下职位收入下调30%;而对于停产停工期间提供正常劳动的人员,江铃控股会另发放相应收入补贴,总裁助理、中层正职、中层副职、普通员工等职位的另发放收入比例在10%~20%之间。
此外,本就处在风雨飘摇中的新造车公司的处境也非常不好,3月5日,威马汽车宣布将取消员工的年终奖,13薪将延后发放。爱驰汽车则在发工资的时候,没有经过通知就减少了员工的工资,同时年终奖也还未发放。
博郡和前途汽车的情况也比较严重,博郡汽车被员工爆出需要员工自己缴纳社保,而前途汽车则被员工传出已经拖欠了多个月的工资,最近一次发的也只有半个月的工资。
目前来看,此次疫情对于国内车企的影响还是非常大的,从产业链的各个角度都影响到了车企,在产品无法及时售出的情况下,车企只得降薪自救,连央企和地方大型国企都顶不住了。
上汽北汽率先降薪,自主车企集体自救
国内车市销量情况不好,率先受到冲击的就是自主车企,因而自主车企也是最早作出降薪决定的公司。
今年3月5日,网上流传一份上汽大通的降薪通知,文件显示从3月份起,将对绩效工资分按级别进行下调,最高下调幅度达到83%。此外,还将取消年休假补贴、技术中心服装费以及书报券等福利。
上汽集团内部人士向车东西透露,网传的降薪文件和内容基本上都是实情,整个上汽集团都在进行不同程度的降薪。

▲网传上汽大通降薪方案(图源网络)
这也是首个作出了降薪通知的自主车企,但很快就有消息传出说上汽乘用车集团紧急开会,口头通知了乘用车公司薪资调整安排,大致包括:1、高级经理以下减发75%的绩效工资,高级经理及以上全部减发;2、减发时效为三月到六月,后续视公司经营情况再定;3、绩效奖金与公司经营状况强相关;4、居家办公,隔离观察的按天扣发用车补贴。
据了解,上汽乘用车集团的绩效工资减发75%相当于整体工资减少15%。
上汽的另一家子公司上海汇众也被传出了降薪,网曝从3月份起将员工税前月收入下调22.2%,恢复期限将根据公司后续情况而定。

▲网传上海汇众降薪协议(图源网络)
但作出降薪决定的并非只有上汽集团这一家,据公开报道称,3月10日,北汽集团在内部实行了新的销量考核方案,按照方案,零售中心分管副总、销售部分管副总、区域经理、事业部后台的其他相关人员及销售部全员,都将根据任务完成量来兑现工资。未完成3月份整体批发任务的员工,将扣除20%至70%不等的月度整体工资。
目前国内车市受疫情的影响还未消失,3月份的销量情况预估也不会太乐观,有员工抱怨这是在进行变相降薪。
另一家地方车企虽然暂时没有降薪,但据广汽员工表示其相当一部分收入来自年底的年终奖(6个~10个月工资),因此如果年底公司整体情况不好,恐怕也会影响绩效收入。
此外,还有网友爆料称比亚迪取消了2月份的绩效和加班费,据悉,比亚迪的绩效工资占到了基本工资的33%。

▲比亚迪员工透露比亚迪取消了2月绩效奖金和加班费
3月10日,江铃控股也传出了停产和降薪的消息,受限于湖北疫区的零部件供应商没有复工,特别是在武汉城市圈周边的一级和二级零部件供应商复工时间还未确定,江铃控股方面决定暂时停工。
江铃控股还进行了降薪通知,执行副总裁以上收入下调比例40%,副总裁及其以下职位收入下调30%;而对于停产停工期间提供正常劳动的人员,江铃控股会另发放相应收入补贴,总裁助理、中层正职、中层副职、普通员工等职位的另发放收入比例在10%~20%之间。

▲网传江铃控股降薪方案(图源网络)
有知情人士透露,长安在疫情后也对薪酬进行了一些调整。不过并非是上汽那样直接下降,而是增加了部分薪酬与销量等绩效的绑定,在绩效无法实现的情况下,会影响薪酬。
一位长安研究院的员工向车东西透露,疫情对薪酬多少会有一些影响,但是并没有透露影响的程度与方式。
长安降薪可能与其销量的持续下滑有关,长安汽车2019年全年销售汽车为175.9万余辆,同比减少15.16%,进入今年以后,长安汽车2月累计销量为28763辆,较2019年2月的109464辆下滑73.72%;2020年1-2月累计销量163341辆,同比2019年前两个月下滑34.79%。
从自主车企作出的反应来看,这些车企在降薪方面采取的措施多为取消绩效奖金,不过绩效奖金也是此前员工的基本工资之一,此外还有部分车企则直接采用了降低底薪的方式来进行降薪。
合资车企也未能幸免,上汽大众将降薪40%
作出降薪选择的不只是自主车企,部分在中国车市比较强势的合资车企在疫情面前也顶不住了。
据上汽集团的一位员工透露,上汽通用泛亚将暂停所有的晋升和招聘,取消加班费;调低三月绩效工资;员工有一定的被动离职率等。
这个家公司成立于1997年6月12日,由通用汽车公司和上海汽车集团股份有限公司各出资50%组建,是中国首家合资设立的专业汽车设计开发公司。

▲网传上汽通用泛亚降薪方案(图源网络)
除了上汽通用泛亚之外,上汽的另一家合资公司也被传出了降薪的消息。上汽大众将取消双薪,底薪方面管理层降25%,员工降15%,总体降约40%。
有媒体报道称,上汽大众内部员工表示,虽然没有收到正式的文件,有部分同事接到了口头通知。
上汽大众也对此做了回应,上汽大众表示:“员工收入与企业绩效相关部分有浮动是正常情况,此次调整增加了企业绩效和个人收入的正相关联,员工收入中与企业绩效相关部分,随着绩效变化同向联动。”
这也基本坐实了上汽大众将要降薪的消息。
通过分析上汽大众的销量情况,就能看出来上汽大众为何会选择降薪了。根据上汽集团发布的产销快报数据显示,上汽大众2月份销量仅1万辆,同比下降了91%,1月~2月累计销量12.3万辆,同比下跌了59%。

▲上汽大众二月销量快报
不但如此,去年上汽大众也经历了一波九连跌,直到最后两个月销量才略有回升,全年共售出了202.3万辆,同比下滑了3.1%。
此外,上汽大众还陷入了质量危机之中,2019年12月24日,上汽大众帕萨特在中保研的碰撞测试中出现了严重的状况。在进行25%正面偏置碰撞时,出现了A柱严重弯折、防火墙发生明显位移,严重入侵车内空间的情况。
这也是这款车在今年一月销量环比下滑了47.8%的原因之一,去年12月这款车还曾售出了26014辆。
连续的销量下滑,也让上汽大众不得不选择降薪来降低成本,但这也只能暂时缓解上汽大众的的问题,要想是想销量的回升,上汽大众还要从自身找到稳定,并逐步解决。
据上汽集团内部人士透露,上汽通用也在进行降薪,其降薪方案和上汽大众基本一致。
由此来看,此次受到疫情冲击最大的车企就是上汽了,目前上汽集团已经做出了全部降薪的决定,这对于车企和员工来说都是一个不太好的举措,只能希望疫情快速过去,车企能够恢复到先前样子。
新造车公司最受伤,头部玩家被迫裁员降薪
传统车企尚且陷入了资金难题,而新造车公司的处境就更加艰难了。
3月5日,威马方面做出了薪资调整,据称将取消全体员工的年终奖,此外,劳动合同中明确规定的13薪也被延后到今年6月发放。
对于取消年终奖,威马方面表示是因为,公司去年的年度KPI不达标,威马公司去年制定的销量目标是10万台车,但最终只售出了1.6万台。

▲威马EX5
但去年所有的新造车公司的销量都不算好,销量最好的蔚来也仅售出了2万辆,威马已经是所有新造车公司中销量表现第二好的车企了。
对蔚来来说,一直都很难,疫情让他们不得不进一步降本增效,在此前发布2019年第四季度财报时,李斌曾表示,蔚来现在的员工人数在7000人以下,今年将会节减成本支出,以便完成毛利率转正的目标。
2019年底,蔚来当时透露的员工数还在7500人左右,现在看来疫情后又才撤掉了数百人,进一步控制成本。
一位小鹏汽车的员工向车东西透露,小鹏汽车在疫情发生后,并没有做别的降本增效动作。
他表示并非是公司不受影响,而是因为该公司自2019年起就在进行成本控制,提升资金效率,当时已经优化淘汰了一些绩效较差的人员,同时像是节日礼品等福利也已经取消。
“疫情后我们这边的变化就是从200多人中优化掉了2个员工。”该名小鹏员工这样向车东西说道,“并且都是因为绩效太差才走的。”
从新造车三强玩家的动作来看,降本增效措施在2019年就已经开始,疫情不过是进一步增强了其动作与措施,以保证度过寒冬与疫情影响。
新造车的头部企业尚且如此艰难,另外一些新造车公司的处境就更艰难了。
爱驰汽车被员工爆出没有发放去年的年终奖,同时2月10日发工资的时候也并没有全额发放。

▲爱驰员工透露爱驰未发年终奖且克扣工资
而博郡汽车最近也被爆出负面消息,这家公司刚刚接手了一汽夏利,但据内部人士向媒体透露,博郡并未如期向一汽夏利支付款项,同时旗下员工的工资还在被拖欠。
网络上有一份名为《天津博郡汽车有限公司关于工资延迟发放》的通知文件显示:“因公司股东南京博郡新能源汽车有限公司意向的政府投资未能如期纳入,致使本公司运营资金延迟到位,公司全体员工本月工资延期发放。”
还有博郡的员工表示,博郡汽车要求员工自缴社保,除了个人缴纳部分需要自掏腰包,公司缴纳部分也要员工自己承担。
结合各种情况来看,博郡汽车目前的资金链可能发生了断裂,而目前国内汽车市场的势头又不算太好,博郡还能否继续存活下去还是个疑问。
另外,前途汽车则被员工传出已经拖欠了多个月的工资,最近一次发的也只有半个月的工资。
前途汽车还在进行人员优化,员工可以选择主动离职,前途汽车将会在5月底前结算工资,但没有赔偿金,也可以根据协议离职,与公司签署赔偿协议,公司将会在8月底之前结算工资并提供赔偿金,而选择留在公司的员工,公司将会尽快解决工资问题。
相对于传统车企,新造车公司目前所承受的压力应该更大,多个新造车公司的汽车销量并不多,还没有自我造血能力,而现在的环境又比较艰难,投资机构投资都比较谨慎,就算投资也会优先考虑作出成绩的新造车公司。如果疫情的影响还不能快速消失,很多新造车公司可能将会活不过这个春天。
降低绩效奖、取消年终奖,车企多种方式降薪
从目前这些传出了降薪的公司来看,这些公司采取的降薪措施也不尽相同。
上汽乘用车集团、上汽大通、比亚迪、上汽通用泛亚等多个公司选择了取消或减少绩效奖金,这些公司基本上保留了员工的基本工资,但在绩效奖金方面做了折扣,是变相的降薪。
而上海汇众、北汽集团、江铃控股、上汽大众、爱驰等公司则直接在员工的基本工资方面做了调整,这些公司的降薪决心比较强。
威马、爱驰等公司还直接取消了员工去年的年终奖,博郡公司则要求员工自缴社保,这也对员工的实际工资造成了影响。
从公司角度来看,此次降薪潮中采取降薪措施最多的为自主车企,这些车企通过取消绩效奖金、下调基本工资、制定销售目标等方式来进行降薪。
不少合资车企的销量好,收入高,目前大多都没有采取降薪的方式来自救,只有上汽集团的合资公司上汽通用、上汽大众和上汽通用泛亚采取了降薪措施。
新造车公司可能是目前所有车企中最缺钱的公司了,现阶段,这些公司中也只有蔚来累计获得了4.35亿美元(约合人民币31亿元)的融资,而小鹏则在去年年末拿到了一笔4亿美元(约合人民币28亿元)的融资,别的公司都还没有融资消息传出。

▲蔚来EC6
对于车企来说选择降薪可以节省支出成本,能够让企业在目前的困境中更好的生存下去,但这并不能成为车企主要规避风险的模式,粗暴的降低员工的工资将会使集团内部产生矛盾,目前一些员工已经在各个网络平台发声了,这也会对品牌造成伤害。
虽然目前处境很困难,车企还应当尽量保证员工的基本权益,通过直播卖车、线上卖车等方式拓宽销售渠道,在车辆销售方面作出一定的让利,促进销量。
结语:降薪为眼前困境,国内车市将逐步转正
车企陷入困境之后,通常会率先在员工方面做文章,或降薪或裁员,这种方式对于车企现下的困境很有作用,全球多个车企在遇到困境后都会采用这种方式。
但是这终究只是一个解决眼前困境的办法,短期内能有作用,如果汽车市场持续走低,各车企也不能一直降低员工薪水,这将会严重伤害企业内部的凝聚力。
不过目前国内的疫情情况已经有所好转,国内的车企已经开始逐步复工,汽车交易市场也将会慢慢重新升温。疫情对国内汽车行业的影响将会逐步减少,降薪消减成本的事情应该也会逐步减少。



评论