文|星数BRIGHTDATA
4月13日,杨幂魏大勋恋情登上微博热搜第一。据媒体报道,4月7日,魏大勋在上海拍完戏后,与杨幂一同乘车回酒店,期间男方助理给两人购买冰激凌,两人在酒店门口甜蜜吃完冰激凌后一起上楼。
实际上,这是两人第三次被拍到“约会”同框。2019年9月,两人被拍到穿同款鞋子看展;同年12月两人又被拍到疑似酒店密会。
短短一天,杨幂魏大勋恋情的微博话题阅读已达49.8亿,讨论达75.3万,阅读和讨论热度仍呈持续上升趋势。
杨幂:“话题女王”的强大带货力
身为“话题女王”的杨幂,连恋情被拍也能无意“带货”。此次两人恋情被曝,粉丝们的关注点从之前的“两人究竟有没有在一起”转移到了“他们吃的冰淇淋是哪家的”,甚至有粉丝扒出两人同款冰淇淋是肯德基新品,在微博进行抽奖活动。由星数微博发起的相关投票显示,48%的吃瓜群众对杨幂和魏大勋同款冰淇淋表示“想吃”。
杨幂的带货能力,一直以来都非常突出。在星数发布的明星2019年度消费影响力榜单中,其消费辐射力与带货直达力指数分别高达99和100,位居总榜第二,女明星消费影响力第一。其中,女装和美妆成为杨幂最带货的品类。

图片来源:CBNData星数
作为人气与商业价值兼备的85花,不少人对杨幂和魏大勋的绯闻事件表示并不看好。毕竟不论从作品还是代言来说,魏大勋看上去好像都“配不上”杨幂。到底两人的差距有多大,CBNData星数从作品、代言、商业版图等多个方面好好盘了盘。
作品方面,猫眼专业版显示,杨幂出演电影60部,票房61.92亿,实力超越93%的80后艺人。魏大勋则是名副其实的“综艺咖”,参与综艺数量超越99%的中国艺人,但主演作品票房只有7.6亿。

图片来源:猫眼专业版
代言方面,据星数统计,近两年杨幂和魏大勋的新增代言数量分别为8个和4个。杨幂手握雅诗兰黛、CROCS、MO&Co.等多个品牌全球代言的身份,魏大勋不止品牌代言少,实际带货名次也相对靠后,位居星数明星消费影响力总榜第99名,各个品类的带货力均低于杨幂。从带货力来看,魏大勋和“带货女王”杨幂实力也非常悬殊。


虽然这对绯闻CP在网友眼中是明显的“女强男弱”,但魏大勋实际也握有自己的“杀手锏”,其背后的资本实力和家世背景不容小觑。
魏大勋:8家公司控股股东,注册资本2000多万元
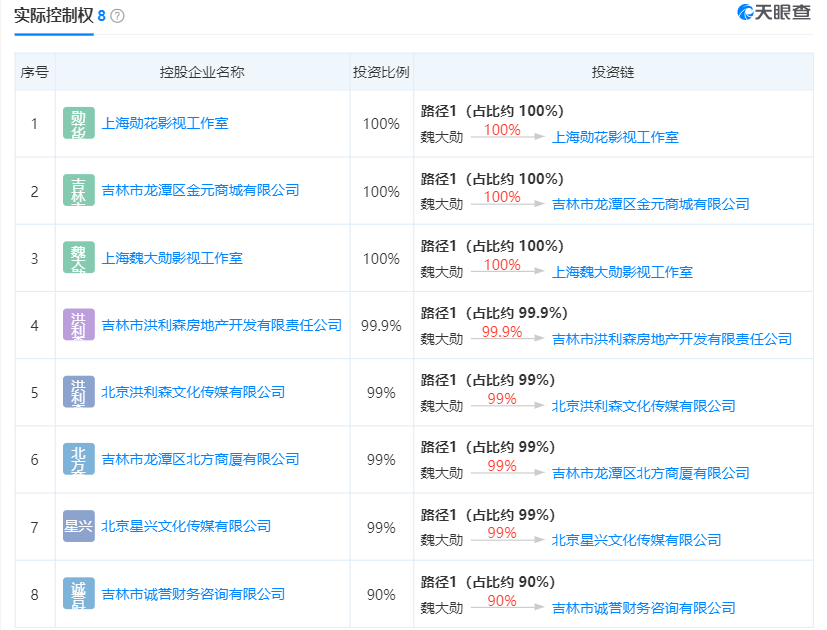
天眼查显示,魏大勋名下有8家公司,其中4家为影视工作室和文化传媒公司,其余还有从事摊位租赁等业务的吉林市龙潭区北方商厦有限公司和从事房地产开发经营的吉林市洪利森房地产开发有限责任公司等。星数统计, 8家公司总注册资本达2,170万元,而魏大勋对这8家公司均有90%以上的实际控制权,是名副其实的“霸道总裁”。

图片来源:天眼查
魏大勋的父亲魏绍林也是吉林省一位知名企业家。天眼查显示,魏绍林名下有18家公司,总注册资本达1亿多元。魏绍林对11家公司具有实际控制权,其中仅成立于2012年的吉林市融通财务咨询有限公司的注册资本就高达5,000万元,魏绍林持股20%并任公司执行董事和法人。
与魏大勋及其父亲的资本力量相比,杨幂虽然还有距离,但也是商业女强人一枚。天眼查显示,杨幂名下共7家公司,多以工作室为主,杨幂仅对其中3家公司具有实际控制权。其中由杨幂担任监事和股东的北京世嘉华林文化传播有限责任公司成立于2014年,注册资本300万元,杨幂持有25%股份,为公司四大股东之一。

图片来源:天眼查
截至目前,双方对两人多次的恋情传闻仍未表示任何回应。从双方角度讲,作为杨幂粉丝的魏大勋“追星成功”,而具有强大娱乐圈影响力和带货能力的杨幂若能有更多资本加持,想必在将来事业和商业发展上更进一步。


评论