文 | 象三一 李清远
2020年一季度教育行业共发生了56起融资事件。相比于2019年同期的91起,融资情况并不理想。虽然数量下降幅度较大,但是在金额上高于去年同期。在疫情影响、开学延迟等多重因素的制约下,教育行业的投融资现状具体如何?
在2020年Q1的细分领域中,素质教育融资金额和数量领跑全赛道,以15起的数额位居细分领域榜首;职业教育以10起的数额排在第二位,K12教育以7起的数额排在第三位。
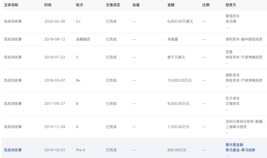
2020年1、2月融资总额约34 亿。其中最大两笔融资为万学教育和云学堂均获得1亿美元D轮融资。其次是大米网校获腾讯、红杉资本中国基金、黑马纵横参与的8000万美元A轮融资。再次,凯叔讲故事获得6600万美元C+轮融资。
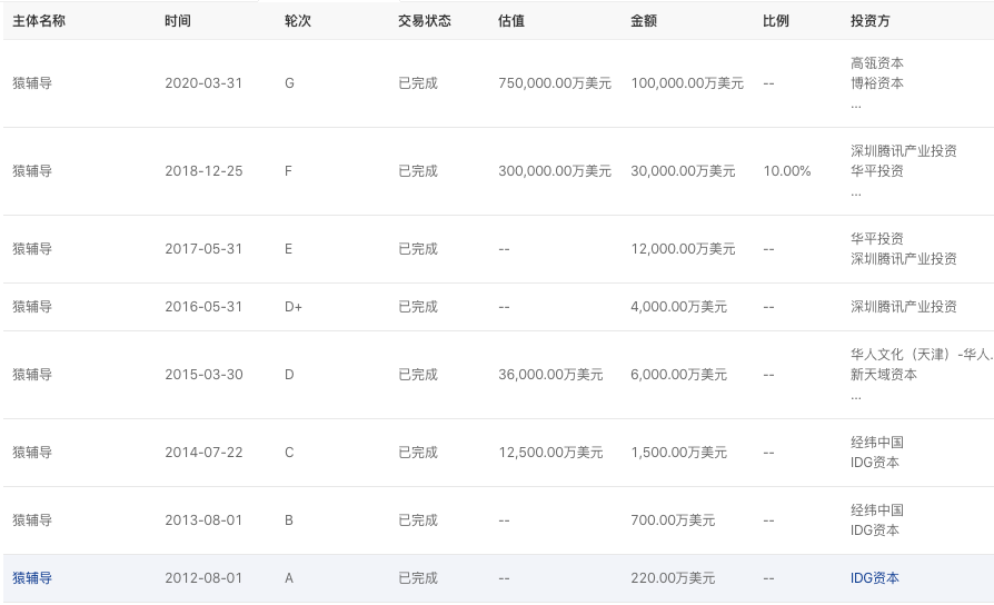
2020年3月教育行业共计发生了20起融资事件,相较于2019年同期减少了14起。融资体量集中在千万级别,共计6起,占比30%。最大的融资事件是10亿美元的猿辅导G轮融资,占2020年3月融资总额的83.7%。
在寒冬中拿到投资的项目更值得关注,投中教育精选了融资金额Top5的教育公司做解读。

万学教育
2020年1月15日消息,北京万学教育科技有限公司已于2019年10月完成1亿美金D轮融资,领投方为安达富基金。
万学教育于2007年启动运营,主要针对大学生,以考研培训起家,为大学生群体提供职业发展与学历提升的培训服务,包括研究生入学考试、大学生英语四六级考试、计算机等级考试、公考教考和职业发展等培训项目,旗下包含海文考研等品牌。

据CVsource数据显示,2014年7月,百度曾投资万学教育,该轮融资为数千万美金级别的 C 轮融资。
考研一直是个在默默增长的细分赛道。根据教育部公布的数据,2019年研究生考试报名人数为290万人,增幅达21.85%。继2019年硕士研究生报名人数高涨之后,2020年硕士研究生报名人数再次打破纪录,达到341万人,较2019年增长17.59%。
考研报名人数增长的背后,带来的是百亿市场规模,更多的职业教育机构进入考研领域。
云学堂
2020年1~2月中,企业服务赛道融资额为6.06亿元,占总金额的17.8%,主要来源于云学堂获1亿美元的D轮融资。
此番融资由大钲资本领投,老股东云锋基金、SIG跟投。

据CVsource数据显示,云学堂已经完成六轮融资,总金额达2亿美金。云学堂创始人卢睿泽表示,本轮资金将主要用于内容生态建设以及专业服务能力的提升。
云学堂成立于2011年,定位为企业大学建设和运营服务商,为企业客户提供“软件+内容+服务”的一体化解决方案。云学堂开创了“软件+内容+服务”的模式,以软件平台“绚星”为入口,提供课程内容,为企业提供包括体系建设、方案设计、项目落地、学习运营、数据分析、技术运维、服务外包等多方面的服务,助力企业大学进行数字化建设。
在盈利模式方面,“绚星”软件采用向大企业收费,中小企业免费的模式。在课程内容和服务支持方面,则采取收费模式。
大米网校
其中K12赛道在1~2月份虽然只有6起融资事件,但其融资金额占据了榜首,在总金额约34亿的数据中贡献了11.26亿元的金额,占总金额的33.1%。该赛道中最大一笔交易来自大米网校获得的8000万美元A轮融资。
“大米网校”是VIPKID推出的K12直播网校平台,由SayABC英语小班和蜂校大班课业务整合升级而来。此番融资投资方为腾讯、红杉资本、黑马纵横。
米雯娟在发布会上表示,VIPKID推出大米网校是基于现有70多万学员的内生需求。一方面,随着年龄的增长,有不少在读学员已经升至小学三年级以上,他们对在线学习有了更多需求;另一方面,随着在线教育不断普及,VIPKID一直在进行多班型、多学科的探索。
大米网校采用“中教大班+外教小班”的教学模式。利用VIPKID北美外教的优势,每周为孩子提供1对6的小班授课,强化孩子听说训练。
最新披露数据显示,VIPKID目前学员人数已经超过70万。大米网校学员8成来自VIPKID现有学员。在过去半年,VIPKID通过向付费学员赠送大班课产品的方式,为大米网校获取了大量用户。数据显示,这些用户满意度也从半年前的不足60%提升至约80%。
凯叔讲故事
2020年1~2月中,早幼教赛道融资额为3.96亿元,占总金额的11.6%,为凯叔讲故事获得的6600万美元C+轮融资,此番融资由挚信资本领投,淡马锡、正心谷跟投。
据CVsource数据显示,继C轮由百度领投,新东方、好未来等大品牌跟投之后,凯叔讲故事实现了一年内累计融资超1.2亿美元。

凯叔讲故事创立六年来,内容创作模式发生了巨大变化。公司的第一个付费产品《凯叔·西游记》依靠凯叔一个人创作完成,耗费3年时间,撰写70万字,最后形成音频、图书和故事机产品,并奠定了“凯叔讲故事”早期的创作标准和风格。
现在凯叔已经有《凯叔西游记》、《凯叔声律启蒙》、《凯叔诗词来了》、《凯叔三国演义》、《凯叔口袋神探》、《凯叔神奇图书馆》、《凯叔小知识》、《凯叔讲历史》、《凯叔365夜》等至少九个系列内容,从故事延伸到早期知识教育内容。
据“edu投资”消息称,凯叔每个产品的投入成本基本是在五百万到一千五百万之间,研发周期半年到3年。高投入带来用户的高度认可,以《凯叔·口袋神探》为例,孩子在24小时之内会听1.8遍到2遍,复听率高达90%。
猿辅导
这轮融资由高瓴资本领投,腾讯、博裕资本和IDG资本跟投,猿辅导投后估值为 78 亿美元。这一轮融资将是教育行业迄今为止最大的一笔融资额,猿辅导也将成为教育行业未上市公司中估值最高的教育品牌。
据CVsource投中数据显示,2018年,猿辅导以30亿美元估值完成F轮融资,4家投资方共计以3亿美元的代价取得10%的股份。从30亿到78亿美元,猿辅导的最新估值涨幅达到160%,股权交易溢价更是飞速增长,但四家投资方取得的股权仅为12.82%。

F轮是猿辅导发展史上的里程碑,在这一轮融资期间,猿辅导找到了更具盈利点的少儿素质教育市场,从而为业务连续性和市场拓展带来更多互补空间。
虽然F轮融资过后,猿辅导就已坐稳国内在线教育第一梯队。但在本轮10亿美元融资加持后,猿辅导才快速晋升为国内估值最高的在线教育独角兽。
CEO李勇在内部信中透露猿辅导网校业务的正价学员超过了100 万,斑马AI课正价课用户超过50 万。此外,其学习工具产品小猿搜题、小猿口算、猿题库,累计用户已超过4亿。
从猿题库到猿辅导、小猿搜题,再到斑马英语、斑马思维和斑马语文,猿辅导已经参与了几乎所有主流的教育赛道。
“超级融资”的出现无疑是外界对行业赛道的认同与肯定,10亿美金的融资金额给整体教育行业打了一剂强心针。



评论