记者 |
编辑 | 周卓然
据中国商标局5月6日公告,美国潮牌Supreme成功在华注册商标“SUPREME NEW YORK”。意味着,这个全球最知名的潮牌可以开始从高仿品牌手中夺回中国市场的名誉和合法权益。
界面时尚在中国商标局近期的公告中发现,其实Supreme从去年11月起便陆续在中国获批一系列商标,如“SUPREME”。这些商标的申请人“章节四公司(Chapter 4)”便是Supreme的品牌知识产权所有人。



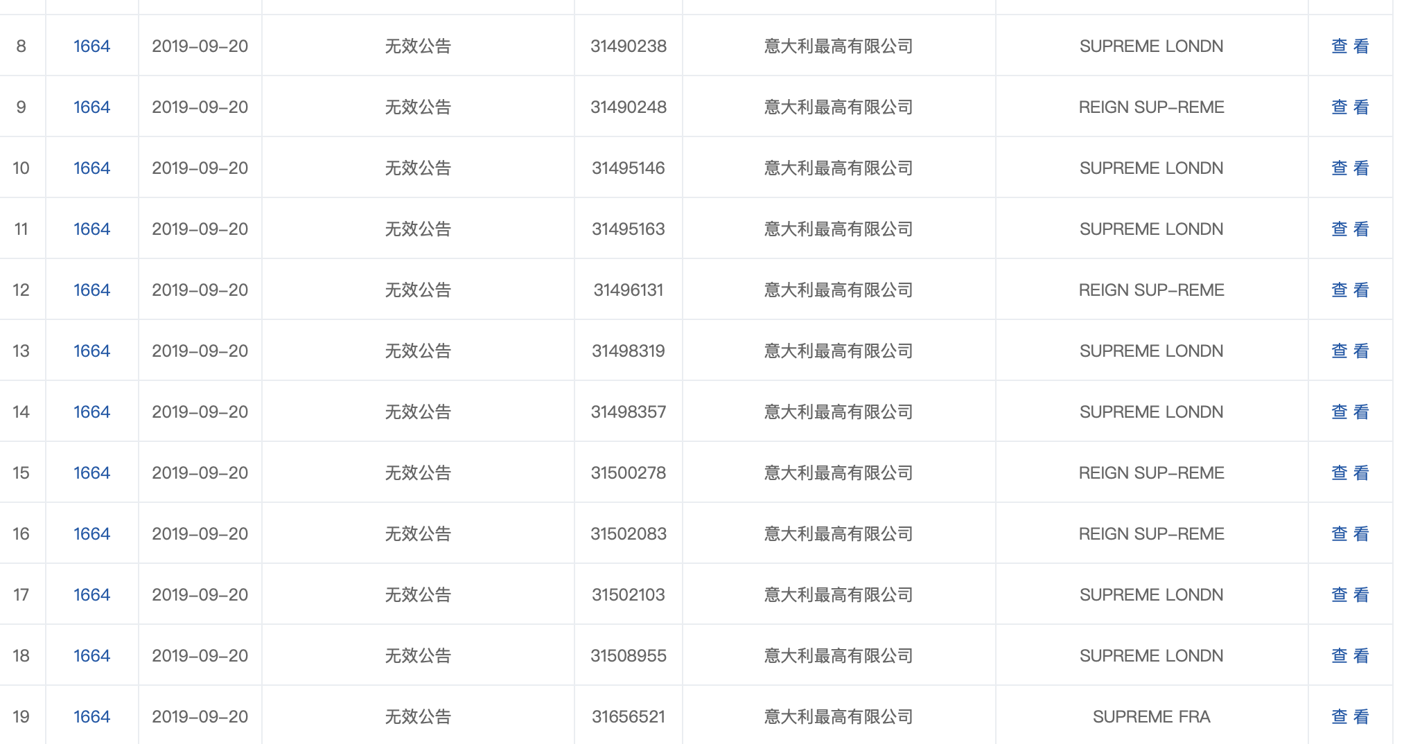
就在Supreme成功注册商标的同时,界面时尚发现,其在华最高调的高仿品牌母公司“意大利最高有限公司(Supreme Italia)”正在不断失去此前注册的“SUPREME LODN”、“SUPREME FRA”、“SUP GO!”等商标。从去年9月开始,中国商标局以“因异议无效”为由,将这些商标陆续判定为无效。
这些商标看上去和正牌Supreme虽有不同,但开出来的门店、售卖的产品却未与正牌作出明显区分。意大利最高有限公司去年在上海开了数个门店,并大加宣扬,部分消费者以为在全球开店极少的Supreme终于进入中国市场。

意大利最高有限公司背后的操手是一个名为International Brand Firm(下称IBF)的公司,它早在十年前便注册了Supreme Italia等相关商标,在西班牙及其他国家开店。

由于此前Supreme和IBF进行过抗争,这家公司的官网被勒令关闭,目前线上据点主要是Supreme Spain西班牙地区的官网和社媒账号。
IBF系Supreme进军中国的过程非常高调。先是在2018年底宣布和三星达成合作,准备和新款手机推出联名系列。但被网友发现所谓的“Supreme Italia”并不是正牌Supreme后,三星果断终止了合作。
之后IBF并没有停止在中国的扩展计划,在上海淮海中路、爱琴海购物中心开了店,还准备入住天猫和京东。界面时尚了解到,目前其淮海路店、爱琴海购物中心店都已歇业。也并未入驻天猫和京东。

IBF系Supreme在中国的发展中断,与正牌Supreme的努力不无关系。
去年一系列高仿店开出后,界面时尚曾独家获取章节四公司Chapter 4的官方申明信函,称将针对IBF(Supreme Italia/Spain)及其关联公司在中国上海市开设的两家店铺事实的不正当竞争行为,已向中国官方寻求行政保护。
“IBF模仿SUPREME品牌,误导媒体和执法部门,甚至三星这样一时掉以轻心的企业。最重要的是,他们蒙蔽并欺骗消费者。我们相信,法律法规将一如既往地遏制这样的不正当竞争行为。”
这是Supreme首次下定决心肃清中国市场的知识产权问题。
界面时尚查阅过往Supreme在华申请商标的记录时发现,2017年8月,章节四公司曾成功申请了“SUPREME”商标,但三个月后便因异议失效。直到去年,在IBF系的刺激下,才加足马力抢夺商标。
不过,Supreme在中国的商标保卫战道阻且长。现在在大众点评上海地区上搜索Supreme,还会出现30多家相关店铺,大部分是创立于义乌等地的国内品牌。
还有数家名为Supreme Tea的茶饮品牌,注册商标属于武汉渠道连通信息科技有限公司。去年该品牌还在深圳开了四家店,现在部分暂停营业。

一国内一线知识产权律所律师对界面时尚表示,一般来说一旦商标注册被核准,仿冒品牌就不能再使用该商标。由于“Supreme”是个常用英文词,所以品牌会结合字体、颜色等形式加以商标注册保护。但假冒品牌还是会有很多规避方法,如果只使用单词便有很大概率被判定为未侵权。



评论