文|青眼 资深记者 晓晓
昨日,深圳千色店商业连锁有限公司(以下称“千色店”)微信公众号发布了一条标题为《千色店卖假货可耻!》的推文,内容直指千色店售卖假货、过期产品,扣押顾客金钱,拖欠员工工资,以及涉嫌偷税漏税等行为。

截自千色店微信公众号(5月26日上午9时截图)
该篇推文发布后迅速被删除,2个小时后,千色店官方微信公众号再发文称“账号被盗,有人恶意散布虚假消息,已做报警处理”。

截自千色店微信公众号(5月27日下午5时截图)
青眼第一时间联系了千色店官方,得到回复称“文中内容均为不实言论,怀疑是竞争对手所为。”
不管真相如何,该事件迅速引起业内的广泛关注与讨论,这究竟是怎么一回事?
千色店被指五宗罪,疑为竞争对手所为?
据了解,《千色店卖假货可耻!》一文中主要控诉了千色店的五宗罪。其一,卖假货。该文称,“千色店所有售卖化妆品均为假货,货源来自网上乱七八糟的供货商,没有任何质量保证,顾客用假货后导致皮肤过敏,频繁投诉。”其二,卖过期产品。该文中指出,为了卖掉过期产品,店铺将瓶身的生产日期刮掉,被顾客发现后投诉。其三,扣押顾客金钱。该文声称,顾客下单后店铺不发货也联系不上客服,而店铺却将顾客的货款拿去做其它用途。

图片来自网络
其四,拖欠员工工资。据该文爆料,千色店撤掉了许多实体店铺,并从2019年10月份至今(2020年5月)整整7个月一直拖欠员工工资。其五,该文呼吁有关部门关注千色店偷税漏税问题。

图片来自网络
有相关人士认为,这或为离职员工所为。青眼致电千色店官方,对方告知,其公众号账号于昨日上午被恶意盗取,文中内容均为不实言论,目前已经报警立案,并称“怀疑是竞争对手所为,犯案人已经基本查到了,但还要等警方的最终调查结果。”
门店锐减至70家,38家分公司显示注销
公开资料显示,千色店创立于1993年,同年3月第一家店在深圳市蛇口开业。不同于中国化妆品专营店常见的街边夫妻店,千色店在业内被视为国内时尚精品店的领军者、妍丽的老师,其巅峰时期的规模和影响力也曾与娇兰佳人相提并论。
据悉,2015年千色店全国门店曾达到140家,不过,千色店微信公众号目前显示店铺数量为70家,其中,有54家门店集中在广东地区。另外,2013年-2019年,千色店连续上榜“中国化妆品百强名店榜”。2013年,千色店位于该榜单第三名,紧随第一名娇兰佳人、第二名亿莎。然而,据2019年榜单显示,千色店已滑落至第43位,同时,娇兰佳人、妍丽、唐三彩依次位列前三。
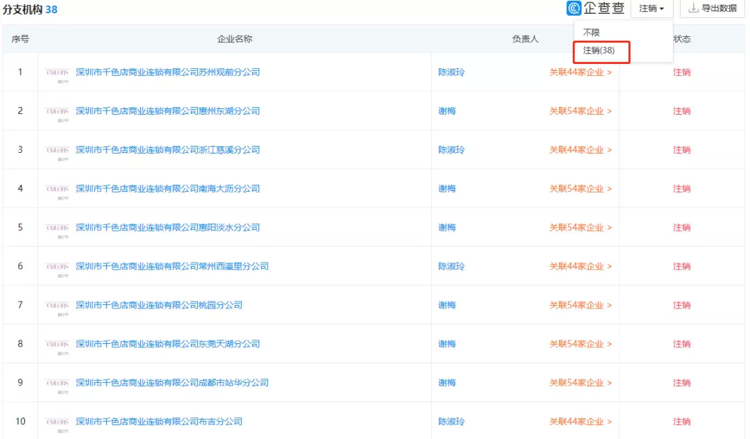
企查查显示,深圳千色店商业连锁有限公司注册资本为2800万元,法人范举芳持股比例95%。值得一提的是,该企业在全国的38家分公司目前均已处于注销状态。

截自企查查
11次被执行人记录,执行标的83万余元
深圳市宝安区人民法院官网显示,今年5月9日至5月25日,深圳千色店商业连锁有限公司共有11次被执行人记录,执行标的合计83万4100元。

截自企查查
同时,企查查显示,深圳市千色店商业连锁有限公司成都新光分公司被四川省市场监督管理局列入失信被执行人名单,原因为“被列入经营异常名录届满3年仍未履行相关义务。”目前该分公司已处于注销状态。
可以看出,虽然无法判定《千色店卖假货可耻!》文中内容的真实性,但千色店的经营确实面临不少问题,随着门店减少、分公司关闭等,昔日百强巨头的市场地位不断下滑。
不过,青眼发现,千色店近年来正有意将业务向线上转移。早在2014年千色店就开设了天猫旗舰店,并做到了2014年天猫香水类目店铺销售额第一的成绩。2019年,千色店还与短视频电商平台“纷来”达成战略合作。

截自千色店天猫旗舰店
目前,千色店天猫旗舰店粉丝数量为31.4万,在售商品128件,且多为国际大牌香水、彩妆等产品。同时,从千色店官方微博“圃事”发布的信息来看,千色店几乎每天都会有直播带货活动,向其天猫旗舰店引流。从销量来看,店铺最畅销的一款迪奥口红售价为238元,月销量达3.2万笔。而妍丽、娇兰佳人的天猫旗舰店中销量最高的单品销量分别为199笔和1092笔。
大体而言,若不是当前公众号的爆雷事件,昔日与屈臣氏、娇兰佳人并列的千色店似乎已逐渐淡出业内视线,不由令人唏嘘。


评论