文|三易生活
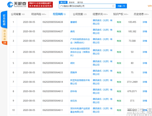
最近关于腾讯的“合并案”似乎发生得有些频繁,除了万众瞩目的斗鱼和虎牙之外,日前还有消息显示,早在8月5日,广州酷狗计算机科技有限公司就新增了多条股权出质信息,全部股东均出质股权,质权人则为腾讯音乐(北京)有限公司。对此有观点认为,这或许意味着腾讯将打破旗下QQ音乐、酷狗音乐、酷我音乐合并后,产品和品牌保持独立的境况,并加速这几个相近的在线音乐平台融合。

说起腾讯与酷狗之间的关系,其实从更长时间线来看还是相当的微妙。许多90后和00后或许还记得,酷狗音乐其实与QQ音乐之间有着一段相当漫长的竞争期,但是最后这场较量还是以财大气粗的腾讯收购酷狗和酷我音乐落下帷幕。2016年7月15日,腾讯发布内部信宣布,公司已经与中国音乐公司(China Music Corporation,CMC)达成协议,此后QQ音乐和CMC(酷狗、酷我等)合并,由腾讯集团控股成立一个新的音乐集团,而这也就是2018年上市的腾讯音乐(TME)。
虽说腾讯方面承诺合并之后,这三个平台的产品与品牌依然保持独立,但当时的酷狗音乐、酷我音乐、QQ音乐俨然是用户认知中最高,音乐资源也更加丰富的头部平台,因此坊间曾有观点称,“腾讯成为了数字音乐领域‘绝对霸主’”。
就在所有人认为腾讯在音乐领域将成为“打遍天下无敌手”的存在时,另一个看似“平平无奇”的平台却逐渐兴起,而这位在线音乐平台新贵,也就是网易云音乐。
实际上网易进入这一赛道已是2013年,当时市场上无论是酷狗音乐还是QQ音乐,都已经发展得较为成熟,其中酷狗音乐更是早在2009年,就已经入选中国世界记录协会国内最大的音乐软件。因此在当时的这种情况下,网易云音乐的入场可以想象,在初期看好的人其实并不多。
不过别人看不看好不要紧,只要老板认为对就足够了。网络上一直有传言称,丁老板在音乐方面还是颇有追求的,所以对网易云音乐这个项目也相当“宽容”,甚至有报道中称,“丁磊唯二可以允许亏钱的网易产品,一是有道,另一个就是网易云音乐”。而网易云音乐也确实没有辜负丁磊的看好,在一片“枪林弹雨”中依然杀出了自己的一条路。
根据比达咨询公布的统计数据显示,2019年第一季度中国主要在线音乐APP月均活跃用户数中,来自腾讯音乐的酷狗音乐、QQ音乐、酷我音乐排名前三,月均活跃用户数分别达到2.94亿、2.69亿、1.57亿人,而网易云音乐的月均活跃用户数则以1.40亿排在第四名。

然而在用户人均日运行时长方面,网易云音乐则甩开TME三家,以26.3分钟排名第一。因此这样的数据也就意味着,虽然每个月或许有更多用户会打开TME的三款App,但网易云音乐的用户则更偏好“粘”在平台上,而这些用户对平台的认可,则是其他竞争对手无法相比的。
此外,相比其他在线音乐平台,网易云音乐在用户之间的影响力更是惊人。在大多数人看来,腾讯音乐的“出圈”热度基本与周杰伦发新歌的频率绑定,逻辑可谓是相当简单明了。但是在网易云音乐身上,其“出圈”走红则更多源自用户本身的足够活跃。

以近段时间“网抑云”事件为例,其实就很好折射了这种“奇妙”的影响力。众所周知,长期以来网易云音乐的评论区中,越是顾影自怜或者暗示曾有感情伤痕的评论,往往更容易获得较高的热度。后期这种现象越发频繁,使得在B站等其他社交平台上爆发出了大量“到点了,该‘网抑云’了”为主题的二次创作内容,再搭配夸张的表演和剪辑达到恶搞效果,借此来嘲讽那些无病呻吟、做作矫情的评论内容,其中部分内容甚至会因热度高而登上首页或热搜榜。
而这些网友对“网抑云”的玩梗,实际上无意中也成为了平台的“自来水”(毕竟黑水也是水),因此也为网易云音乐创造了相当可观的流量导入。但同样的案例,不管是酷狗音乐和酷我音乐,还是QQ音乐,显然都很难复制。
如今网易云音乐用实力证明在作为在线音乐平台,搞社交是认真的,与此同时其原本致命的短板音乐版权,也逐渐得以补齐。日前,TME三家与网易云音乐就一同拿到了环球音乐版权授权,因此可以说在版权领域,腾讯音乐与网易云音乐之间的差距也开始越来越小。在这样“三个打不死一个”的情况下,腾讯方面近日的频频动作或许是已经开始在整合资源,因此也难怪外界推测,在线音乐赛道的“大决战”就要来了。


评论