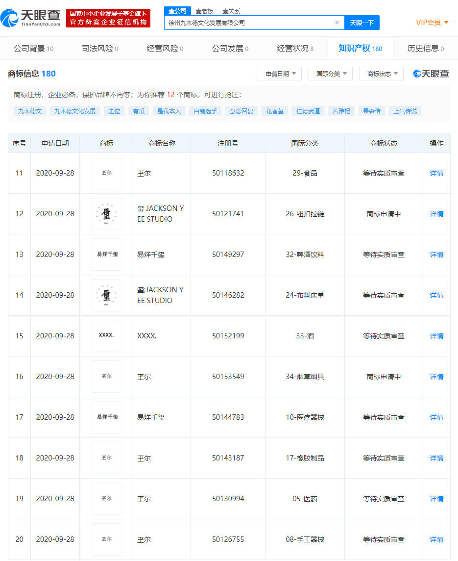
据天眼查App显示,近日,徐州九木德文化发展有限公司申请注册多个“易烊千玺”、“玊尔”、“玺 JACKSON YEE STUDIO”商标,国际分类涉及金融物管、医疗器械、食品、啤酒饮料等,商标状态为商标申请中和等待实质审查。
徐州九木德文化发展有限公司成立于2018年12月,注册资本500万,法定代表人为易上捷,经营范围包括组织文化艺术交流活动(不含演出);承办展览展示;影视策划;电影摄制等。易烊千玺和易上捷为其股东,各持股50%。

来源:界面新闻
据天眼查App显示,近日,徐州九木德文化发展有限公司申请注册多个“易烊千玺”、“玊尔”、“玺 JACKSON YEE STUDIO”商标,国际分类涉及金融物管、医疗器械、食品、啤酒饮料等,商标状态为商标申请中和等待实质审查。
徐州九木德文化发展有限公司成立于2018年12月,注册资本500万,法定代表人为易上捷,经营范围包括组织文化艺术交流活动(不含演出);承办展览展示;影视策划;电影摄制等。易烊千玺和易上捷为其股东,各持股50%。

评论