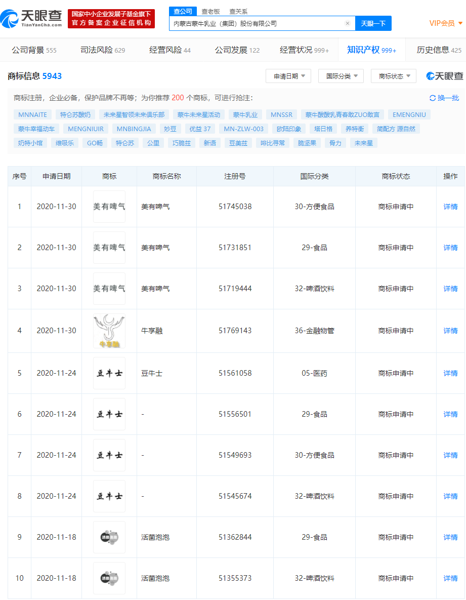
蒙牛关联公司申请“美有啤气”、“豆牛士”商标

据天眼查APP显示,近日,内蒙古蒙牛乳业(集团)股份有限公司新增多条商标申请信息,新申请商标包括“美有啤气”、“豆牛士”等,商标国际分类涉及方便食品、啤酒饮料、医药等。商标状态均显示为“商标申请中”。

未经正式授权严禁转载本文,侵权必究。

蒙牛乳业

3.6k
  • 蒙牛:与欧洲市场奶粉召回事件所涉及的原料生产商无关
  • 蒙牛乳业捐赠1200万港元款物,驰援香港火灾救援

评论

暂无评论哦,快来评价一下吧!