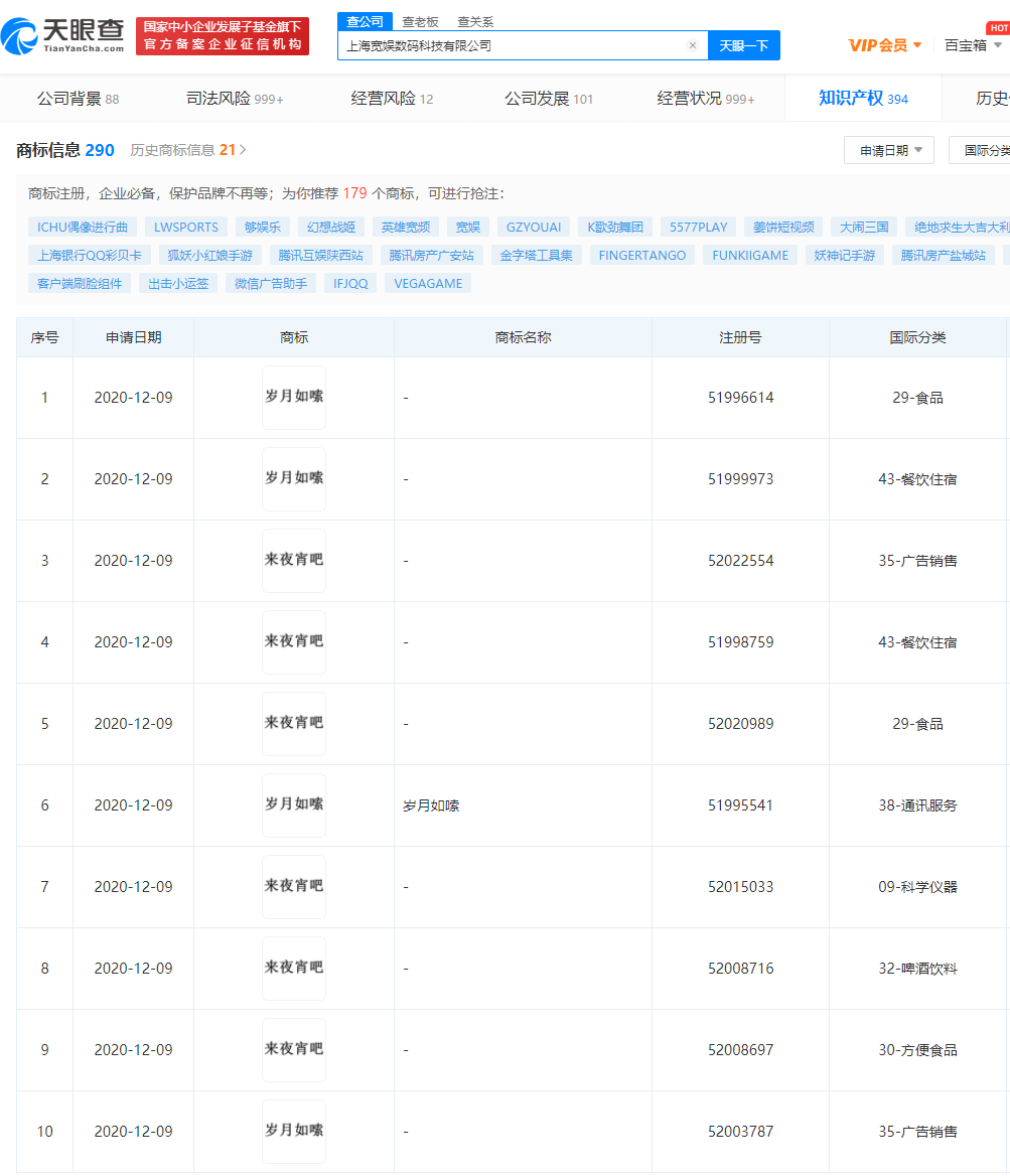
天眼查APP显示,近日,B站关联公司上海宽娱数码科技有限公司申请多个“来夜宵吧”、“岁月如嗦”的商标。申请日期均在2020年12月9日,国际分类涉及食品、广告销售、餐饮住宿、啤酒饮料等。商标状态均显示为“商标申请中”。

上海宽娱数码科技有限公司成立于2005年8月,法定代表人为哔哩哔哩董事长兼CEO陈睿,注册资本1亿人民币,经营范围含第一类增值电信业务;第二类增值电信业务;基础电信业务等。
来源:界面新闻
天眼查APP显示,近日,B站关联公司上海宽娱数码科技有限公司申请多个“来夜宵吧”、“岁月如嗦”的商标。申请日期均在2020年12月9日,国际分类涉及食品、广告销售、餐饮住宿、啤酒饮料等。商标状态均显示为“商标申请中”。

上海宽娱数码科技有限公司成立于2005年8月,法定代表人为哔哩哔哩董事长兼CEO陈睿,注册资本1亿人民币,经营范围含第一类增值电信业务;第二类增值电信业务;基础电信业务等。
评论