记者 | 胡颖君
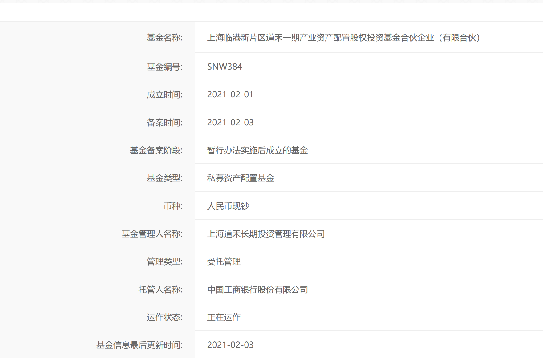
中基协官网信息显示,上海道禾长期投资管理有限公司(简称“道禾长期投资”)于2月3日完成首只私募资产配置基金-“上海临港新片区道禾一期产业资产配置基金”的备案,据悉,该基金首期认缴出资30亿元,目标规模为80亿元,托管方为工商银行。
值得一提的是,该基金是上海首只私募资产配置基金、全国首只聚焦临港新片区产业发展的私募资产配置基金。
资产配置类私募是证券类私募、股权创投类私募、其他类私募以外的第四类私募。主要采用FOF的投资方式,80%以上的已投基金资产应当投资于已备案的私募基金、公募基金或者其他依法设立的资产管理产品,可以跨类别进行投资。
上海一家私募机构负责人告诉界面新闻记者,相较于其他三类私募基金,资产配置基金可通过FOF形式投到各类底层资产,从而实现对全市场品种的覆盖,因此,其规模较单一类私募基金会更大。此外,该类产品一般以长期投资为主,注重降低投资波动,风险收益曲线比单一类型基金更为平滑。
2018年下半年开始,资产配置类私募牌照正式开放申请。不过,由于设置了诸多高隐形门槛,例如“要求实控人旗下机构至少有一家是协会普通会员,或者要求登记3年以上、年均规模不低于5亿的观察会员”、产品初始募集规模(5000万元起)、运作期限(2年起、封闭运作)等,目前拿到该类牌照的管理人大多为股东背景雄厚、跨类别投资能力较强的投资机构。

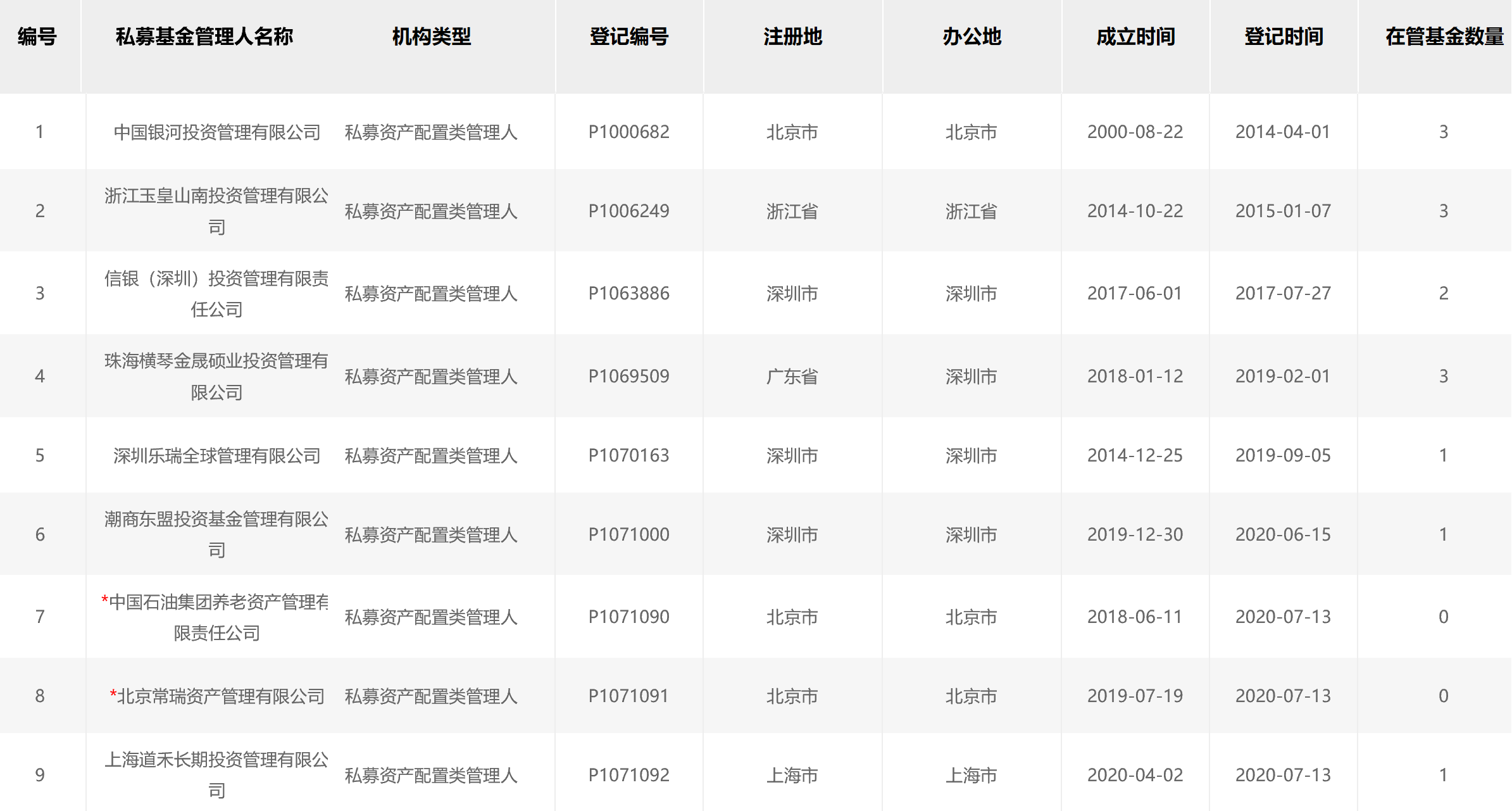
界面新闻记者梳理发现,截至当前,共计有9家私募资产配置管理人已经进行备案登记,分别是中国银河投资、浙江玉皇山南投资、信银(深圳)投资、珠海横琴金晟硕业投资与深圳乐瑞全球、潮商东盟投资、道禾投资、中国石油集团养老资管、北京常瑞资产,上述9家私募资产配置类管理人合计备案基金14只,截至2020年末,私募资产配置类基金合计规模为9.96亿元。
道禾长期投资亦来头不小。中基协官网信息显示,道禾长期投资于7月13日在中基协登记备案,机构类型为私募资产配置类管理人,同时也是上海首家拥有私募资产配置管理人资格的专业投资管理机构。
天眼查app显示,道禾长期投资注册资本5950万元,第一大股东为上海同正企业管理合伙企业(有限合伙),持股比例26.89%,穿透后实际控制人为杨德红,持股比例20.01%。
公开资料显示,杨德红历任上海国际信托投资公司投资银行总部总经理、上海国际集团有限公司副总经理、上海爱建股份有限公司总经理。2015年5月-2019年10月,杨德红任国泰君安董事长、党委书记。
辞任国泰君安董事长后,杨德红于2020年1月、2月创立了三家公司,分别为上海禾同企业管理有限公司、上海同正企业管理合伙企业(有限合伙)、上海同田企业管理合伙企业(有限合伙),并担任上海禾同的法人、董事长兼总经理。
此外,道禾长期投资高管团队均出自上海国际集团,上海国际集团是国泰君安证券的股东方,持股比例7.66%。备案信息显示,道禾长期投资目前拥有全职员工21人,不过,界面新闻记者发现,首支私募产品刚刚获批,道禾长期投资便开始招兵买马,扩充投研团队。百度招聘显示,道禾长期投资于近日发布众多招聘岗位,包括FOF投资一级投资、FOF量化分析等。
此外,道禾长期投资目前已经开始公开投资,2020年10月,道禾长期投资联合千骥资本、贞吉资本等机构共同参与了上海有临医药科技有限公司的A轮融资,交易规模超亿元。



评论