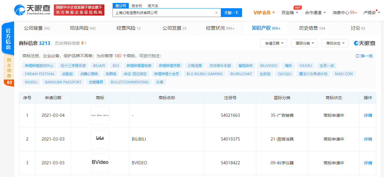
B站关联公司申请注册“BVideo”“bilibili影业”等商标

据天眼查APP显示,B站关联公司上海幻电信息科技有限公司于3月3日申请注册“BVideo”、“bilibili影业”等商标,国际分类涉及科学仪器、广告销售等,商标状态为“商标申请中”。

未经正式授权严禁转载本文,侵权必究。

哔哩哔哩

3.2k
  • 科技早报 | B站辟谣视频需购买会员方可完整观看;小米首座大家电工厂竣工投产
  • 所有视频需购买会员才能完整观看?B站:假消息,已报警

评论

暂无评论哦,快来评价一下吧!