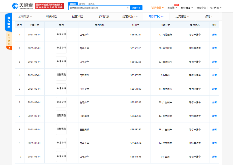
据天眼查APP显示,3月1日,理塘县文旅体投资发展有限公司申请注册“白马少年”“田野男孩”相关商标,申请日为2021年3月1日,国际分类含网站服务、珠宝钟表、啤酒饮料等,目前商标状态为“商标申请中”。值得注意的是,此前该公司曾注册“小马珍珠”“丁真珍珠”等商标。
据红星新闻此前报道,丁真于2020年的11月火爆全网,后与理塘县文旅体投资发展有限公司签约,成为该公司的正式员工,其在网络上也有“白马少年”之称。
来源:界面新闻
据天眼查APP显示,3月1日,理塘县文旅体投资发展有限公司申请注册“白马少年”“田野男孩”相关商标,申请日为2021年3月1日,国际分类含网站服务、珠宝钟表、啤酒饮料等,目前商标状态为“商标申请中”。值得注意的是,此前该公司曾注册“小马珍珠”“丁真珍珠”等商标。
据红星新闻此前报道,丁真于2020年的11月火爆全网,后与理塘县文旅体投资发展有限公司签约,成为该公司的正式员工,其在网络上也有“白马少年”之称。
评论