文|游戏观察

3月16日,三七互娱旗下《斗罗大陆:武魂觉醒》发布后空降免费榜榜首,截至发稿其依旧强势霸占榜首的位置。
网文IP改编手游在经过了2013-2015的热潮后就陷入了沉寂的状态,这个领域需要这样一个产品重新起航。
但回顾整个网文IP,能持续如斗罗IP进行输出的并不多,斗罗是网文IP对游戏进行输出的金子招牌也是目前阶段下唯一的招牌,在下一个IP出现之前,《斗罗大陆》不能倒下。
从2014年的疯抢到沉寂,网文IP在手游领域经历了大起大落。但文娱领域不分家,网文对玄幻、修仙等文化概念的传播推动也深刻影响了游戏行业的题材选择。例如最近《鬼谷八荒》、《一念修仙》等产品的火热又让大伙瞄准修仙题材去淘金,而《一念修仙》开服也和番茄小说搞了场创作大赛作为宣传的一部分。
对于阅文而言,以IP为中心的生态系统,打通网文、动漫、游戏并向外扩散是必须持续推进的目标。这既需要对外最突出的金字招牌,也需要流水线复刻这种成功的一系列作品来证明。现在,唐家三少的《斗罗大陆》成为了阅文选择的牌面。
2021年,随着真人电视剧的播出以及动画持续的更新,《斗罗大陆》的整体话题度不断攀升,这自然也成为了游戏厂商们发力的节点。在《斗罗大陆》真人电视剧播出后,市面上短时间出现了大量该IP改编的游戏,包括《斗罗大陆2绝世唐门》、《斗罗大陆:武魂觉醒》、《斗罗大陆-斗神再临》以及刚拿到版号的《斗罗大陆:魂师对决》。
如此密集高强度的发布背后,又会出现怎样的结果?
并非起初的领跑者
在游戏改编领域,《斗罗大陆》并非起初的领跑者。
2014年,IP被奉为成功的必备之选。时代的浪潮中,网文作为国产IP的重要来源不甘示弱,当时名噪一时的新闻莫过于2014年CJ期间网文IP拍卖会六部作品游戏改编版权拍了2800万,人们纷纷高呼天价IP时代即将来临。
2013年9月成立的深圳第一波就是主打各类网络文学IP产品。第一波拿到小说作者的授权,然后将IP授权给对应的开发商开发、同时自己进行发行工作,先后推出了《唐门世界》、《莽荒纪》等作品,且在当时大多都取得了不错的成绩。
在这一波的大浪中,《斗罗大陆》并非改编的首要选择,《唐门世界》是第一波旗下的第一款手游,同时也是唐家三少首款小说IP改编的手游。根据媒体报道,游戏自2013年10月上架iOS平台后3日便冲进畅销榜Top.20,首月流水超1000万元,上线半年流水超过5000万。

而我吃西红柿的《莽荒纪》则是当时表现更耀眼的明星。根据第一波的数据,游戏上线后iOS版最高曾冲至畅销榜第九,在13年12月的单月收入超过2000万,半年流水超过一亿。当时的报道称,《莽荒纪》打通网文、影视、游戏的工作如火如荼,同名动画制作、网络剧、电视剧电影都有考虑合作,而动作手游《莽荒纪2》、《莽荒纪》端游也在考虑和谈论范围之内。

抢眼的收入表现也让多家厂商争相抢夺《莽荒纪》的IP,根据版号查询显示,2014-2018年注册在案的就有13款。不过伴随着手游市场从野蛮生长到趋于理性,IP不再是包治百病的灵丹妙药,网文IP的潮水迅速褪去,《莽荒纪》这个曾经的明星IP脚步的也停留在2018年。
积蓄力量的动漫改编
游戏方面的暂时折戟,某种程度也加重了阅文在IP改编动漫领域的压力和动力,不过阅文对于3D动画改编的大手笔投入也成为了《斗罗大陆》扩大影响力的契机,不过这一次,它也不是第一个吃螃蟹的。
2017年1月,阅文推出的《斗破苍穹》第一季震撼了当时的动漫市场,创造了国漫史上的多个播放纪录,开启了集均播放量过亿的国漫新时代。而《斗罗大陆》第一季则是等到2018年1月才开播。

虽然同为头部作品,但《斗罗大陆》初代在网文传播热度和影响范围上还是不及《斗破苍穹》,比如斗破“莫欺少年穷”这种名句传播效应可见一斑,2018年其还顺势推出了相关电视剧。
不过在动漫传播培育的过程中,《斗罗大陆》实现了弯道超车。坊间关于二者的比较一直都有,《斗罗大陆》虽然后播,但通过与玄机科技的合作,更稳定持续的更新,精良的制作,不断的优化提升,是打动粉丝观众们的关键。
根据《2020中国网络视听发展研究报告》发布的数据,动画《斗罗大陆》平均每集播放量为1.49亿,专辑总播放量达125亿,创全网纪录,成为首部播放量破百亿的国产动画片。而腾讯还在2019年Q2把《斗罗大陆》写进了财报,“收费增值服务订购账户数同比增长10%至1.689亿,主要受视频及音乐服务订购数增加带动。腾讯视频的订购账户数同比增长30%至9690万,增长的主要原因是腾讯与战略合作伙伴推出联合会员优惠,以及自制国漫系列《斗罗大陆》(第二季)大受欢迎所致。”
除了动画,此前斗罗大陆IP的改编漫画也反响不错。例如根据风炫文化财报,2019年上半年《斗罗大陆》单行本出版第 46-48 册市场反应热烈,1-45 册图书补货速度加快,其也是风炫文化当时收入主要来源。
无论是之前的游戏改编还是动画改编,《斗罗大陆》都不是那个最优先的选择,然而通过后续十余年的运营培养和改编作品的精心打磨,《斗罗大陆》不断攀升上扬才成为了如今阅文IP改编的金字招牌。
值得注意的是,出于种种原因,唐家三少多部作品之后选择将重心重新转移到《斗罗大陆》系列的构建上,至今围绕其世界观已经有了4部相关作品。在网文这个地基不断夯实基础,为IP丰富灵魂和注入更多价值,这对于IP的打造显然是极为关键的。
再战游戏,改编扶正的招牌
游戏改编再难也是要走的路。得益于动画改编的成功,阅文游戏在2018年正式发行了自己的第一款自研手游《新斗罗大陆》,这一次它终于成了主角。有趣的是,《新斗罗大陆》的收入表现和它的改编命运相似,并非开局爆款也是经历了低谷到上扬的过程,从2018年的300开外到2019年的TOP 30,进入2019年5个月近4亿流水。有了稳定成绩之后,阅文在2019年中正式召开发布会为《斗罗大陆》呐喊助威。

按照阅文集团副总裁朱靖的说法,“连载了10年的系列,四部作品总字数超过1300万,获得了3亿的推荐量所积累的庞大粉丝”、“世界观、故事情节、设定适合改编游戏,例如小说里有组队、有竞技、魂环、魂骨、魂兽等设定”、“通过阅文的自有优势,调研了阅读《斗罗大陆》小说用户群体。通过画像、年龄层、游戏兴趣及游戏行为等大数据,发现85%以上的原著粉玩过2款及以上的手游。可以说,《斗罗大陆》的用户大部分都是游戏用户,对游戏有极大的热情。”
这也对应了其成长的道路,需要长时间沉淀和积累、适宜改编的世界观架构、庞大的用户带来的游戏习惯,这些帮助《斗罗大陆》成为阅文在游戏领域重整旗鼓的急先锋。而从游戏的持续表现来看,确实算得上金字招牌。
然而走到高处享受荣誉,也要承担更大的压力。


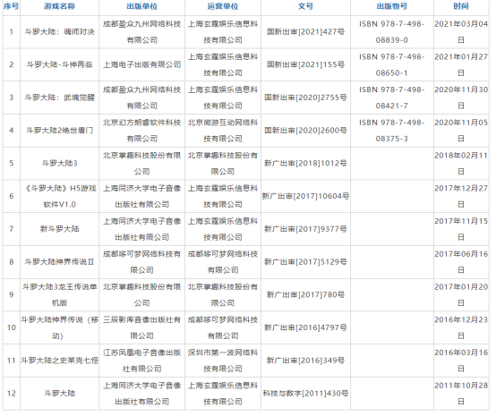
根据版号查询显示,目前斗罗之名注册在案的游戏有12款,其中2018年到2020年成为明显的分水岭。对比曾经的竞争对手《斗破苍穹》还停留在2019年腾讯出品的《斗破苍穹:异火重燃》。(网文IP改编作品会出现多IP融合改名的情况,例如唐门世界、绝世天府等,实际相关IP改编作品会更多)

根据伽马数据发布的《2020~2021移动游戏IP市场发展报告》,《斗罗大陆》进入2020年IP改编移动游戏流水收入Top10。《新斗罗大陆》的成功再一次激发了游戏厂商们对网文IP的信心,完美、掌趣、中手游、37等厂商都对于该IP先后下注。
2021年随着真人电视剧的放送以及动画的稳定播出,不断拔高的热度也成为游戏厂商们下手的节点。虽然朱靖曾强调“阅文IP储备真的是不缺,缺的是游戏厂商能不能深刻理解这些IP。”但毫无疑问短期多产品高频率的消耗对IP显然是个严峻的考验。
从玩法上来看,《斗罗大陆》之前的游戏往往集中在卡牌RPG之上,而37手游新发的《斗罗大陆:武魂觉醒》也是选择了现在流行的放置卡牌,包括曝光的《斗罗大陆2绝世唐门》是个MMORPG,这些都属于常见类型。未来围绕同一IP能否做出差异化决定了这个金字招牌能不能继续上升。
另一方面对于阅文,强化孵化IP能力、改善平台的社交和社区功能并连接腾讯产品矩阵、以IP为核心的泛娱乐生态是三个长期发展的方向。《斗罗大陆》这个招牌通过长期培育与同期的作品拉开了差距,也是其在游戏领域游戏又一次大展拳脚的新起点,在下一个《斗罗大陆》出现之前,必然不能轻易的倒下。


评论