界面新闻logo
  • 首页
    • 科技
    • 金融
    • 证券
    • 地产
    • 汽车
    • 健康
    • 地方
    • 硬科技
    • 文旅
    • 数据
    • ESG
    • 双碳
    • 电厂
  • 商业
    • 科技
    • 地产
    • 汽车
    • 消费
    • 工业
    • 时尚
    • 交通
    • 医药
    • 互联网
    • 创投
    • 能源
    • 数码
    • 教育
    • 食品
    • 新能源
    • 家电
    • 健康
    • 酒业
    • 物流
    • 零售
    • 美妆
    • 体育
    • 楼市
    • 家居
    • 餐饮
    • 日用
    • 企服
    • 珠宝
    • 腕表
    • 智库
    • 电厂
    • 农业
    • 出海
  • 财经
    • 金融
    • 投资
    • 证券
    • IPO
    • 宏观
    • 股市
    • 财富
    • 有连云
  • 新闻
    • 天下
    • 中国
    • 地方
    • 评论
    • 数据
    • 职场
    • 国是
    • 文娱
    • 影像
    • 营销
    • 大湾区
    • ESG
    • 双碳
    • 长三角
    • 中西部
  • 文化生活
    • 文化
    • 文旅
    • 生活方式
    • 美食美酒
    • 艺术
    • 游戏
    • 正午
    • 箭厂
  • VIP
    • 投资早晚报
    • 宏观晚6点
    • 打新早报
    • 盘前机会前瞻
    • 盘中必读
    • 金股挖掘
    • 调研早知道
    • 研报新知
  • 快报
    • 今日热点
    • 公司头条
    • 股市前沿
    • 监管通报
    • 财经速览
    • 时事追踪
  • 界面号
    • 财经号
    • 城市号
    • 媒体号
  • 视频
    • 界面Vnews
    • 直播
    • 箭厂
    • 品牌创酷
    • 番茄社
    • 商业微史记
    • 胡说财经
  • 专题
    • 新闻专题
    • 活动专题
  • Global
登录
  • 消息
  • 我的面点
  • 我的关注
  • 我的文章
  • 投稿
  • 报料
  • 账号设置
  • 退出账号
旧版搜索
  • 新版搜索
  • 旧版搜索

历史搜索 全部删除

    热门搜索

      商业快报
      阿里健康

      阿里健康申请注册多个“鹿妈帮”商标

      界面快报 · 来源:界面新闻

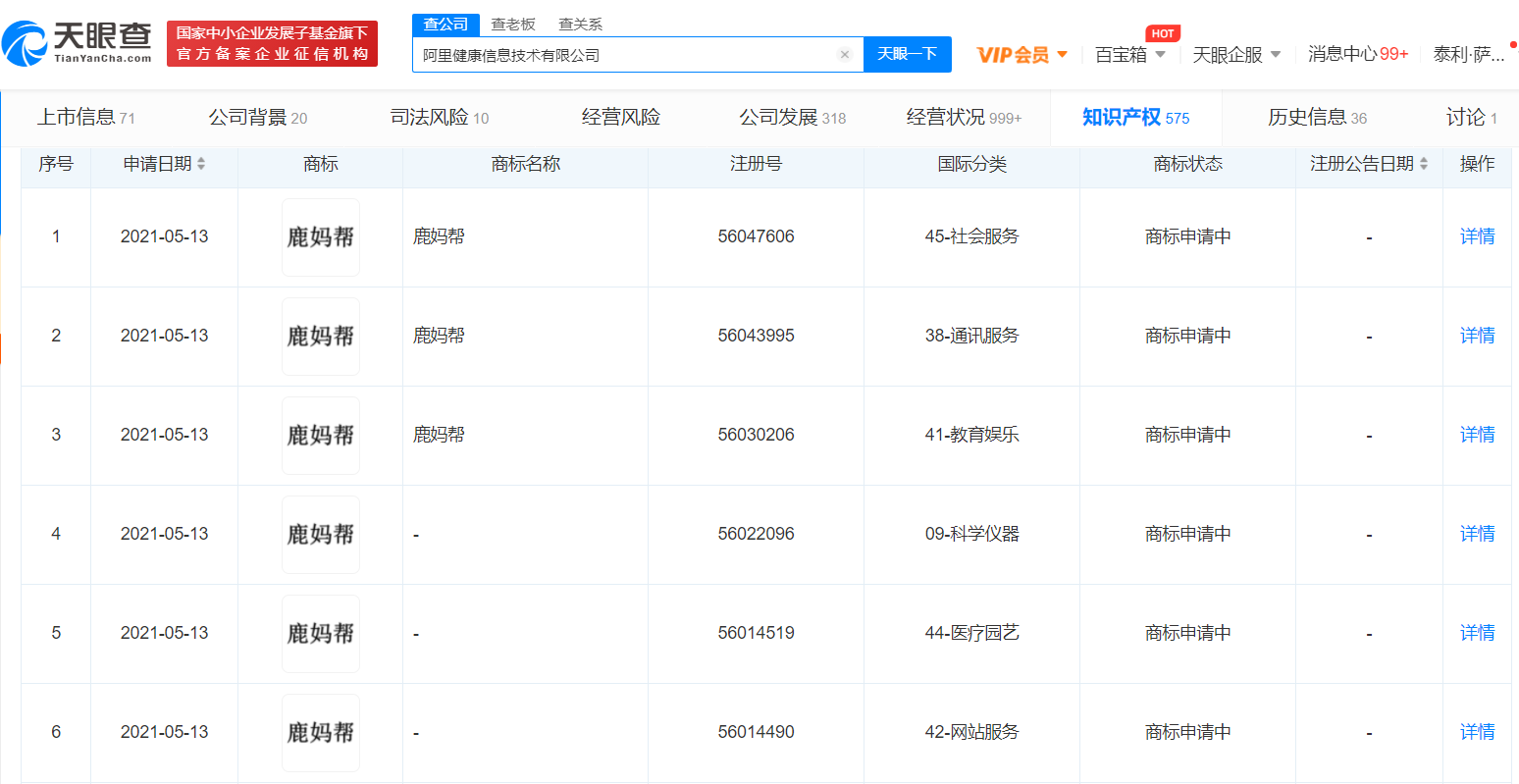
      据天眼查APP显示,5月13日,阿里健康信息技术有限公司申请注册多个“鹿妈帮”商标,国际分类包含“社会服务、通讯服务、娱乐教育、科学仪器”等,当前商标状态为“商标申请中”。

      未经正式授权严禁转载本文,侵权必究。

      阿里健康

      1.8k
      • 阿里健康推出医生版“GPT”19天前
      • 阿里健康与圣湘生物达成战略合作2个月前
      点赞
      收藏
      看评论
      分享至
      微博分享
      微信分享
      QQzone

      评论

      暂无评论哦,快来评价一下吧!
      热门排行February 08
      • AI之争又打成了奶茶大战
      • 泽连斯基:美方提议在迈阿密举行俄乌会谈,乌方已同意
      • 中央一号文件解读|严防“大棚房”问题反弹回潮,常态化整治高压不减
      • 汽车早报|一汽-大众召回超20万辆国产奥迪Q2L汽车 特斯拉中国AI训练中心已投入使用
      • 伊朗外长:本轮美伊磋商是“良好开端”,双方同意继续谈判
      • 美伊核谈判最新进展:双方就“保持对话”达成共识,具体条款仍有博弈
      • 伊美阿曼谈判“暂时”结束
      • 支持重大项目建设、推动民间投资,国常会重磅部署扩投资
      • 直通部委|预制菜国家标准今日征求意见 全国实现生育津贴直接发放个人
      • 土地财政退潮或仍将拖累政府基金性收入|宏观晚6点

      上海界面财联社科技股份有限公司 版权所有 © 2014-2026 JIEMIAN.COM

      • 关于我们
      • 联系我们
      • 广告合作
      • 注册协议
      • 投稿须知
      • 版权声明
      • 举报及处置