界面新闻logo
  • 首页
    • 科技
    • 金融
    • 证券
    • 地产
    • 汽车
    • 健康
    • 地方
    • 大湾区
    • 文旅
    • 数据
    • ESG
    • 双碳
    • 电厂
  • 商业
    • 科技
    • 地产
    • 汽车
    • 消费
    • 工业
    • 时尚
    • 交通
    • 医药
    • 互联网
    • 创投
    • 能源
    • 数码
    • 教育
    • 食品
    • 新能源
    • 家电
    • 健康
    • 酒业
    • 物流
    • 零售
    • 美妆
    • 体育
    • 楼市
    • 家居
    • 餐饮
    • 日用
    • 企服
    • 珠宝
    • 腕表
    • 智库
    • 电厂
    • 农业
  • 财经
    • 金融
    • 投资
    • 证券
    • IPO
    • 宏观
    • 股市
    • 财富
    • 有连云
  • 新闻
    • 天下
    • 中国
    • 地方
    • 评论
    • 数据
    • 职场
    • 国是
    • 文娱
    • 影像
    • 营销
    • 大湾区
    • ESG
    • 双碳
    • 长三角
    • 中西部
  • 文化生活
    • 文化
    • 文旅
    • 生活方式
    • 美食美酒
    • 艺术
    • 游戏
    • 正午
    • 箭厂
  • VIP
    • 投资早晚报
    • 宏观晚6点
    • 打新早报
    • 盘前机会前瞻
    • 盘中必读
    • 金股挖掘
    • 调研早知道
    • 研报新知
  • 快报
    • 今日热点
    • 公司头条
    • 股市前沿
    • 监管通报
    • 财经速览
    • 时事追踪
  • 界面号
    • 财经号
    • 城市号
    • 媒体号
  • 视频
    • 界面Vnews
    • 直播
    • 箭厂
    • 面谈
    • 品牌创酷
    • 番茄社
    • 商业微史记
  • 专题
    • 新闻专题
    • 活动专题
  • Global
登录
  • 消息
  • 我的面点
  • 我的关注
  • 我的文章
  • 投稿
  • 报料
  • 账号设置
  • 退出账号
旧版搜索
  • 新版搜索
  • 旧版搜索

历史搜索 全部删除

    热门搜索

      商业快报

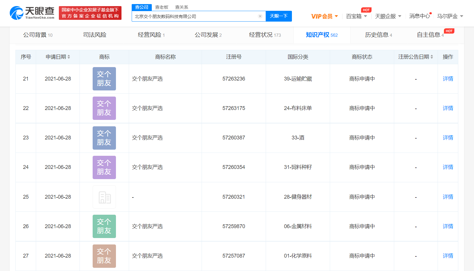
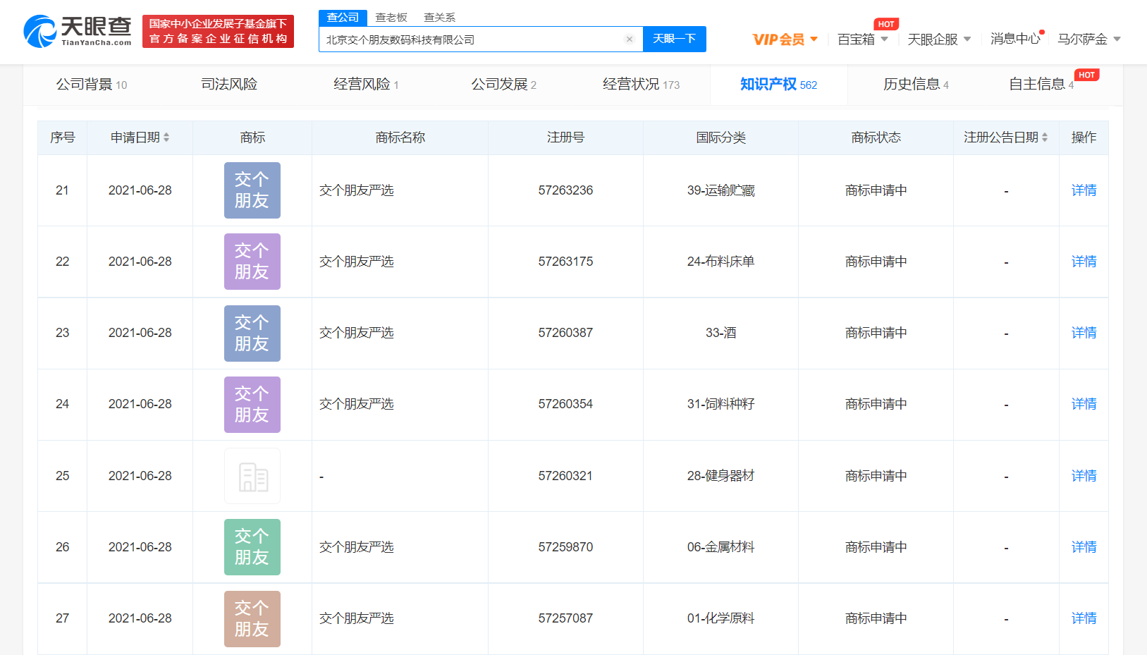
      罗永浩直播带货关联公司申请“交个朋友严选”商标

      界面快报 · 来源:界面新闻

      据天眼查APP显示,近日,罗永浩直播带货关联公司北京交个朋友数码科技有限公司申请多个“交个朋友严选”商标,国际分类为乐器、啤酒饮料、日化用品等,目前商标状态为申请中。值得一提的是,该公司此前曾注册“老罗严选”商标。

      未经正式授权严禁转载本文,侵权必究。
      点赞
      收藏
      看评论
      分享至
      微博分享
      微信分享
      QQzone

      评论

      暂无评论哦,快来评价一下吧!
      热门排行November 14
      • 影视飓风创始人Tim去相亲被嫌弃学历低又离异,其称公司年营业额过亿
      • 10月新能源汽车销量首超总销量的一半,多家车企交付量破纪录
      • 时代楷模“渝检护‘未’”团队代表:未成年犯罪的惩戒不是终点,是帮教挽救的起点
      • 神舟二十号航天员返回任务正有序推进,空间站组合体状态正常
      • 外交部副部长孙卫东就日本首相高市早苗涉华错误言行提出严正交涉
      • 苹果“松绑”小程序,抽佣降为15%
      • 苹果同意对微信小游戏抽成15%?腾讯总裁刘炽平回应
      • 腾讯三季度利润增长近两成,研发支出228亿元创新高
      • 货币政策在边际上加大宽松力度的可能性在上升|宏观晚6点
      • 直通部委|最高法:坚决防止以刑事案件名义插手经济纠纷 工信部:扩大动力电池应用场景

      上海界面财联社科技股份有限公司 版权所有 © 2014-2025 JIEMIAN.COM

      • 关于我们
      • 联系我们
      • 广告合作
      • 注册协议
      • 投稿须知
      • 版权声明
      • 举报及处置