一直以来,飞行汽车都是交通工具界的花边新闻。一年多以前,媒体上一度出现了有飞行汽车将要投产的新闻,导致不少科技粉误以为很快就要进入“泛飞行时代”。当然,最终关于飞行汽车投放市场的消息销声匿迹了。
最近,《华尔街日报》的一篇报道又将飞行汽车重新拉回到大众视线中。据悉,有两位知情人士透露谷歌联合创始人Larry Page私人投资了两家飞行汽车公司,并被形容为“Larry Page在互联网搜索领域之外,最新被披露的具有雄心的项目。”显然,飞行汽车项目因为Larry Page的加持变得“炙手可热”起来。

(Larry Page)
他是谁?
Larry Page有何魅力,让一个边缘项目成为媒体焦点?据了解,Larry Page是美国密歇根大学安娜堡分校的荣誉毕业生,拥有密歇根大学理工科学士学位和斯坦福大学计算机科学博士学位。1996年,Larry Page和Sergey Brin开始合作研究一名为“BackRub”的搜索引擎,到1998年上半年逐步完善这项技术后,两人合作运行Google搜索,并以PageRank为基础给网页排名;1998年9月7日,Google公司在加利福尼亚州正式成立;2011年Larry Page正式出任谷歌CEO ;2013年,Larry Page获选2013美国40岁以下最有影响力CEO,并以230亿美元资产荣登福布斯2013全球富豪榜第二十位。
简单的说,LarryPage属于IT界的传奇人物,这样一位传奇人物对飞行汽车项目产生兴趣,并注入大笔私人资金,自然而然地引发了聚光效应。另一方面,Larry Page曾公开的表达他的经营理念:“创新才是未来,而不仅仅是保持现有的实用性。很多公司一旦开始盈利,就会减少对研发的投入。的确,做你熟悉的事情确实非常容易。但是,过去的经验告诉我们,一旦停止创新,就很有可能被他人所超越。”
显然,飞行汽车项目完全符合LarryPage对行业创新的解读。更重要的是,一旦飞行汽车可以解决技术及法律方面的问题,也许能快速超越自动驾驶技术对市场的吸引力。

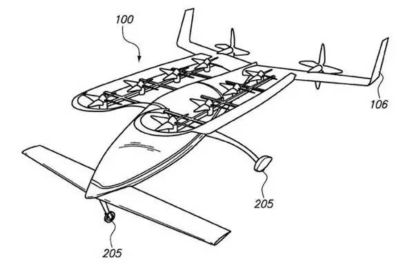
(Zee.Aero提交的专利申请文件)
未来目标?
据彭博社报道,Larry Page投资的这两家设计飞机汽车领域的公司——分别是Zee.Aero公司和Kitty Hawk的初创企业,这两家公司的总部均设在谷歌母公司Alphabet加州山景城总部的附近。其中,Zee.Aero公司的规模相对较大,拥有约150名员工,据称,该公司已在加州霍利斯特市的一个飞机场测试其飞行汽车原型。另一方面,Kitty Hawk则雇佣了数名工程师,正在从事自己的飞行汽车的设计。
据了解,自Zee.Aero公司2010年创立以来,LarryPage对该公司的投资超过了1亿美元。
知情人士表示,这两家飞行汽车公司是Larry Page的个人项目,与谷歌无关。而他之所以高调进军飞行汽车领域,肯定与其希望能影响互联网之外的产业有关,而未来能将该产业发展到什么地步,甚至改变未来人类出行方式,Larry Page目前还未向外界透露。
据了解,美国目前从事飞行汽车开发的公司大约有十几家,有业内人士表示,标榜“飞行汽车”更多是为了吸引眼球,实际上这是一种可以垂直起降的小型自动化飞行器。这种飞机器通常被设计为作为按需交通服务的一部分,未来可以满足人们的短距离出行需求,类似于Uber的共享乘车商业模式。

(赛羚)
“盟军”
据了解,Larry Page并不是唯一一个关心飞行汽车领域的IT大佬。
去年9月,丰田被曝光递交给美国专利商标局(U.S. Patent and Trademark Office)一项专利申请,而相关技术恰好与飞行汽车相关。据了解,美国专利商标局数据库公布的编号为20150246720的来自丰田的专利申请,带有“飞行汽车可折叠翼”。丰田最早2014年3月递交该申请。根据该项专利申请,飞行汽车的“车翼”可以改变形状,既可以折叠贴靠车顶,以汽车模式行驶,也可以完全展开用来飞行。
中国企业对于此类产品的兴趣也不小。就在丰田专利曝光的同月,在天津举办的直升机博览会上,中航工业也展示了一款名为“赛羚”的多旋翼无障碍汽车——据了解,这是一款以多旋翼飞行器技术为基础设计的“飞行汽车”,同时具备了汽车和直升机的双重特点,既有地面行走模式又有空中飞行模式,既能在复杂地面可控行驶,又可在必要情况下进行垂直起降,开展悬停、前飞、偏航等飞行;它的螺旋桨、动力臂可自动收藏也可自动放出,收藏时其外观与汽车一般无二。
据传,特斯拉创始人Elonmusk也考虑过开发飞行汽车和潜水汽车。(汽车商报-孙零零)


评论