界面新闻logo
  • 首页
    • 科技
    • 金融
    • 证券
    • 地产
    • 汽车
    • 健康
    • 地方
    • 硬科技
    • 文旅
    • 数据
    • ESG
    • 双碳
    • 电厂
  • 商业
    • 科技
    • 地产
    • 汽车
    • 消费
    • 工业
    • 时尚
    • 交通
    • 医药
    • 互联网
    • 创投
    • 能源
    • 数码
    • 教育
    • 食品
    • 新能源
    • 家电
    • 健康
    • 酒业
    • 物流
    • 零售
    • 美妆
    • 体育
    • 楼市
    • 家居
    • 餐饮
    • 日用
    • 企服
    • 珠宝
    • 腕表
    • 智库
    • 电厂
    • 农业
    • 出海
  • 财经
    • 金融
    • 投资
    • 证券
    • IPO
    • 宏观
    • 股市
    • 财富
    • 有连云
  • 新闻
    • 天下
    • 中国
    • 地方
    • 评论
    • 数据
    • 职场
    • 国是
    • 文娱
    • 影像
    • 营销
    • 大湾区
    • ESG
    • 双碳
    • 长三角
    • 中西部
  • 文化生活
    • 文化
    • 文旅
    • 生活方式
    • 美食美酒
    • 艺术
    • 游戏
    • 正午
    • 箭厂
  • VIP
    • 投资早晚报
    • 宏观晚6点
    • 打新早报
    • 盘前机会前瞻
    • 盘中必读
    • 风口价值
    • 调研早知道
    • 研报新知
  • 快报
    • 今日热点
    • 公司头条
    • 股市前沿
    • 监管通报
    • 财经速览
    • 时事追踪
  • 界面号
    • 财经号
    • 城市号
    • 媒体号
  • 视频
    • 界面Vnews
    • 直播
    • 箭厂
    • 品牌创酷
    • 番茄社
    • 商业微史记
    • 胡说财经
  • 专题
    • 新闻专题
    • 活动专题
  • Global
登录
  • 消息
  • 我的面点
  • 我的关注
  • 我的文章
  • 投稿
  • 报料
  • 账号设置
  • 退出账号
旧版搜索
  • 新版搜索
  • 旧版搜索

历史搜索 全部删除

    热门搜索

      商业快报
      乐乐茶

      乐乐茶申请注册“砂糖橘墩墩”商标

      界面快报 · 来源:界面新闻

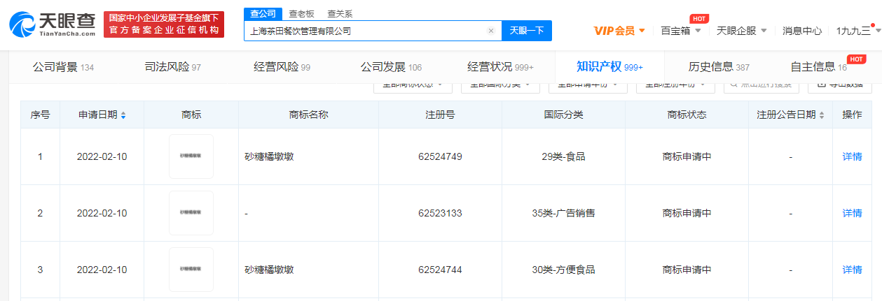
      天眼查App显示,2月10日,茶饮品牌“乐乐茶”关联公司上海茶田餐饮管理有限公司,申请注册多个“砂糖橘墩墩”商标,国际分类包括方便食品、广告销售等,当前商标状态为申请中。

       

      未经正式授权严禁转载本文,侵权必究。

      乐乐茶

      87
      • 乐乐茶北京最后一家直营店关闭,初代网红不香了13天前
      • 乐乐茶北京最后一家直营店关闭13天前
      点赞
      收藏
      看评论
      分享至
      微博分享
      微信分享
      QQzone

      评论

      暂无评论哦,快来评价一下吧!
      热门排行April 30
      • 【深度】大主播离职,东方甄选逃不出的困局
      • 奕境品牌总经理曾清林:50万元级大六座SUV市场仍有增量空间 | 2026北京车展
      • 汽车早报|余承东称尊界新车价格在200万左右 保时捷清仓布加迪股份
      • 微信朋友圈改版:文字移至配图上方,新增“时间轴相册”入口
      • 电商从“拼销量”转为“拼成本”,京喜争夺产业带商家
      • 汽车早报|比亚迪一季度净利润40.85亿元 特斯拉在美召回173辆Cybertruck
      • 偷税超900万被查,网红白冰多个平台账号被禁言
      • 百度开启职级体系大变革:取消字母标签统一为数字
      • 汽车早报|理想汽车正式进入阿联酋、沙特阿拉伯市场 日产汽车3月全球销售额同比下降7%
      • 宇树科技赢了!最高法院认定其遭恶意诉讼

      上海界面财联社科技股份有限公司 版权所有 © 2014-2026 JIEMIAN.COM

      • 关于我们
      • 联系我们
      • 广告合作
      • 注册协议
      • 投稿须知
      • 版权声明
      • 举报及处置