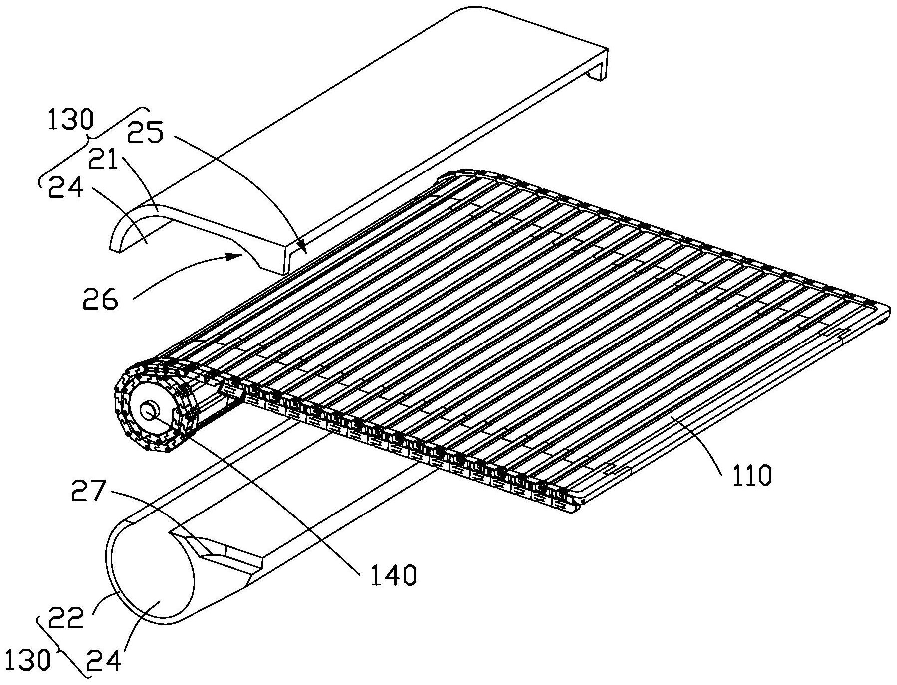
天眼查App显示,5月6日,华为技术有限公司“柔性屏支撑机构及可卷曲的电子设备”专利获授权。专利摘要显示,本申请提供一种柔性屏支撑机构,相邻的支撑组件之间通过第一转动轴连接;转动组件与支撑组件通过第二转动轴连接,相邻的转动组件之间通过第三转动轴连接;转动组件可翻转并在两个状态之间转换;当转动组件处于第一状态时,柔性屏支撑机构能够卷曲;当转动组件处于第二状态时,柔性屏支撑机构不能卷曲。本专利申请结构简单、收纳空间小,且可适用于便携设备。

来源:界面新闻
天眼查App显示,5月6日,华为技术有限公司“柔性屏支撑机构及可卷曲的电子设备”专利获授权。专利摘要显示,本申请提供一种柔性屏支撑机构,相邻的支撑组件之间通过第一转动轴连接;转动组件与支撑组件通过第二转动轴连接,相邻的转动组件之间通过第三转动轴连接;转动组件可翻转并在两个状态之间转换;当转动组件处于第一状态时,柔性屏支撑机构能够卷曲;当转动组件处于第二状态时,柔性屏支撑机构不能卷曲。本专利申请结构简单、收纳空间小,且可适用于便携设备。

评论