记者 |
中信信托“踩雷”新华联控股债券的细节浮出水面。
近日,中国裁判文书网公告,中信信托与新华联控股有限公司(简称“新华联控股”)之间的公司债券交易纠纷案,已由北京金融法院审理判决,5份二审判决出炉。
判决要求,新华联控股偿还中信信托债券本金合计2.13亿元,并给付自2019年3月24日起至2021年3月23日止的利息合计3195万元,以及逾期利息、律师费。
具体来看,背后涉及中信信托超26亿元的“信赢”系列产品。
2016年3月,新华联控股作为发行人,公开发行2016年公司债券(简称“16新华债”),发行规模17亿元,债券期限5年,其中前3年票面利率为6.5%,后2年票面年利率为7.5%。债券受托管理人为申万宏源证券。

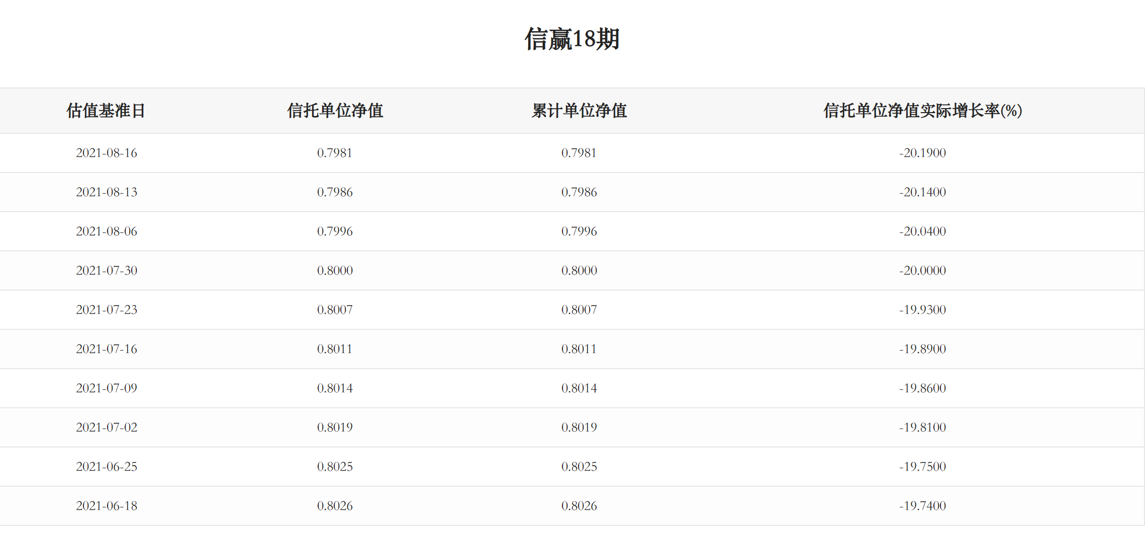
就在“16新华债”进入7.5%年利率期间,2019年3月至8月,中信信托陆续成立了信赢11期、12期、13期、15期、18期等5期产品,信托产品规模分别为7.97亿元、7.61亿元、2.19亿元、5.60亿元、3.19亿元,合计26.56亿元。
这5期产品实际上均为分层型证券投资集合资金信托计划。以信赢11期为例,7.97亿元的信托产品中,优先级1类信托本金为6384万元,优先级2类信托本金为31566万元,优先级3类信托本金为21774万元,次级信托本金为20000万元。
“16新华债”的投资本金最低为2000万元(信赢13期),最高为7500万元(信赢11期)。持仓占比均超5%,信赢11期、13期、18期的持仓占比均在9%以上。
值得注意的是,13期、15期、18期的投资顾问均为国盛证券旗下的资管子公司国盛资管。2020年7月,国盛证券因“隐瞒实际控制人或持股比例,公司治理失衡”而被证监会接管,期限为一年。2021年7月,证监会宣布接管期限延长一年。
2020年2月,大公国际将新华联控股主体信用等级下调为C,“16新华债”信用等级下调为CC。东方金诚也将新华联控股主体信用等级下调至A+,评级展望为负面。
紧接着2020年3月,新华联控股发布公告,截至到期兑付日终,公司未能按照约定筹措足额兑付资金,“15新华联控MTN001”不能按期足额兑付本息约10.7亿元,已构成实质性违约。
新华联控股表示,受新型冠状病毒肺炎疫情不可抗力因素的严重影响,公司所属文化旅游、商业零售、景区景点、酒店餐饮、石油贸易等业务遭受重创,1-2月减少经营回款超过60亿元,加之持续受到“降杠杆、民营企业融资难发债难”的影响,偿付贷款和债券导致现金持续流出,流动资金极为紧张。
2020年5月起,上述5期信赢系列产品单位净值纷纷跌破1元。最后披露的单位净值中,信赢18期已低至0.7981元。
风险出现后,中信信托迅速找到律所,准备对与新华联控股债券违约纠纷发起诉讼。
2021年3月,“16新华债”正式到期,新华联控股无法兑付本金并按期支付利息,已经构成违约,中信信托直接以诉讼方式向新华联控股追索。
2021年12月,一审判决出炉,北京市通州区人民法院对新华联控股以遭遇新冠疫情为由要求延长履行期限、减免利息的抗辩意见进行驳斥。
一审法院认为,本案所涉债券系新华联控股发行的5年期债券,自2020年3月24日即未能支付该期利息,2020年2月虽发生疫情,但距公司支付利息的期限仅一个月,疫情的发生不足以影响公司履行给付义务,且根据案涉《募集说明书》募集资金拟用于偿还借款及补充公司营运资金,亦非疫情明显相关事项。加之,截至债券到期日公司亦未能履行到期债券的兑付义务,故新华联控股以疫情为由抗辩延长履行期限、减免利息,不成立。
随后,新华联控股上诉至北京金融法院,法院判决驳回上诉,维持原判。
新古律师事务所主任律师王怀涛告诉界面新闻记者, 在2020年2月至6月期间,最高人民法院陆续颁布了五个审理涉新冠疫情案件的指导文件,文件要求人民法院要严格把握不可抗力的适用条件,综合考量疫情对不同地区、不同行业、不同案件的影响,准确把握疫情或者疫情防控措施与合同不能履行之间的因果关系和原因力大小。本案中一审法院认为疫情不足以影响合同履行,据此驳回新华联适用不可抗力的抗辩请求,符合司法实践,二审中新华联仅对律师费部分不服,没有对一审其他部分上诉,也可以看出新华联对此问题的认识。
从信托公司的角度来看,如何才能让投资项目更加“稳妥”?一位信托业内人士称,需要风控措施比较精准,对债券的评级比较客观,信托公司更要有一定的投研体系和分析能力,并且对这些风险项目进行实时盯控。也就是说,事前、事中、事后各个环节都做到位,才可能减少违约传导的负面影响。而这些需要人才、经验、技术系统等等。
中信信托2021年年报显示,公司信托资产规模为9787.78亿元,同比减少20%。其中,证券投资类信托3071.65亿元,较2020年增加500亿元。2021年度清算证券投资类信托项目148个,合计金额328.53亿元,加权平均实际年化收益率为5.26%,较股权投资类、融资类信托项目低2个百分点。



评论