文|公司研究室酒业组 淮上月
前几年的酱酒热,催生出许多乘势而起的新品牌,肆拾玖坊就是其中一家。公开信息显示,这家2015年问世的酱酒企业,2021年底营收已突破20亿,年增长率超过100%,成为白酒圈“现象级”企业。
不过,野蛮生长的肆拾玖坊,在圈内外的口碑也两极分化,有人看好其“互联网+白酒”商业模式,称其为白酒业新物种;也有人认为这种披着互联网外衣的“圈层营销”,其实就是“拉人头传销”。
公司研究室仔细梳理了肆拾玖坊成立以来的种种信息,去掉喧哗的口水与华丽的包装,逐步还原其问世以来从借鸡生蛋,到收购酒厂,再到对外融资、投资建厂的发展过程,至于公司操盘者的种种经营手段,留待市场评说。
01、借鸡生蛋,贴牌生产
“我们就是出原材料和技术工人,监督生产,然后每个轮次回收。实际上就是为了解决我现在没有那么大的酒厂。我这是借鸡生蛋,不求所有,但求所用。”——张传宗
肆拾玖坊的问世,源于创始人张传宗2014年的一次茅台镇之行。这趟计划外的差旅,让这位联想集团的IT营销高管,发现了酱酒市场的巨大商机。
在市场上调研一番后,张传宗发现:传统的白酒业利益链条冗长,渠道商层层瓜分多半的利润空间,更重要的是,市面上流通的多数白酒没有相对统一的标准。利润丰厚,中间商盘剥厉害,缺乏统一标准……这些发现让这位山东汉子决心下海创业。
2015年,张传宗在朋友圈发了一条消息:“别人临渊羡鱼,我们退而结网,与其吹别人的牛,不如讲自己的故事。”很快,四十多位商界朋友应声而来,每人投资10万元,肆拾玖坊由此诞生。
成立肆拾玖坊之前,张传宗干了半辈子IT,转行创业属于典型的外行跨界酿酒,一切从零开始。正因为如此,外界一直质疑肆拾玖坊成品酒出处,怀疑其真实产能。换句话说,不少人认为,肆拾玖坊实际上是贴牌生产。
有机构调查称,“2015年至2018年,S拾玖坊的基酒供应全部来自其在茅台镇的合作者——P程酒业。P程酒业主要以生产碎沙和翻沙基酒为主,其最大产能不到500吨。据有关行业媒体报道:P程酒业老板T驰2015年与S拾玖坊开始合作,随后,T驰联合茅台镇十几家不同规模的小酒厂给S拾玖坊提供基酒。”
公开信息显示,鹏程酒业老板汤驰发起成立茅台镇酿酒产业联盟,这个旨在整合茅台镇酿酒资源的共享组织拥有14家会员企业,整体年产能约8000吨。张传宗介入酱酒行业初期,汤驰应该是其最重要的合作伙伴。
有行业媒体报道称,“2020年初,鹏程酒厂正式完成与社群经济公司肆拾玖坊的合伙改制,作为两个独立运行的公司,改制后鹏程酒厂将与肆拾玖坊交叉持股,鹏程酒厂董事长汤驰负责产业链上游的产品生产等事宜,肆拾玖坊创始人张传宗则负责肆拾玖坊的整体运营。”
事实上,在有关汤驰的媒体报道中,不止一次提及他参与孵化了肆拾玖坊这个品牌。
对于上述产能质疑,张传宗在接受媒体采访时,事实上做了间接承认。
“首先,在过去的几年里面,我们往茅台镇投资、累计已经投进来的钱超过10亿元……基本上赚的钱都投过来了,大概十几个亿,收购了茅泉、鹏程、国联等4个厂。
我们还通过租赁窖池,加上联盟酿酒,就是类似于来料加工,给它出原材料、出技术工人等等,这样团结了10家酒厂来给我们酿酒,现在的产能差不多在1万吨。
我们就是出原材料和技术工人,监督生产,然后每个轮次回收。实际上就是为了解决我现在没有那么大的酒厂。我这是借鸡生蛋,不求所有,但求所用。”
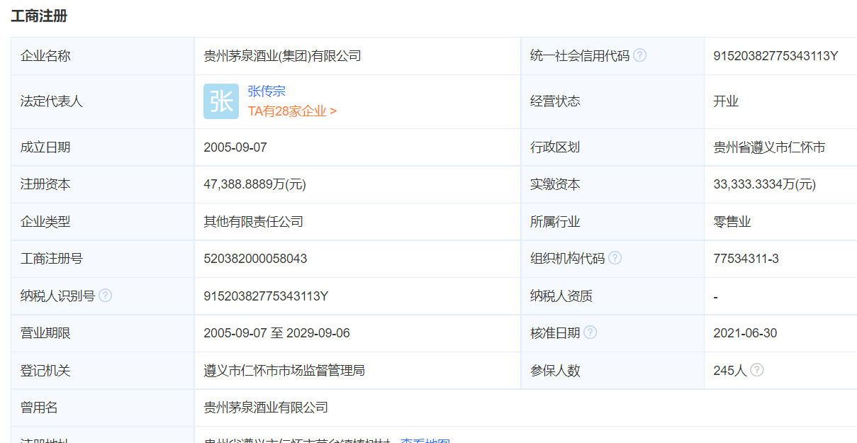
公司研究室注意到,多方信息显示,张传宗所说的收购4个酒厂,其中,鹏程酒厂目前仍在汤池名下,茅泉酒业是汤池在2017年收购的,有消息称2021年5月才转让给肆拾玖坊。工商注册信息显示,贵州茅泉酒业(集团)有限公司于2021年6月30日核准成立,当时,公司法人代表已是张传宗。至于其余的厂子,多是储存基地,且尚在建设中。

事实上,从酱酒走红以来,不止一家酱酒企业进行贴牌生产,只是肆拾玖坊在宣传中称,在茅台镇拥有万吨级酱酒产能的酒厂,拥有数万吨级酱酒储备的酒库,这才引起市场强烈质疑。
02、社群营销拉人头,涉嫌“打传销的擦边球”
“我们经常请客户到茅台镇来,一来来几百人。我们还有行酒令、喊口号。一看这形象,挺像传销的。我们还统一服装。”——张传宗
不管酱酒是哪里来的,卖出去才是关键。这时候,做了半辈子IT销售的张传宗,开始发挥其营销特长。他一反传统白酒厂家一边打广告,一边建渠道的玩法,而是借助互联网社交优势,搞起“圈层营销”。
有人说,这不过是将联想当年的分销玩法,直接移植到白酒行业。事实上,肆拾玖坊创立以来的核心团队,主要来自联想集团。不过,由于张传宗将简单的总公司—分公司—消费者的关系,包装成总舵—分舵—堂口—社群,而且辅之以喊口号行酒令搞聚会的形式,给人以强烈的白酒版 “拉人头传销”印象。
具体操作中,肆拾玖坊采用的是“1万元押金、1万元买货,众筹给低价,二级众筹加价卖”的模式,在业内人士看来,这就是“直接把货压给众筹股东”。

对此,张传宗是这样说的:
“我们就是两层渠道。我理解为什么有人会给我扣帽子?人家怎么不给茅台扣帽子呢?为什么容易给我们扣帽子呢?一是因为我们当初的众筹、众创,我们几个人开店、开公司,咱就人多嘛,然后自然朋友也多,这是众创开店。第二个用户体验,我们经常请客户到茅台镇来,一来来几百人。我们还有行酒令、喊口号。一看这形象,挺像传销的。我们还统一服装。”
“面对新事物,眼见为实,我们就是两层渠道。为什么被误解?新时代很多新物种都是被误解的。阿里刚起步的时候,也被当着骗子。新时代要基于用户体验,基于用户体验的公司,很容易觉得人多。连接用户,线上是社群,线下是社交、是活动。‘握十次手不如喝一顿酒’。”
对于肆拾玖坊的社群营销,外界非议不少。一位反传销多年的人士称,从肆拾玖坊的众筹模式来看,满足“入门费”和“拉人头”两个条件,暂时没有发现第三个条件“团队计酬”,即 通过直接或者间接发展的人员数量或销售业绩来给上线计酬或者返利。“不管打着什么旗号,穿着何种马甲,同时具备这三个特征就涉嫌传销。”
有媒体报道称,一位肆拾玖坊分舵股东称,平台根据拿货的多少设定分红比例,也就是说拿货越多分红比例越高,上级可以分下级的拿货提成。如果属实,那么,肆拾玖坊的营销模式就具备了传销的全部三个特征。

03、千斤坛被质疑一女三嫁,质量数量收益遭非议?
“还有人说卖千斤坛,一个坛‘一女三嫁’,那不是往后要出事吗?我们的身价用得着干这些东西?我们把挣的钱,都傻傻乎乎的投到这儿来了。”——张传宗
不过,公司研究室仔细梳理了有关信息后发现,肆拾玖坊最大的隐患不是涉嫌传销的营销模式,而是其主打产品之一的坛装酒“千斤坛”,这款产品已经成为肆拾玖坊的爆款产品,名字叫“独孤求败”。
在关于千斤坛的十问十答中,肆拾玖坊这样解释:顾名思义,千斤坛就是盛装了1000斤美酒的坛。按照十问十答里的说明,茅台的千斤坛150万/坛起,国台的千斤坛也是50万/坛起,与同类产品比肆拾玖坊千斤坛性价比超高。因为肆拾玖坊的千斤坛一开始是10万/坛起,后来是16.8万/坛起。

外界对肆拾玖坊千斤坛的质疑主要集中在3点:一是存储的酒品质量;二是千斤坛的实际销量;三是千斤坛的收益兑现。
有机构调查后称,“ S拾玖坊宣称的国联基地、五马基地至今还未建成投入使用。而S拾玖坊用于存储‘千斤坛’的封坛酒基地只有P程酒厂一处。那么,S拾玖坊已销售的13800坛‘千斤坛’中,其他的8000多坛去了哪里呢?显然,一种情况是S拾玖坊采取了在同一地点,重复封坛、一坛多卖方式;第二,S拾玖坊存在虚报‘千斤坛’销售数据的行为。”
13800坛这个数据,是这家机构根据肆拾玖坊千斤坛这几年的销售业绩与每坛销售均价推算出来的。对此,张传宗的说法是:“还有人说卖千斤坛,一个坛‘一女三嫁’,那不是往后要出事吗?我们的身价用得着干这些东西?我们把挣的钱,都傻傻乎乎的投到这儿来了。”
客观地说,这个辩解不是太有说服力,赌咒发誓并不能说明问题实质。
据上述机构调查,肆拾玖坊封坛仪式搞得很热闹,但大家在封坛前并没有被安排对自己封坛的酒体进行品鉴。“据一位广东地区的S拾玖坊股东级合伙人介绍。他和他的几位合伙人2017年封了多个‘千斤坛’。2020年,他们满心欢喜来到S拾玖坊P程酒业封坛基地,准备开启‘千斤坛’灌装一部分发回广东自用。结果开坛后的酒体被他们一同来的懂酒的朋友打开一品尝,才发现已经储存了3年的所谓优质酱酒,竟然与茅台镇一些小酒厂的低质酒体一般无二,令他们大为震惊”。
此外,据这家机构调查,2016至2018年,S拾玖坊口头承诺给客户的是每坛“千斤坛”的年化收益率20%,6年后一并兑付。但据曾参加过封坛的有关人士透露,年化收益率20%是口头承诺,并未签进合同条款。据悉,近年来有部分内部封坛者人闹事。S拾玖坊担心引发封坛酒挤兑潮,因此采用息事宁人,个别解决逐一应对。为了规避封坛酒收益兑付的风险,大约从2020年起,S拾玖坊不再向客户承诺20%的年化收益。
有分析人士称,如果上述情况属实,那么,千斤坛无疑是肆拾玖坊发展中的重大隐患。千斤坛产品,金额大,周期长,目前已成为肆拾玖坊的吸金利器,已占公司销售总额的30%。这些钱,理论上可以被公司至少使用6年,一旦出现挤兑,那对公司现金流的影响将是巨大的;至于20%的年化收益承诺,如果属实,那更是一颗定时炸弹。
04、50亿逆势建厂,估值200亿是个什么牛皮?
“对我们来说50个亿的估值太少了。我们认为我们自己应有的市场价值,在此刻,其实至少应该是200亿。”——张传宗
2022年4月,媒体报道称,肆拾玖坊万吨酿酒基地兰家湾项目奠基仪式,在茅台镇椿树村兰家湾成功举办。
公开信息显示,肆拾玖坊兰家湾项目,预计投资额50亿元。一期工程计划年底投产,实现5000吨大曲坤沙酱酒产能;二期工程建成之后,项目总产能将达到约1.2万吨。
对此,有业内人士分析,“肆拾玖坊这几年经过高速发展后,已经解决了前期启动阶段的问题,要想继续快速增长就必须解决品质问题。”要解决品质问题,依靠借鸡下蛋显然不是长久之计。
兰家湾项目50亿的投资,依靠肆拾玖坊自身目前的积累肯定不够,即使算上千斤坛销售沉淀下来的资金,恐怕也还有大约20亿的缺口。于是,肆拾玖坊开启了对外融资。
根据官网显示,2021年4 月,肆拾玖坊宣布完成由凯辉基金领投、保乐力加旗下的创享欢聚投资基金跟投的A轮融资。同年7月,肆拾玖坊宣布完成6亿人民币B轮融资,本轮融资由CMC资本独家投资。当时,肆拾玖坊创始人兼CEO张传宗公开表示,肆拾玖坊估值已达80亿元,成为白酒独角兽企业。
对于肆拾玖坊的估值,不少人怀疑有些虚高,并以1919估值对比。对此,张传宗表示。
“ 1919搞了那么多年,才六七十个亿是吧?1919能跟我们能比吗?不一样的。在酒行业里面我们一定要清晰,品牌比渠道重要多了。我跟很多投资人都说,你们要投一定要投品牌。品牌每年都涨价是吧?涨出来都是利润。渠道商你敢涨一分钱?渠道商都是说我的品种比别人多,我的价格比别人便宜,是不是?因为他没有定价权。”
“改革开放40年了,下一个20年、下一个40年,主要是消费市场的升级,美好生活消费升级,以及产业重构、产业升级,产业互联网。这些概念之下,比如说喜茶、完美日记、元气森林,都是典型的消费品,动辄估值千亿美金,千亿人民币都是很庸常的。所以对我们来说50个亿的估值太少了。我们认为我们自己应有的市场价值,在此刻,其实至少应该是200亿。”
在肆拾玖坊A轮融资完成后,一位投行界人士对媒体表示,肆拾玖坊炒作的可能性较大。
“私募阶段如果对于融资的关键信息,比如投资人、投资金额、业绩等缺少透明度,那么基本上融资金额可能存在水分。此外,这家公司作为酒类经销企业,销售额应该只是流水,所以收益率应该不高。用市销率来撑估值,都是因为利润表现不佳,一般传统产业用市销率缺乏合理性,毕竟很难像互联网服务行业保持长期高成长。”
张传宗拿完美日记来打比,可是,他只讲了完美日记IPO时的估值,却没有提及其上市之后市值已跌成了渣,股价最低跌到0.39美元/股,甚至被交易所发出退市警告。

不过,外界的议论似乎没有影响肆拾玖坊对外融资的步伐。企查查APP显示,肆拾玖坊所属企业肆玖酒业于2022年5月下旬获得国资背景的贵州新动能1.3亿元投资。肆玖酒业注册地正是肆拾玖坊兰家湾项目所在的椿树村,因此,贵州新动能显然是奔着肆拾玖坊新建产能基地去的。

从采购基酒,收购酒厂,直至投资建厂,肆拾玖坊正以“曲线救国”的方式,讲述一个从无到有的跨界酿酒故事。眼下,这个故事,张传宗为核心的肆拾玖坊团队还在继续讲,最终是成为新零售传奇还是被证实为割韭菜吹牛,市场正拭目以待。


评论