文 | 五环外OUTSIDE 邓晓萱
编辑 |车卯卯
广东有一群这样的女孩,她们的生活从小不缺乏物质,即便成长在非一线城市。
当改革春风率先吹向南粤,除了珠三角,粤北、粤东和粤西各地的民营经济开花,这些女孩的父母敢为人先,成为当地先富起来的企业家。纵使家庭尚未达豪门标准,但能在时代洪流中站稳脚跟,也给儿女们积攒了普通家庭难以追赶的财富。
这些女孩不似男性企二代一样被父母在家族事业的传承上被寄予厚望,但也从没被冷落。企一代们在经济上从不亏欠他们的下一辈——女孩们从小被富养,吃穿用度均不愁。
这些女孩们到了谈婚论嫁的年龄,“想要什么就有什么,将来不至于被一块蛋糕骗走”是她们父母辈的初心。但社会不只有蛋糕,还有甜言蜜语包裹住的欺骗,保护得太好也容易成为婚恋市场异性攀峰的猎物。
这些女孩们带着父母的财富与底气谈婚论嫁,结果却是,她们会比普通女孩有更高的概率遇到各方面不如自己的伴侣。
原本在岸上的她们,选择跳下水,接纳选择自己眼中的“真命天股”。
从后视镜的视角看这种单向奔赴的婚姻——生活的苦远大过荷尔蒙的甜,从女孩们决定跳下水的这一刻,便与曾经的养尊处优和无忧无虑划下了分割线。
潜力股的反杀:千金散尽不归来
法院强制执行判决书下来以后,罗梦朦觉得这辈子到头了。
她被查封了名下所有资产;只保留深圳最低生活标准2360元的工资,其他全部强制扣取。
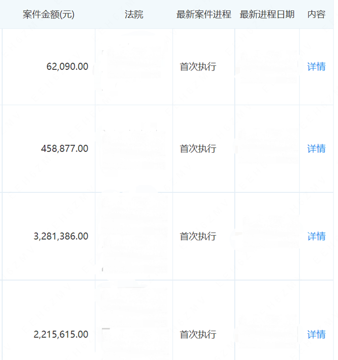
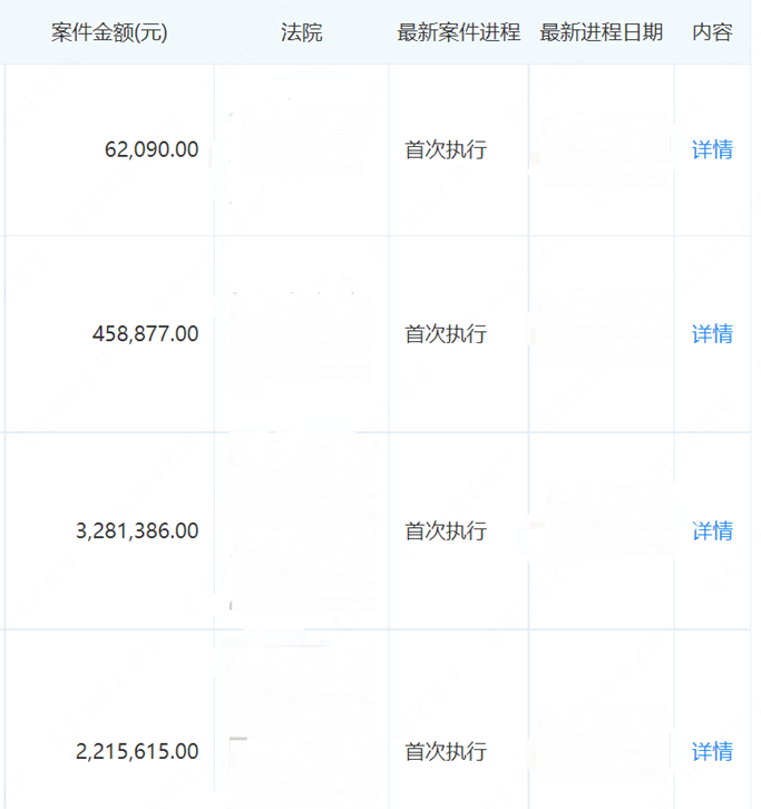
罗梦朦至今不敢相信,当初自己选中的老公,作为大家交口称赞的潜力股,会让自己背上8个司法案件,纠纷金额高达1000万元。

企查查显示的罗梦朦涉及的司法案件统计(图源:企查查)
罗梦朦是粤北人,父亲是当地数一数二的石材老板,供应了珠三角数个知名工程的石材整体承包设计项目。罗梦朦老家的别墅,直接买下了当地别墅群中4栋风水最好的,打通形成联排,外立面全部改成大理石结构,在砖石结构的别墅群里最是鹤立鸡群。
这里,曾为罗梦朦婚前的生活遮风蔽雨;但这里,也是罗梦朦现在回不去的家乡。
罗梦朦对经商不感兴趣,但这没关系,父母和长兄撑起了家中生意。
作为小女儿的她,2017年毕业后就考入深圳福田一三甲医院的事业编。考上当周,父母便为她付了七成首付,敲定一套总价九百六十万,距离她工作医院驱车不过15分钟的三室二厅。
不管是创一代还是拆一代的广东父母,对公务员和事业编都带有彩色滤镜,这两个职业意味着孩子的后半生有了除了财富和自己以外的另一个托底。罗梦朦父母兴高采烈请了策划团队,在自家别墅摆了数十桌庆祝女儿得偿所愿。
本是一场最开心的宴请,却给罗梦朦和她的父母带来了此生最错误的缘分。
在这里,亲戚给罗梦朦介绍了年龄相仿、同在深圳工作的小伙,只不过,他经营着一家小电器电商贸易公司。
宴请初见,罗梦朦和父母都没看上这个小伙,毕竟双方家境悬殊,虽然男方事业小有成就,但男方父母仅做些批发贸易的小生意。
然而初见的不满抵挡不住小伙子猛烈追求。罗梦朦想要的,小伙二话不说就买,深圳的罗梦朦想喝上一盅广州的椰子炖鸡,男生立即往返200公里买回。
另一边,小伙常找罗梦朦家人关心请教,上至罗梦朦的外公外婆,下至襁褓中的,没有一个没收到过男生的礼物和关照的。

罗梦朦至今保留着男生往返200公里给自己买炖汤的照片(图源:罗梦朦)
嘴巴抹了蜜,行动迅速上道,石头最终也能发芽。罗梦朦看上了他的上进又用心;罗梦朦父亲在小伙身上看到自己曾经的模样。被父母肯定的感情,恋爱、结婚、生子,一切都井然有序。
只不过,当爱情上升到婚姻,利益实现捆绑,再怎么不懂商业,也无法置身事外。
罗梦朦知道电商需要资金囤货,她成为丈夫向不少商业机构贷款时的担保人。同时,她和父母常拿出数十万借给丈夫;由于丈夫每次都在约定时间连本带息还,罗梦朦父母甚至只要女婿一句话,就能为他拆借出上百万的过桥资金。
看着家里购置的新车、多出来的名家字画及出手越来越大方的丈夫,罗梦朦和父母都有潜力股养成的欣慰感。
雪崩不算无声,2021年中,她常接到贷款机构催债电话,开始她没在意,只是按“不清楚”做回复。直到9月中旬丈夫借口出差迟迟未归,自己的亲戚朋友找父母索要丈夫借的钱,甚至直接闹到了孩子的托班门口,她才知道丈夫向父母和自己亲戚七拼八凑借了不下两千万。

罗梦朦丈夫借款的部分立案金额(图源:罗梦朦)
当警方找到罗梦朦的丈夫时,他双眼无神,不断囔囔“要钱没有,烂命一条”,8位数的借款原因才揭开——脚踏实地经营公司的能力撑不起他想快速出人头地的欲望。早在2021年初开始,他就挪用公司资产杠杆炒期货和赌博,套甲还乙直至爆仓。
牢饭是罗梦朦丈夫的结局,但总有人要兜底消失的人民币。
罗梦朦父亲一夜白头——借给女婿的钱是从生意伙伴上周转而来,疫情业务缩减的他,他没有办法还清借来的钱,拿上了家里的固定资产做了抵押;此前疼爱自己的亲戚们,现在反手将罗梦朦告上了法庭。

罗梦朦的朋友圈背景
曾经每日分享生活的罗梦朦,如今的微信状态,只剩下一条横线。
通过婚姻成就自我的“小镇赘婿”
2019年十一,为了搞定东莞的准岳父母,32岁的陈斌以2000元一天的价格租了辆广东中年人都喜欢的雷克萨斯LS,后备箱装了精心准备的8大件礼物套盒,期冀初次见面,能给准岳父母一个好印象。
“夸张化”演绎这件事,陈斌不是第一次做。他和朋友合伙成立了一个时尚工作室,主要负责商务对接,当初在向女友介绍自己时,却将合伙人说成是员工。
四个人的饭桌,每个人都用上了公筷,这一饭桌细节让陈斌感觉岳父母瞧不起自己。陈斌来自粤西,父母务农;准岳父母是东莞old money,早年享受了电子加工业向东莞转移的红利,开电子厂赚来的钱早已变成资产和投资,散落在珠三角数个区域。
好不容易打破沉默,准岳父母直奔主题,要88万彩礼和婚房。
陈斌当然拿不出来——在广州无房无车,虽然自己有工作室,但订单断断续续;这个工作室,还是自己和女朋友同居的处所,5000元每月,两房一厅,一房以及客厅用来办公,另外一房拿来居住。

陈斌的工作室结构,将次卧和客餐厅改成办公场所(图源:安居客)
陈斌早预想到岳父母会提钱,但他没想到那么多,毕竟在广东,两三万的彩礼象征一下就够了。

2020年不同省份彩礼均值,广东排名倒数第七(图源:谷雨数据)
陈斌还没向准岳父母说出自己难处,就被小他5岁的女友抢先一步。她一句“我怀孕了”,把餐桌的战火引向了她。
女友英国硕士回来后在艺术领域创业,两人在一次拍摄中相识。女友爱玩,与陈斌确认关系后,陈斌借甲方出钱拍摄的机会带她玩了许多国内高端场所。

陈斌女朋友此前在社交平台的打卡,有多个是随陈斌工作前去(图源:陈斌)
“她挺适合结婚的”,多次和朋友吃饭的时候,陈斌发表这个说法。虽然女友不是很漂亮,但她常开她的保时捷来探班,手握保时捷方向盘感受很棒;女友还会带自己参加行业盛会,陈斌因此结识了不少圈内人。
迫于未婚先孕的压力,准岳父母最终败下阵同意了这桩婚事。只不过,彩礼依然没松口,岳父让陈斌签分期付彩礼协议书——第一年给10万,第二年给20万,第三年给50万,孩子暂跟女方姓,直到给足彩礼钱。

陈斌彩礼协议书(图源:陈斌)
陈斌当然不愿,自己老家从来没有孩子跟妈妈姓的说法,要是真成了,自己就倒插门了,广东哪有入赘的,自己面子往哪搁。
想法的动摇来源于女友的陪嫁——岳父承诺,陈斌出多少钱,他们就出1.5倍的陪嫁,并且再陪嫁一辆车;况且,女友是独女,可以想到未来岳父母的帮扶少不了。
婚事进展顺利,女友主动提起领证,尽管三年间,陈斌只在第一年拿出了10万元的彩礼。
今年国庆,我拜访了陈斌在海珠的工作室——依然是原来的两房一厅,只是原本放满了样衣的客厅现在放满了微商的减肥酵素。
陈斌妻子做起了微商,她的朋友圈已从旅游打卡变成了每日的减肥产品广告;但陈斌的朋友圈依旧显示自己的格局——旅游拍摄一个没漏,只不过微信介绍里,多了一个原先妻子公司的创始人称号。
陈斌的妻子接待了我,她疲惫地陪着小孩玩耍“现在是我自己在带,本来我婆婆要帮我们带小孩的,但是我爸不愿意改小孩的姓,我婆婆就不来了”。
4年前,陈斌妻子带男友见家长遭到父母反对时发的朋友圈,“我喜欢的他很优秀,我找到了能陪伴我一生的人,我不需要不是我创造而来的房子、车子和票子”。

陈斌妻子在带陈斌回家见父母后发的朋友圈
现在,当我问及未来的打算,这次,带孩子回东莞读书是她想都没想就给出的答案。
“向下兼容”的失衡婚姻
婚姻,是被歌颂的,也是被祝福的。
然而,放弃自我的独立,把金钱假手于人,不能独立掌控财富,容易踩上深坑,付出的代价就越是庞大。
上世纪七十年代珠三角的特殊创业氛围,赶上了“只生一个好”的方针,只有一个独苗苗的企一代不在少数。
普通人尚有三个口袋、六个口袋的帮扶,这些女性企二代虽不至豪门,但相对普通人而言,财富的代际传递更是一座翻不过的大山。
这些女孩特殊的家庭资源相当于男性,女承父业也是企一代的期冀。然而一代人有一代人的使命和格局,不是所有的她们都愿意接纳父母辈的财富,也有很多女性企二代不愿躲在父母羽翼之下,无心家族行业,或者没有能力做到顺利接棒。
他们把希望押注在婚恋上,输得一败涂地。一边,没有手握财产的企二代女孩们费钱又费心,用面包换来了感情;另一边,企一代奋斗了大半辈子的财富在交于女儿和她挑中的“潜力股”的那一刻,便与不确定性再次结了缘。
金钱不对等的婚姻会带来一定的痛苦,但论付出的代价而言,独立女性也会更能接受。
曹敏不算是富二代,她从事金融行业,年薪七位数。1年前,她和小她三岁的老公玩机车认识不到一个月就立马领证。
嫁给能力比自己弱的人,她心知肚明,“我不喜欢找比自己优秀的男人”。
然而,拿证第二天,她就后悔了,因为“跟他在一起很丢人”跑去出差工作躲避了2个月。
摩托是个烧钱的爱好。一辆杜卡迪鸰速,二手便要13万,随便改装便是四五万,对于百万年薪的曹敏来说,从决定到买下不过一两月。但对曹敏老公来说不同,国企合同工每月到手不过万,因为玩摩托积蓄没有,连出去吃饭也拿不出钱买单。

杜卡迪是摩托车圈中的法拉利(图源:杜卡迪官网)
她反感他的物质攀比,财富的差距带来三观悬殊,就在婚姻的过程中赤裸裸展现出来。
摩友群里,当一个骑友晒出了一个价值超过一万元的骑行头盔后,曹敏丈夫反手晒出个价值超3万的ARAI骑行头盔购买截图,追问后才知道丈夫发完截图就退了,原因不想别人看不起。没钱不是原罪,错的是穷造成的敏感自卑和夸大的虚荣心。

Arai骑行头盔,并不便宜(图源:淘宝)
从反感到厌恶,来自扶贫下嫁的无底线索取。
曹敏除了机车还喜欢马术,这也是一项烧钱的运动。玩之前先要花费两万五办个卡方可入会,入会后一鞍时45分钟是200元,一次2鞍时起步;如果想更进一步,马的价格六位数,马的装备也是五位数起步,吃喝拉撒另算。
知道媳妇玩贵族运动,婆婆也开始鼓励儿子和曹敏一起去玩,曹敏随口说了句“他哪有钱”,婆婆立即回答“刷你的卡”。
或许是平常曹敏对丈夫一家出手大方给婆婆造成的错觉,曹敏给丈夫花钱也是男方的能力,是一而再的无条件帮衬。
财富悬殊的两个人,差的真不是钱;但离婚,似乎又不是唯一的正解。
日复一日的争吵、欺骗和吸血下,两人在离结婚周年纪念日的前一个月提了离婚。
88年出生的曹敏,依然害怕来自年龄和社会的焦虑。即便有钱也难逃越来越不适宜生育的年龄;“离异”这个词造成的流言蜚语。
同时,曹敏的前夫更恐惧,他同样也迟迟不愿意去提正式离婚的日子——三辆摩托都是曹敏的,如果离婚了,不仅没有威风的京A,甚至连溜达的资本都没了。
从这个角度说,哪怕是被扶贫的一方,也没从这段婚姻中获得任何的价值。任何不独立的人,都很难长久地完成人生的成长。
独立虽然痛苦但是必要
“自我独立”,是在这些女孩们身上不具备的优点。
小时候,父母用“富养”把控了成长的路径,企一代父母或许不会想到,富养的B面也让女孩们失去主动把控财富的野心;长大后,失去对财富的把控便在婚姻中变成被竞相算计的筹码。
向下兼容的婚姻,即便躲得过财富悬殊的算计,也躲不过由此造成的三观差异;不是说下嫁的婚姻必定不幸,只是婚姻的天平上,砝码轻重不同的后果更多地由砝码更多的一方来承担。
失去把控,本身就是一种不独立,无关男女,以为找到了捷径的“赘婿们”,殊不知心态不端也难有好的结局。
毕竟,财富的延续,除了运气,还有实力。
*本文均为化名


评论