天眼查App显示,12月13日,腾讯科技(深圳)有限公司“立式刷掌设备”专利获授权。
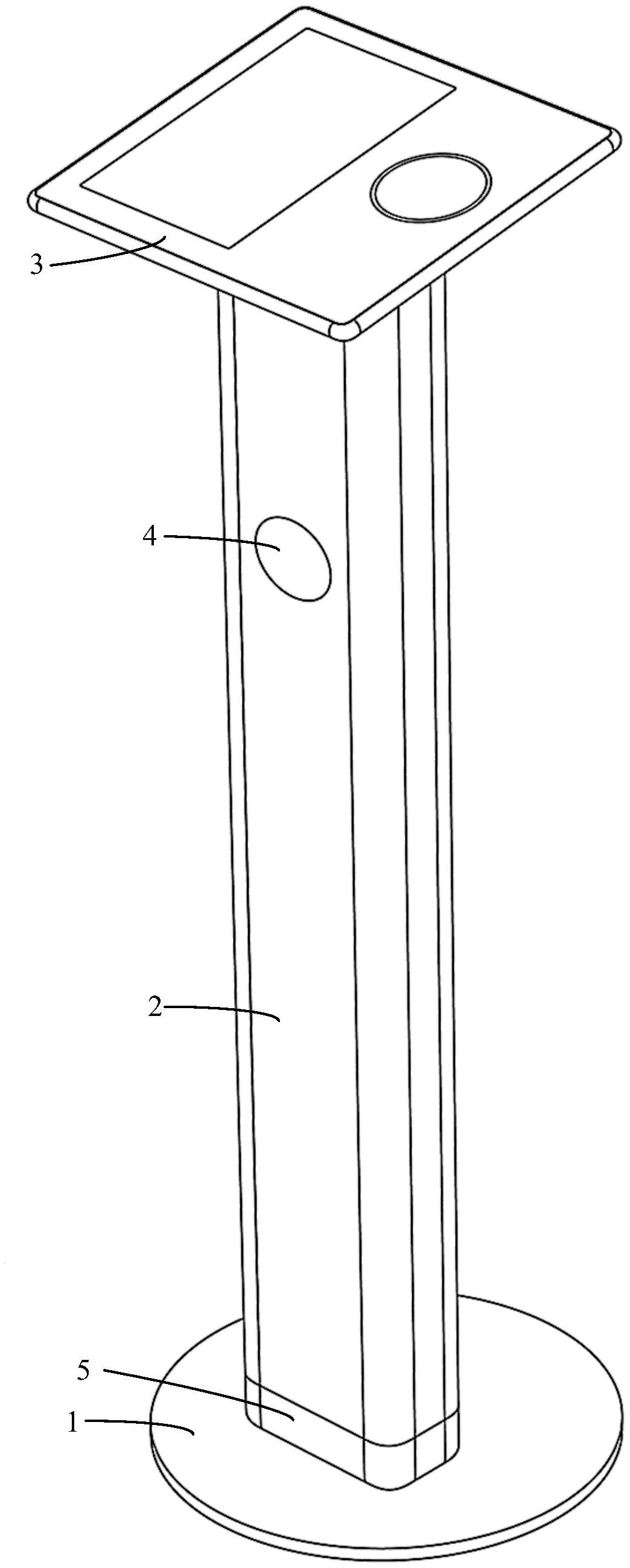
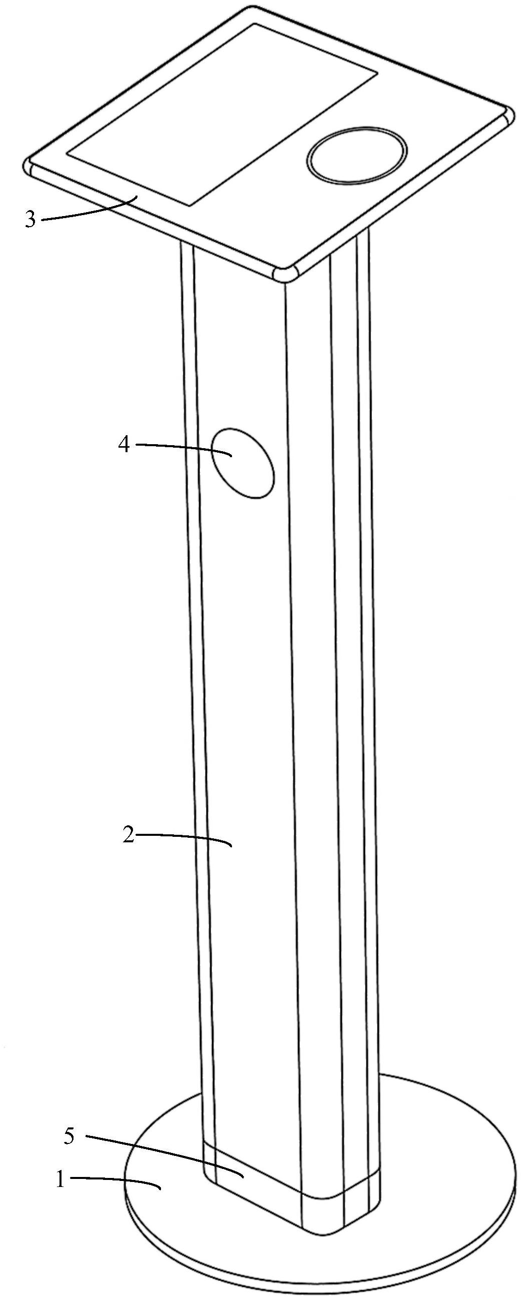
专利摘要显示,本专利属于电子设备技术领域,该立式刷掌设备包括底座、立柱、刷掌模组、人体探测传感器和动态交互灯。立柱的一端与底座固定连接,另一端与刷掌模组固定连接。人体探测传感器与动态交互灯电连接,且均固定于立柱的侧部。该立式刷掌设备具有刷掌模组,因此,用户能够通过刷掌的方式进行身份识别,不需要露出脸部。并且,立式刷掌设备具有人体探测传感器和动态交互灯,当人体探测传感器探测到用户时,动态交互灯可以发光,从而提高立式刷掌设备与用户的交互性。

评论