文|车东西 迩言
编辑|Juice
“小米是一家土生土长的北京企业,一定扎根北京发展,为首都的科技创新和经济发展作出应有的贡献。在这里我表一下决心,一定会把车造好,绝不会辜负大家的期待。”
雷军作为全国人大代表在两会北京市代表团全体会上再次谈及到了小米造车的进展。
除了表决心外,雷军也在发言中透漏了小米汽车更多的进展,他表示,小米造车的进展超过了预期,最近已经完成了冬季测试,预计将会在明年上半年实现量产。雷军也表示,自己把一半的时间都投入到造车项目中了。
同时,小米汽车项目更多的信息也随之浮出水面。
在团队建设方面,小米汽车的研发团队已经超过了2300人。
在资金投入方面,小米去年在造车项目上投入了30亿元,而今年预计总投入将会达到75~80亿元。
工厂方面,小米汽车亦庄工厂曾经进入到了北京市发展改革委发布的2022年“3个100”重点工程中,位列北京市100个重大科技创新及高精尖产业项目名录之一,建成后年产能将会达到30万辆。

▲小米汽车亦庄工厂是100个重大科技创新及高精尖产业项目名录之一
经过两年多的发展,小米汽车的发展显然已经到了一个关键的节点,此前频频曝光的谍照和设计图纸,都在预示着小米汽车即将到来,而此次雷军的发言也再一次为小米汽车项目提供了一颗定心丸。
此外,在今年两会上,雷军还递交了三份提案,其中两份都和汽车行业息息相关,也显示了雷老板在决定造车之后确实在为汽车行业思考。
那么雷军在两会上究竟提了哪些提案呢?小米造车具体走到哪一步了?
01.雷军两会献策:抓好数据、文化关键点
汽车行业作为国民经济的支柱产业之一,每年全国两会,汽车行业的提案都会成为媒体聚光灯下的焦点之一。
雷军作为全国人大代表,同时也是小米汽车的主要负责人,今年共递交了三份提案,分别是关于构建完善汽车数据安全管理体系的提议、大力推动发展汽车文化以及推动仿生机器人快速发展的提议。其中前两份是雷军对汽车行业的观察以及建议一度霸屏车圈热榜。
雷军认为,限制汽车行业发展的因素其中一条就是用户隐私的泄露,而泄露的根源就在于目前汽车数据的安全标准、认证评价、应用管理等机制仍不完善。
为了解决这一问题,必须构建完善汽车数据安全管理体系。
对此,雷老板提出了三点建议:
一是加快制定汽车全生命周期的数据安全标准,指导产业发展。
二是建立汽车数据安全认证、评价机制。
三是构建汽车数据共享机制及平台,促进汽车数据共享使用。
在第二份提案中,雷军也强调了发展汽车文化的重要性。
汽车工业是我国新能源汽车持续增长的基础,而汽车文化是软实力,是汽车工业持续发展的长远推动力量,也是中国汽车工业走向全球并争取引领全球的先导护航力量。
雷军表示:“大力发展汽车文化,形成汽车技术和产品发展、汽车文化兴盛、汽车技术进步和消费需求持续提升的正循环,将成为推动中国从汽车大国走向汽车强国的关键助力。”
对此,雷军提出三点建议:
一是引导营造更加丰富的汽车文化场景,为汽车文化发展提供舞台,为先进汽车产品与技术提供更丰富的应用场景。
二是适度放开汽车改装限制,建立改装零配件和汽车后市场的国家标准,为多样化的创新汽车文化发展提供土壤。
三是全面落地放开二手车准迁限制、放开皮卡进城等品类限制,扩大汽车文化影响范围及群众基础。
02.造车动作频繁:申请商标、伪装路测
在刚刚过去的2月,小米汽车最新消息层出不穷。
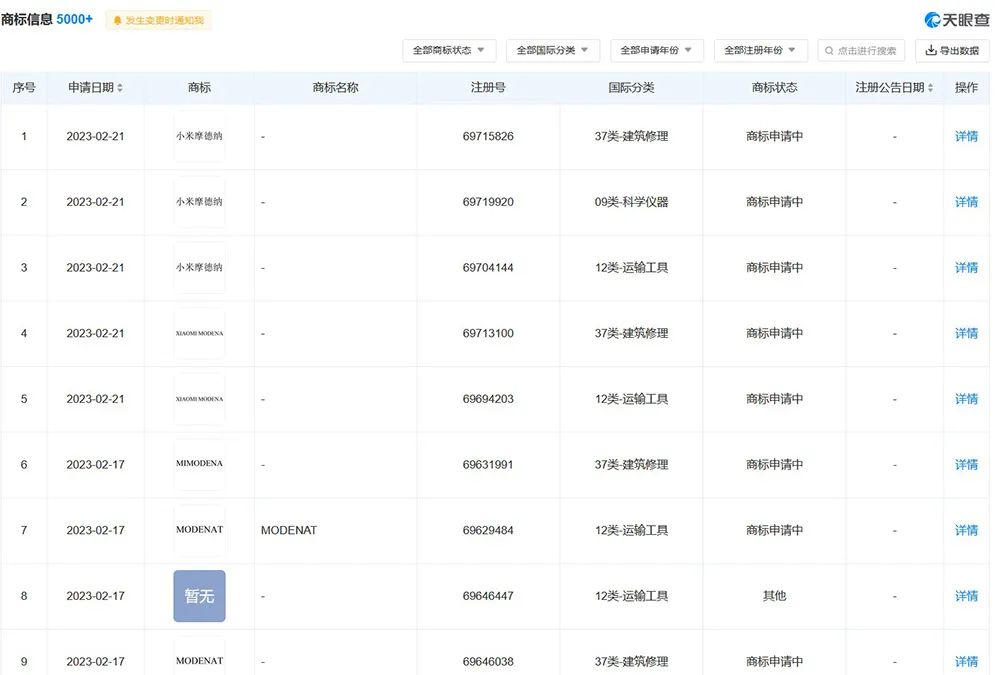
2月下旬,据天眼查显示,小米科技有限责任公司近日申请注册多枚“小米摩德纳”、“MODENAT”、“XIAOMI MODENA”、“MIMODENA”图形及文字商标,国际分类含运输工具、科学仪器、建筑修理,当前商标状态为申请中。

▲小米商标申请信息
这些信息跟此前爆料也对的上,小米的第一款汽车内部代号即为摩德纳,是一款中型溜背式轿车,计划将于2024年第一季度正式量产。
而在此前,关于这首款小米汽车,网络上也曝光了一组小米重度伪装测试车的最新谍照。

▲小米汽车车头谍照
从谍照信息中可以看到图片同之前的内部信息图相差无几,新车依旧是一款中型溜背式轿车,车身线条流畅。

▲小米汽车车尾谍照
同时谍照也曝光了小米汽车的车辆内饰以及一块中控大屏。

▲小米汽车内饰谍照
此外,从图片中可以看到小米测试车和理想L9一样都将激光雷达接口放置在汽车车顶,可见或采取相似的激光雷达布局。
03.结语:小米汽车真要来了!
作为IT公司跨行向汽车业进军的代表,小米汽车始终备受瞩目。
同样跨界造车的百度,借助于吉利的浩瀚平台,已经发布了首款车型,而一切都自研的小米承担的压力显然更多。
不过,相比较于2022年的低调,新年伊始,小米汽车就已经有多个或真或假的信息传出来了,这至少可以反映一个信息,那就是小米造车正在加速。
而雷布斯这次没有“耍猴”,将造车的真材实料带到了两会上,也展示了他对小米造车项目的强大信心。
首款车真面目究竟如何?小米汽车是否能适应新能源车市激烈竞争?车东西将持续关注。


评论