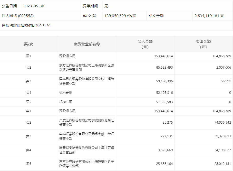
5月30日,巨人网络今日涨停,龙虎榜数据显示,上榜营业部席位全天成交7.74亿元,占当日总成交金额比例为29.38%。其中,买入金额为4.31亿元,卖出金额为3.43亿元,合计净买入8863.08万元。
具体来看,机构合计净买入1.03亿元。此外,知名游资现身龙虎榜,章盟主(国泰君安证券股份有限公司上海江苏路证券营业部)净卖出3057.20万元。此外,深股通专用、东方证券上海浦东新区源深路证券营业部分别买入1.53亿元、8552.25万元;深股通专用、广发证券宁波丽园北路证券营业部分别卖出1.65亿元、7405.63万元。

评论