界面新闻记者 |
“找到可执行财产线索并能执行到位的,由法院直接划拨2018万给予线索举报人”。
近日,成都铁路运输中级法院(下称:成铁中院)发布的悬赏帖子,让中铁信托与昔日“中国翡翠行业第一股”东方金钰股份有限公司(下称东方金钰,已退市)之间的恩怨重回大众视野。
据成铁中院披露的执行案号(2018)川71执174号,亦即“中铁信托与东方金钰、成都瑞欣达企业管理咨询有限公司(下称:瑞欣达)、云南兴龙实业有限公司(下称:兴龙实业,东方金钰控股股东)、王瑛琰、赵宁公证债权文书案”显示,案件被执行人涉及东方金钰等三家法人以及东方金钰实控人夫妻赵宁、王瑛琰夫妇两位自然人,而被执行标的则为东方金钰尚未偿还中铁信托的本息总数约20180万人民币。
成铁中院方面表示,此次悬赏时间从2023年6月29日起至2024年6月28日止。凡是向该院举报被执行财产线索,经查证属实并执行到位的,按照执行回款金额的10%支付悬赏金,悬赏金由成铁中院直接从执行款项中划拨。
这也意味着,凡是能提供有效线索的举报人,将收到2018万元的悬赏金。

悬赏金很丰满,但现实也很骨干。
东方金钰的这笔可执行财产有多难找呢?
按照2017年东方金钰的公告,2017年初,中铁信托向东方金钰发放贷款人民币2.02亿元整,期限24个月,分笔放款,借款利息按双方约定利息执行,并采用季结结息方式。同时由兴龙实业、时任董事长赵宁、王瑛琰为该贷款提供连带责任保证担保。
但直到东方金钰最后一次披露有关于中铁信托的债务情况,也就是2020年6月30日,东方金钰仍有20180万元借款金额尚未偿还。
界面新闻记者在查阅裁判文书网后发现,前述执行案件的裁判日期为2018年07月27日,但早在当年12月25日,中铁信托便因未发现东方金钰可执行财产而申请了一次终结执行程序。
据彼时执行文书披露,成铁中院对被执行人采取限制高消费执行措施,同时,采取了总对总、点对点查控和传统查控等方式查找被执行人的财产,未发现被执行人有可供执行的财产,中铁信托也未提供被执行人可供执行的财产。
无奈之下,中铁信托向法院书面申请该案终结此次执行程序。而法院方面也表示,申请执行人(中铁信托)发现被执行人有可供执行财产的,可以再次申请执行。
作为昔日A股“翡翠第一股”,东方金钰在2015年7月市值曾接近280亿元,一度被称之为资本市场上“疯狂的石头”,更是成为彼时信托公司非标项目的“座上宾”,不少信托公司都曾为其提供信托贷款。
但眼看他起高楼,又见他楼塌了。
在连续多年财务造假“东窗事发”后,东方金钰于2021年3月17日正式退市。诸多信托公司也因此深陷东方金钰债务泥潭无法自拔,中铁信托仅只不过是众多追讨欠款的信托公司之一。
据2020年7月份东方金钰披露的针对上交所对公司2019年年报问询函的回复显示,仅截至2019年底,东方金钰涉及的逾期本息便高达88.42亿元,牵涉其间的信托公司,除中铁信托外,还包括百瑞信托、华融信托、中粮信托、中建投信托、东莞信托五家。
而在稍早前的2019年11月18日,东方金钰未清偿债务的目录中更是出现了11家信托公司名字,涉及逾期本金25.06亿元。除以上6家外,包括中信信托、中海信托、昆仑信托、万向信托以及国通信托也都曾为其发放贷款。
上海信托更是因持有的东方金钰股权无法成功拍卖抵债而以“债转股”形式成为东方金钰第三大股东。据wind显示,截至2022年底,“上海信托-上信-浦银股益4 号集合资金信托计划”持有东方金钰1.05亿股股权,期末参考市值仅剩1674万元,远低于上海信托申请立案执行时的标的价值6.71亿元。
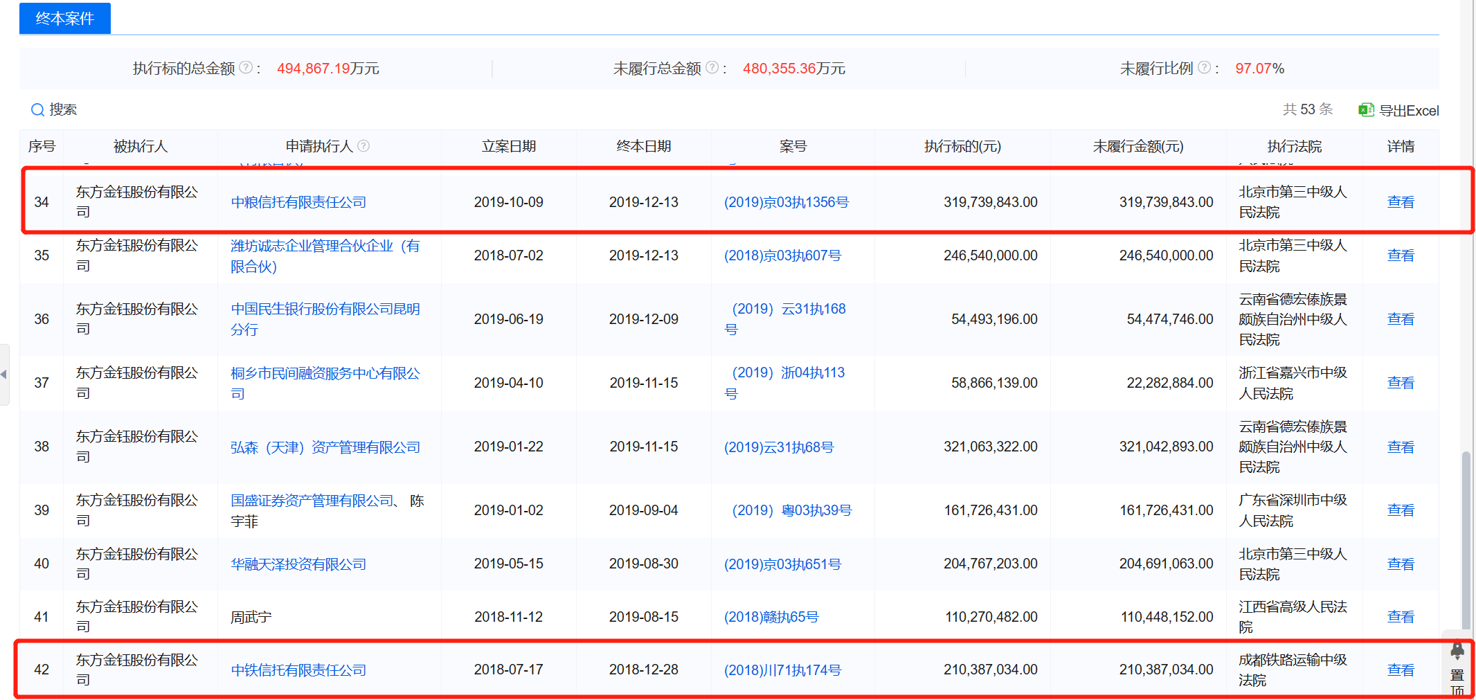
据企业预警通显示,截至发稿,东方金钰已有“失信被执行人纪录”26条,其中两条纪录与百瑞信托相关,涉及被执行标的仅剩余本金高达2.7亿元;进入终本案件纪录53条,49.49亿元执行标的中有48.03亿无法执行,未履行比例高达97.07%,其中涉及中粮信托跟中铁信托两家信托机构,被执行标的全部未履行。
此外,2019年,东方金钰曾两次被股东兴龙实业申请破产重整,但始终处于破产审查申请阶段,与此同时,全国企业破产重整案件信息网也未见有东方金钰的有关记录。
广东法制盛邦律师事务所高级合伙人李修蛟向界面新闻记者分析,想要进行破产重整首先得经过债权人同意,一般要么债权人降低债务索赔要求,要么引入新的投资人,否则进行重整没有意义。此外,破产重整无法实现的,也可以转入破产清算程序。
但破产清算也有两个核心前提,李修蛟表示,一是企业法人不能清偿到期债务,并且资产不足以清偿全部债务;二是明显缺乏偿债能力。
企业预警通显示,截至2022年末,东方金钰资产仅67.83亿元,负债累计143.56亿元。另据披露,2023年以来,因债权人发现了新的财产线索,东方金钰已有3起涉诉案件恢复执行,预估财产价值合计在13亿以上。
无论是破产重整还是清算,在此之前,包括中铁信托在内等一众债权人究竟还能拿回多少欠款,大概真的要靠屏幕前的各位群策群力了。



评论