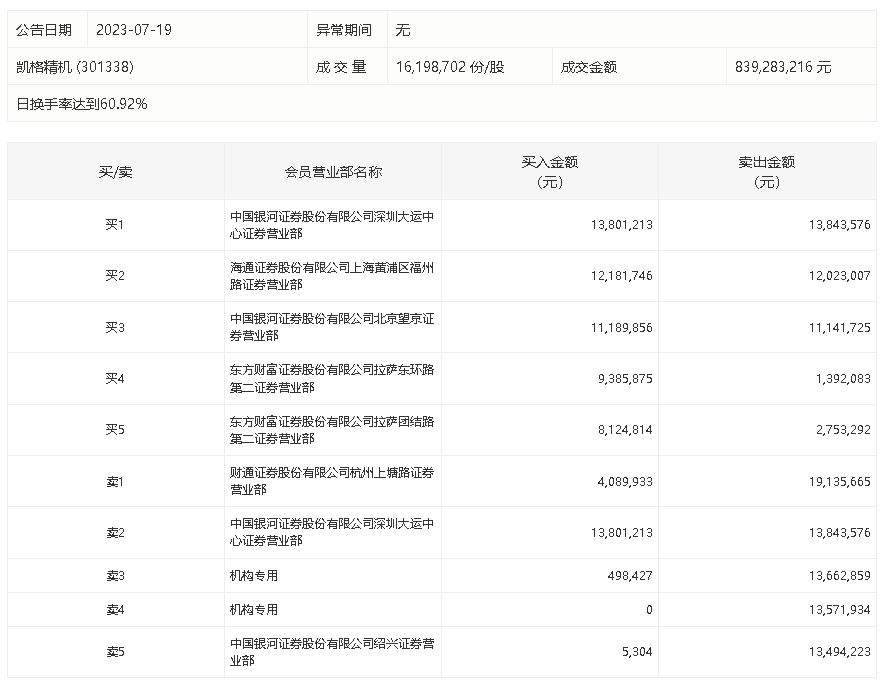
7月19日,凯格精机今日涨13.87%,龙虎榜数据显示,上榜营业部席位全天成交1.6亿元,占当日总成交金额比例为19.1%。其中,买入金额为5927.72万元,卖出金额为1.01亿元,合计净卖出4174.12万元。
具体来看,机构买入49.84万元,卖出2723.48万元,合计净卖出2673.64万元。此外,知名游资现身龙虎榜,赵老哥(中国银河证券股份有限公司绍兴证券营业部)净卖出1348.89万元。此外,中国银河证券深圳大运中心证券营业部、海通证券上海黄浦区福州路证券营业部分别买入1380.12万元、1218.17万元;财通证券杭州上塘路证券营业部、中国银河证券深圳大运中心证券营业部分别卖出1913.57万元、1384.36万元。

评论