界面新闻记者 |
又有小股东准备“清仓”西部信托股权了。
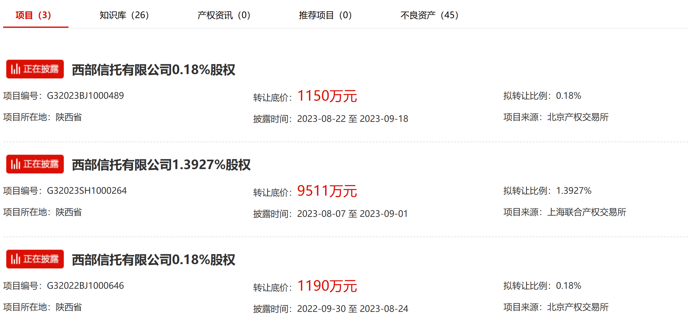
据北京产权交易所信息(下称:北交所),中国航发西安航空发动机有限公司(下称:中国航发西航)已在北交所挂牌了所持有的西部信托0.18%股权,转让底价1150万元,信息披露时间自8月22日起至9月18日止。
于西部信托而言,这已经是本月第二家挂牌拟“出清”公司股权的股东。而在全国产权行业信息化综合服务平台上,正在挂牌转让西部信托股权的国资股东已增至三家,除中国航发西航外,还有中铁宝桥集团有限公司(下称:中铁宝桥)、宝鸡石油钢管有限责任公司(下称:宝鸡钢管)。

此次披露的转让细节显示,中国航发西航与前述两家一样均为西部信托中小股东。在这笔挂牌交易当中,价款支付方式也均要求一次性结清款项,并且原始股东不放弃优先竞买权。
西部信托2022年报披露,截至2022年末,公司共有股东24位,除前四位股东持股占比在5%以上外,另有14位股东持股占比不足2%,其中,11位股东持股占比低于0.5%,小股东颇多,宝鸡钢管与中国航发西航持股均为0.18%。

不过,若以转让底价和对应股权比例计算西部信托整体估值,时隔尚不到一年,西部信托估值已较宝鸡钢管挂牌时折价3.36%。

与此同时,尽管中铁宝桥对西部信托的整体估值(68.29亿元)为同期三家挂牌股东之最,但这一挂牌价格也较2018年11月西安飞机工业(集团)有限责任公司(下称:西飞集团)挂牌转让西部信托时的估值缩水12.41%。
据彼时公开报道,西飞集团于2018年11月在上海联合产权交易所挂牌转让所持有的1.35%西部信托股权,转让底价为10525.22万元,同样为“清仓”转让。
然而西部信托最新股东结构却显示,西飞集团此前转让并没未成功。截至目前,西飞集团仍为西部信托第12大股东,持股占比仅次于中铁宝桥。
就转让原因看,此次中国航发西航和中铁宝桥并未披露转让原因;宝鸡钢管则在转让明细中披露,挂牌转让依据为股东中国石油天然气集团有限公司于2022年1月批准的《关于清理退出所持金融机构股权的通知(财务函〔2022〕7号)》。
西飞集团在2018年挂牌转让时则对外表示,挂牌出让西部信托股份是按照集团要求清理参股企业股权,主要是非主业参股,并非针对金融类。
整体上看,中国航发西航、中铁宝桥、宝鸡钢管和西飞集团均隶属于国务院国资委监管。2019年12月末,国务院国资委曾下发《关于中央企业加强参股管理有关事项的通知》文件,文中明确提到“各中央企业应当合理运用增持、减持或退出等方式加强价值管理,不断提高国有资本配置效率。对满5年未分红、长期亏损或非持续经营的参股企业股权,要进行价值评估,属于低效无效的要尽快处置,属于战略性持有或者培育期的要强化跟踪管理。”
信托专家廖鹤凯向界面新闻记者表示,2018年资管新规发布以来,信托公司在转型压力以及风险持续暴露的情况下行业整体估值存在下降趋势。与此同时,中小股东对于信托公司的参股基本上属于财务投资,因此会有回归主业,清理非主业资产的监管要求。至于是否针对金融机构,各家也会有各自考量。
“此外,信托公司股权拍卖行情与行业发展情况、自身资产情况、经营状况、发展潜力和风险都有很大关系。而在目前市场环境下,大量上市金融机构股价都已破净,市场对信托牌照的价值仍在做重新评估,未来较长时间信托公司股权拍卖或将处于较为惨淡情况。”廖鹤凯说。
2022年报显示,报告期内,西部信托实现营业收入9.01亿元,同比下降6.54%;实现净利润4.28亿元,同比下降2.06%。
截至2022年末,公司管理信托资产规模2649亿元,较期初下降1.62%。其中,主动管理规模993.67亿元,较期初下降12.37%。
另据近期银行间市场披露的西部信托2023年上半年经营数据显示,上半年公司实现营业收入3.54亿元,同比下降31.98%;实现净利润1.62亿元,同比下降43.03%。
评论