文|智驾网 贾不语
编辑|张鑫/浪浪山上的小猪妖
今天上午,零跑汽车和Stellantis集团共同宣布了高达15亿欧元的投资合作,确认了昨天的传闻。
这一消息迅速在资本市场发酵。
令人意外的是,零跑汽车在港股随之大跌,最终以暴跌10.87%收盘,而将全额向Stellantis集团转让所持零跑汽车的大华股份却收收涨2.61%。

在这起被誉为大众投资小鹏汽车之后第二例的反向合资,中国汽车技术反向输出案例中,何以会发出如此一幕?让人颇为错愕。
在零跑汽车的公告中提到,公司已有条件同意向Stellantis配发及发行1.94亿股H股,认购价为每股认购股份43.8港元。认购事项的所得款项总额将为85.09亿港元(约合人民币79.61亿元),拟分配用于研发投资、营销、提升生产能力以及运营资金及一般公司用途等用途。零跑汽车此次发行股份有所溢价。此次认购价格每股43.8港元相较于昨日收盘价36.8港元溢价约19%。
以溢价19%认购当日便迎来10%的跌幅,资本市场上的反应显然对于零跑的此次合作存在一定的误读。
我们先来看这项战略合作的三个核心内容:
第一:投资:
Stellantis集团投资15亿欧元成为零跑汽车的战略股东,获得零跑汽车约20%的股权,并在零跑汽车董事会获得2个席位。
第二:合资:
双方合资组建一家名为“零跑国际(Leapmotor International)”的合资企业,Stellantis集团is集团和零跑汽车的股比为51%:49%,Stellantis集团是大股东,合资公司首席执行官将由斯泰兰蒂斯委任。除大中华地区以外,该合资公司独家拥有向全球其它所有市场开展出口和销售业务,以及独家拥有在当地制造零跑汽车产品的权利。
这一合作被双方称为是行业首创,即一家世界级汽车制造商集团与一家来自中国的新势力电动车企在全球电动车项目上展开了合作。
第三:互补:
零跑借助Stellantis集团在全球范围内的广泛商业资产、实力和积淀,该合资企业将加速并扩张零跑汽车高技术含量和极具品价比的产品在全球的销售;Stellantis集团将借助零跑汽车技术先导的电动车生态系统,来帮助集团实现“Dare Forward 2030”战略规划中的电气化目标,同时Stellantis集团对与合作伙伴探索进一步的协同效应保持开放态度。
从双方的合作而言,这当然是一份奔着双赢去的合作,但从具体的协议条款而言,存在两个容易让外界产生两个疑问:
一,Stellantis集团成为零跑汽车第一大股东后,是否意味着原始创业团队控制权的丢失?
二,海外业务全部转给Stellantis集团控制的合资公司是否意味着零跑汽车仅专注于国内市场?从而无法吃下中国品牌出海的红利?
这两个疑问其实是一个问题,即在这场交易中,是Stellantis集团得利更多,还是零跑汽车无奈的成份更大?
这个问题其实在今天Stellantis集团与零跑汽车在杭州零跑总部召开的发布会上有过回答,即零跑汽车此前有意向的投资方并不仅限于Stellantis集团一家,而Stellantis集团在中国市场洽淡的合作标的企业也并不止零跑一个品牌。
Stellantis集团CEO唐唯实(Carlos TAVARES)说的十分直接:
“我们之前做了大量的调研工作,无论是潜在的合作伙伴,如果我们没有选中的合作伙伴,我就不提名字了,当然这是对他们的保护。在朱总的领导之下,零跑有非常独特的产品组合,他们非常关注技术,且非常有激情,从最基层、最基本的财务方面还是公司治理方面都非常高效,且他们的思维在理解全球市场的时候是非常灵活的。
“从另一方面讲,Stellantis集团也需要对中国市场有一定的曝光率,我们在中国市场目前不算太成功,所以我们非常偏向于依赖一家中国的成功公司,这就是我们的一个意图。因为零跑在这个行业排名第四,所以我们希望帮助他们来开发和促进在中国的发展以及在海外的发展,且这样对我们来讲也是在全球最大的市场的深入,也可以有所帮助。如果我们要赢得中国市场,我们最好先赢下中国一家很好的公司帮助,这是我们的逻辑。
显然这是一次互相选择的结果,当然从体量上而言,Stellantis集团当然是更主动的一方。
只是从最终的股权分配来看,这是不是意味着零跑汽车把自己卖了,管理团队要退出了呢?
显然不是。
在今天零跑汽车发布的公告中透露,零跑汽车董事会有9名股东,而Stellantis集团名额只有两个
唐唯实在回答双方的控制关系时强调:"我们没有资格进行控制,我们没有控股权,我们也不想控制,但我们希望能全力支持。作为董事会成员,我们会参与决策过程及讨论过程,但一切决定都由他们自己来决定,由CEO和董事会成员来决定,我们是其中一个董事而已。”
不过容易造成这一误解的是零跑汽车的投资股东大华集团在今天上午同步发布公告称:
公司与Stellantis于10月26日签署《股份购买协议》,拟以34.92亿港元的价格向其转让9000万股(其中4500万股为H股“全流通”股份,4500万股为内资股)零跑汽车股份,占零跑汽车总股本的7.88%。交易完成后,大华股份将不再持有零跑汽车股份,实现退出。此次退出,上市公司预计将增加公司当期利润约为45.48亿元(税前),占2022年年度净利润的195.70%。
也就是说,大华股份一把梭哈,在零跑集团不再占有一分钱股份,二者在股权上不再是关联公司。

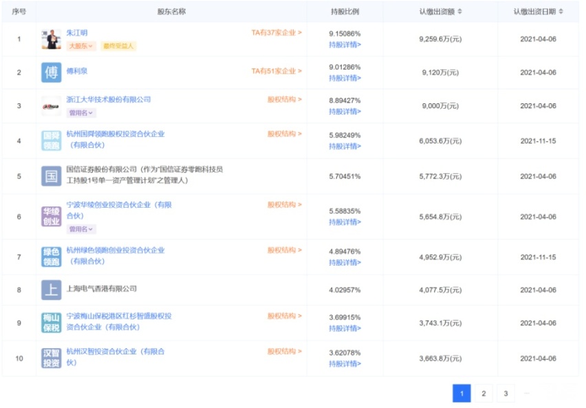
▲企查查显示的零跑汽车前十大股东持股比例与其招股书数据存在一定偏差
对全球第二大安防企业大华股份和零跑汽车关系比较了解的都清楚,朱江明和傅利泉以及二人的夫人都分别是大华股份和零跑汽车的创始人和股东。
两家公司曾有深度捆绑。
而这种捆绑显然给零跑汽车的国际化带来了深重的负担。
这一切源于2022年11月25日,美国联邦通信委员会(FCC)宣布,禁止华为、中兴通讯、海康威视、海能达和浙江大华五家公司在美国销售设备。
FCC称这五家的产品“对美国国家安全构成不可接受的风险”。
据零跑汽车内部人透露,朱江明极其担心这一禁令对零跑汽车的出口以及芯片等零部件供应造成影响。
敢于投资一家被美国制裁的中国公司,有这份勇气的欧洲公司也只有来自法国的Stellantis集团了,而做为交易的一个条件,大华股份从零跑汽车中彻底退出当然对于零跑汽车的国际化和Stellantis集团自身投资的保障是最优解。
只是大华股份的创始人傅利泉依然将是零跑汽车的第三大股东,事实上依然存在一定的禁令风险,零跑汽车将海外业务全部交由Stellantis集团控制的合资公司运营,无疑一是有了欧洲公司的背书,二来拥有了强大的海外渠道。
大华股份为什么退出?以及为什么将所有海外业务转让给Stellantis集团?原因即在于此。
还有比这更好的安排吗?
从智驾网的视角来看,极为看好这一交易。
它证明了中国造车新势力确实已经改变了世界汽车产业的格局。
Stellantis集团CEO唐唯实受制于在中国市场经营不善,一直对中国市场的产业政策和市场环境颇有微词。
Stellantis集团纵使拥有世界上最多的14个汽车品牌和2个移动出行服务单元,业务遍布全球130多个国家,并在30多个国家开展生产制造业务,但今天在中国的合资企业仅剩神龙公司,同样存在感日弱,乘联会数据显示,目前法系车在中国的市场份额仅为微不足道的0.4%。
雷诺已在疫情初期即退出中国,2022年广菲特解体,Jeep、菲亚特、克莱斯勒在中国市场先后折戟,并与在华合作伙伴广汽集团闹得不欢而散。
正是因为Stellantis和唐唯实的一肚子牢骚,在此次欧盟开展对中国电动车的反补贴调查背后,业内一直传闻始作俑者即是Stellantis。
从阻止中国品牌进入欧洲到主动利用自身资源帮助中国汽车出海,这其中的心理变化只有当事人最为清楚。
形势比人强,Stellantis此次反向操作,而且比大众集团走得更远,一跃成为一家成立不到十年的新造车公司的第一大股东,并将此次投资视为其集团十年来最重要战略“Dare Forward 2030”战略规划的重要一步。
真正的原因是零跑的产品和团队经过了世界汽车巨头的认可。
在Stellantis集团2022年3月发布的“Dare Forward 2030”战略规划中设立了全面电动化的目标,投资500多亿欧元,到2030年,集团在欧洲售出的所有乘用车均为纯电动汽车,在美国售出的乘用车及轻型卡车中有50%为纯电动汽车。
从欧美两个市场的反馈来看,Stellantis集团尚没有一款电动汽车成为市场主角。
这当然值得零跑汽车团队自豪。
十天前的10月16日,零跑汽车公布了今年的三季报业绩,第三季度的汽车总交付量这44,325辆,按年增加24.5%,创下单季度交付新高。
期内收益56.56亿元,按年增加31.9%。
净亏损7.89亿元,收窄31.69%。
朱江明表示,第三季度提前达成毛利率转正的目标,第三季毛利率为1.2%,相对2022年同期为-8.9%。
虽然盈利尚待时日,零跑汽车已在高度内卷的中国市场占据了一席之地。
一个月之前的9月20日,零跑汽车发布的C01超级增程版车型,实现了纯电续航里程316km综合续航超过1000公里,售价却低至14.58-16.98万元。
实现如此高的性价比,当前除了零跑能做到,找不到第二家。
这背后是朱江明一直对全域自研的坚持,他说:“一辆车中70%的核心部件都是自己研发与自己制造的,未来合作的话,想像空间足够大。”
零跑汽车目前走的是“纯电++增程双动力布局”,旗下共有T03、C11、C01三款电动汽车以及C11、C01两款增程汽车在售。
未来3年将基于一个技术架构、三个整车平台,打造A级至E级的智能汽车。
唐唯实在被问及如何对比与东风、广汽等国资品牌建立的合资公司时说:
”汽车制造行业在全球压力都很大,从ICE转到EV这是非常巨大的压力,这一深度转型的规模非常大,需要很多的时间,这就需要敏捷性,如果我们不够敏捷,我们就无法在这么短的时间内做出改变与转型。零跑最大的优势在于他们非常敏捷,非常快,敏捷性在业务当中是非常重要的品质,如果零跑敏捷,Stellantis也够敏捷,这样我们就可以快速适应瞬息万变的世界。“
我们从中能读到什么呢?
大众汽车和Stellantis集团只是打开了一扇门,开了一个头,第三轮合资潮,逆向合资即将开始,这是中国汽车人应得的果实。


评论