文 | 中外管理传媒 庄文静
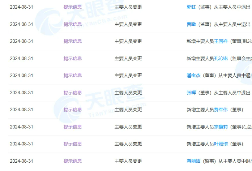
近日,杭州娃哈哈集团有限公司发生工商变更,宗庆后卸任法定代表人、董事长兼总经理职务,均由宗馥莉接任。同时,张晖、郭虹等多名高管退出董事、监事职务,新增叶雅琼、费军伟等为董事,王国祥为董事兼副总经理。

天眼查显示,杭州娃哈哈集团有限公司现由宗馥莉、杭州上城区文商旅投资控股集团有限公司、杭州娃哈哈集团有限公司基层工会联合委员会(职工持股会)3名股东共同持股。其中,宗馥莉持股比例为29.4%。
此前,杭州娃哈哈集团副董事长、总经理宗馥莉的辞职事件引起了业内外的广泛关注。随后,宗馥莉发布的《致娃哈哈集团全体员工的函》揭示了其辞职的原因:“部分股东就本人自宗庆后董事长离世后,对娃哈哈集团经营管理的合理性提出质疑,致使本人无法继续履行对娃哈哈集团及其持股公司的管理职责”。然而,到了7月底,事件却出现“大反转”。娃哈哈发表声明称:为确保公司的平稳健康发展,经各股东“友好协商”,宗馥莉女士决定继续履行娃哈哈集团的相关管理职责。
当时,这一事件在不到一周的时间里经历了戏剧性的反转,暂时平息了看似由股权争议和二代接班问题引发的企业内部动荡。尽管如此,此事件揭示的问题仍然值得深思。
对于正处于或即将面临接班问题的一代创业者和二代接班人来说,此次事件提供了重要的启示。在交接班过程中,如何避免和处理好权力斗争?一代如何“传”好企业,二代如何“承”好企业?其中有哪些敏感而又至关重要的问题?

为此,中外管理传媒采访了多位一代创业者、二代接班人和业内专家,来共同讨论这一亘古不变的难题。

二代为何感到孤立无援?
回顾此次事件,业内人士普遍认为宗馥莉的离职令人震惊,而她的回归同样出人意料。同时,宗馥莉的“以退为进”,多少有些冒险和破釜沉舟的意味。
可能连娃哈哈的股东们和家族成员都低估了宗馥莉的影响力以及消费者对娃哈哈品牌与“宗”姓关联的重视程度。网络上几乎一致的声音表明,没有宗馥莉就不会购买娃哈哈产品,这无疑反映了消费者对娃哈哈品牌及宗馥莉本人的高度关注和支持。
对于民营企业而言,传承始终是一个重要议题。此次事件再次向一代创业者敲响了警钟——企业应该如何传承,才能确保不留下隐患,避免一生的努力付诸东流?
中国猎头协会秘书长、北京腾驹达猎头公司董事长景素奇对中外管理传媒表示:“从宗馥莉辞职到复职的巨大转变,可以看出这场斗争的激烈和复杂性。我认为,这次事件对娃哈哈品牌的长远影响有限。但如果宗馥莉未能复职,将对品牌产生严重影响。毕竟,公众普遍接受子承父业的观念,而且娃哈哈的品牌形象很大程度上与宗庆后的个人声誉紧密相关。所以,如果宗馥莉真的辞职了,与娃哈哈无关了,那么娃哈哈可能就会从此一落千丈。”
因为,品牌不仅是产品标识,也是企业与消费者情感联系的桥梁。娃哈哈作为拥有37年历史的品牌,已陪伴多代人成长。创始人宗庆后展现出的社会责任感和大爱精神,是超越品牌价值的精神财富。公众普遍认为,宗庆后的女儿将继承其文化基因和精神境界,更坚信“没有人比宗馥莉更爱娃哈哈”。此次事件可视为消费者“投票”的结果和舆论的胜利。
实际上,许多初代创业者认为接班是自然的过程。然而,对于二代接班人而言,这往往是在巨大压力下的无奈选择。他们面临的挑战包括不被理解和信任,以及利益冲突等,有时类似于“狮子王辛巴”的困境。
安徽五粮泰生物工程股份有限公司副总经理程勐万里表示:“所谓的二代是一群幸运但不被理解的人。作为二代,没有犯错的空间,否则容易陷入孤立无援的状态。传承不仅是父辈退休后的交接,而是文化、理念和团队的传递。中国的企业往往只关注二代如何承接,而忽视了一代应如何传授。”这或许是许多二代接班人的共同感受。
股权,正是核心问题
那么,一代对于传承和接班,应持有怎样的意识和心态?
湖南中南神箭实业集团有限公司董事长邓玉剑表示:“首先,在顶层设计上,一代要为二代接班铺路。例如,娃哈哈在股权控制方面,缺乏保护创始人或经营团队的绝对经营权,没有一致行动权计划,导致实际经营者的决策不一定被执行。其次,在经营业务中,应让二代先与中高管团队磨合,以形成二代自己的团队。特别是,宗馥莉的性格比较强势,她此前与高管团队并没有足够的时间进行磨合,导致她的一些改革难以落实。这提醒我们,在传承过程中,既要为二代扫清障碍,也要逐步打造二代自己的团队。”
上海泸咖装饰设计有限公司董事长王光兴则认为:“如果一个企业没有合理的股权架构和机制,对股东、经理人和传承人的权利没有明确的界定,就难免会带来许多问题和内部争斗。同时,当企业运行良好、经济形势较好时,会掩盖许多问题。而在经济下行时,对于家族企业,特别是消费品企业来说承受的压力会更大,许多问题可能会暴露出来,甚至极端化。另外,二代接班人需要进行多方面的沟通,一方面要与内部管理人员、核心团队沟通,另一方面要与外部股东沟通,以争取各方面的理解和支持。”
“家族企业要想基业长青,首先企业的控制权一定不能丢失,不能随便引进资本和投资人。其次,接班人的整体素质要高,尤其抗压能力和社会口碑一定要好。最后,一代创始人要时刻给予关怀和支持,即便交了班也要做好精神支持。”新疆乡都酒业有限公司董事长李瑞琴对中外管理传媒表示。
从我们的访谈中可以看出,多位一代创业者都有一个共识:首先要建立好股权机制,其次要给予二代更多的理解和支持。
在景素奇看来,一代创业者与二代接班人之间的关系非常微妙,而且非常重要。一代创业者可以通过设计和规划来引导二代接班,但也不能强求或操纵。“如果二代不想接班,也没有必要强求,应该提前进行充分沟通。如果二代想接班,那么就需要做好规划,并做好让二代经受历练的准备。”

那么,一代创业者应该如何提前规划接班计划,让二代接班时没有后顾之忧呢?景素奇表示:“娃哈哈之所以会发生这场斗争,说明娃哈哈此前股权的安排、日常经营管理权和监事权等都没有处理好。直接影响企业传承的核心问题就是股权,其他都是衍生问题。这里面涉及到股权与事的关系、股权与钱的关系以及股权与人的关系。”
首先,股权与事的关系,主要体现在股权和决策权上。也就是说,决策权有多大、什么事情有决策权、什么事情上有一票否决权、在什么情况下可以召开股东大会、哪些股权在面临重大决策时没有决策权等,这些都需要提前明确约定好。
第二,股权与钱的关系。并不是所有的股权,都有分红权。哪些股权有分红权,有多大的分红权,都要说清楚。
第三,就是股权与人的关系。股权与股东之间的关系需要明确界定。虽然股东都持有股权,但他们在决策过程中的表决权可能不同,即所谓的“同股不同权”。即使大股东也不一定在日常经营管理或董事会决策中拥有权力。
“应防止‘老臣’、经理人、家庭成员等参与股权竞争。他们可能是小股东,但必须明确他们的责权利,避免他们干预决策。”景素奇特别强调,此外,还需提前确定股权变更的相关事宜,如买卖条件、对象和价格(包括预定的价格系数和参数),以防外部资本介入时股权流失,以及防止亲属、经理人和“老臣”形成派系争夺股权,影响经营管理。总之,应通过律师等专业人士,从法律和制度层面妥善设计股权问题,避免给二代接班留下隐患。
可以看出,决定是否由二代接班应基于实事求是的态度,考虑如何有利于企业发展。只有通过与股东的坦诚沟通,才能实现企业、员工和股东利益的最大化。例如,宗馥莉能够迅速回归并继续履职,也是基于娃哈哈内部对“多方利益最大化”的理性考量。

精神联系和文化认同,极为重要
那么,二代接班人需要具备哪些素质?他们如何看待自己的角色?他们希望从一代那里得到怎样的支持?
南阳淅减汽车减振器有限公司总经理赵浩然提供了独特的视角:“一代创业者经历了从贫穷到富有的过程,他们的子女通常在较好的物质条件下成长,甚至受到过度关爱。许多二代被送往国外接受更好的教育,长期不在父母身边,因此可能无法继承一代的优点和家风。虽然让二代接受国际化教育的初衷是为他们将来接班做准备,但二代的价值观和管理方式可能已被‘西化’,回国后,他们在接班过程中可能出现不适应,管理方式上也可能存在问题。通常接受西方教育的人在表达上更直接,这可能与中国的人情世故不太相符。”
我们看到,部分企业家通常会将子女留在身边培养,让他们在国内接受教育。即便选择出国,也在子女成年并形成稳定的价值观之后,才送他们出国深造和拓宽视野。部分二代在接管企业之前,会先在国内领先的企业中工作或尝试创业,在中国独特的商业环境中积累经验后再回归家族企业。正是这些经历过市场洗礼的二代,往往能更顺利地接过领导权杖。他们在中国商业环境中成长,与父辈共享相同的文化背景,因此更容易融入企业文化中。
“中国企业面临的传承问题,根源在于接班人与企业之间缺乏精神联系和文化认同。”《三井帝国在行动》作者、中国产业经济学家白益民对中外管理传媒表示,由于中国的初代企业家大多没有接受过正规高等教育,对子女的教育尤为重视,许多人选择将孩子送往国外深造,有的甚至在小学或初中阶段就送往美国、英国等发达国家学习,专业多聚焦于金融、投资等领域。因此,他们深受西方教育和文化的影响。
“有些二代不愿意接班,因为他们与父辈的事业既无文化也无情感的联系;有的即使接班,也更倾向于从事投资、金融等领域的工作,不愿参与实际的企业运营;还有的选择自行创业,最终企业只能交由职业经理人管理。”白益民直言,这反映了当前中国民营企业接班的现状。
相比之下,日本企业通常会将孩子从小培养成‘小伙计’,等到他们有了一定的成长和经验后,才让他们从事更具创新性的工作。这正是日本企业能够百年传承的成功秘诀,许多企业都是通过这种方式一代代传承至今。
中国锻压协会秘书长张金对中外管理传媒表示:“如果计划让二代接班,首先,必须从他们幼年开始,让他们在企业环境中成长,受到企业文化的熏陶。其次,绝不能让二代从事与一代公司完全无关的业务(包括学业),这无疑是一种冒险。”
二代眼中的最大难题
人们普遍认为,“创业难,守业更难”。的确,在二代接班的过程中,面临的挑战和障碍并不比创业者轻松,甚至可能更加艰难。
在接班过程中,除了股权问题外,多位二代表示:最大的难题之一是与资深员工建立关系和信任,另一个则是企业在发展中的战略调整问题。
“对于父辈的发展战略,二代需要及时与一代沟通并提出建议,包括对元老管理团队的建议。二代需要系统地吸收知识,并结合自己的想法进行组织战略的调整。现在,企业也可以寻求外部咨询机构的帮助来制定发展战略,利用外部专家的专业视角来形成自己的企业战略。俗话说‘屁股决定脑袋’,真正坐上接班人的位置时,面临的压力将会大不相同。我们不仅要妥善处理与资深员工的关系,更需要培养自己的核心团队。”赵浩然的观点,显然代表了众多二代接班人的心声。
“二代接班人要调整好自己的心态,对于元老要保持充分的尊重,并要做好沟通。而父辈给我们的最大支持,一方面是倾听和理解,另一方面就是要给予一定的权力。”赵浩然补充道。
同为二代的程勐万里也有感而发,他表示:“二代应当具备长期担任职业经理人的心态,这样就不会轻易感到难过或失落。我非常理解宗馥莉的处境,她可能还未建立自己的团队,因此她所做的每一个决策和每一步努力都极为不易。”
接班,更需“能力+心态”的修炼
传承,不仅仅是给二代一个职位,更要传给他们一个能够带领企业持续发展的组织机制,可传承的企业文化、价值观,以及更为具体的经营之道、处世哲学等,这些都是不可或缺的。
作为面临传承问题的一代创业者,邓玉剑希望二代们可以做好以下几方面的修炼:
首先,二代要学会忍辱负重和韬光养晦。比如,宗馥莉的性格有些强势,过于锋芒毕露,在未掌握实际控制权之前,不应急于进行重大改革,而是应先实施一些可控的变革。接手后的前期改革一定要软着陆,要先掌握实权,再逐步进入改革的深水区。
其次,坚韧是二代做好接班的首要素质。一旦选择接班,就不要轻易放弃、轻言离职,这会影响个人的威信。
再次,融会贯通东西方哲学。二代在未接班前的能力锻炼上,一定要注意学习东方哲学智慧和西方经营管理,要将两者结合起来,接班之路才会更加顺畅。
在中外管理传媒举办的“二代私董会”活动中,我们见证了一批令人印象深刻的二代接班人。他们不仅拥有高学历、广阔的视野(多数具备国外留学或国内顶尖大学的教育背景),而且对商业和经济有深刻的理解,学习能力出众。更重要的是,他们对父辈和企业抱有深厚的情感与责任感,对家族传承、个人管理及社会责任均有独到见解,展现出自信、坚定以及极高的情商。以至于不少一代创业者常会发出这样的感慨:“他们可比我们当年要强多了。”
对于“长江后浪推前浪”的二代,景素奇也表达了他的期望:
首先,二代必须认真准备接班工作,这需要他们具备强烈的责任感,明确企业应承担的社会责任和服务价值,对社会、供应商、客户和员工负责,树立全面的负责任态度。
其次,二代应该练就一身真本事,协调好元老、经理人、兄弟姐妹及股东之间的关系,这不是靠自己接班人的身份就能解决的问题。身份只是一个正当的名义,但将外界赋予的光环转化为行动力和执行力,实现预期成果,是需要下一番苦功夫的。
“这是一个凤凰涅槃的过程,必须认真地锤炼自己,才能全面掌控和驾驭整体局势。”景素奇总结道。



评论