界面新闻记者 |
券商并购重组掀起“浪潮”!
11月7日,西部证券(002673.SZ)发布公告,公司召开第六届董事会第十六次会议,审议通过了关于公司收购国融证券股份有限公司控股权的提案。公告显示,西部证券与国融证券及其8名股东在前一工作日签订了《股份转让协议》。
具体看来,西部证券拟通过协议转让方式受让长安投资、杭州普润、天津吉睿、诸暨楚萦、北京同盛、横琴鑫和、北京用友、宁远高分别持有的国融证券42.0747% 、14.0252%、1.6830%、2.2578%、1.9747%、1.1220%、1.1220%、0.3366%,合计64.5961%。
在此次股份转让协议中,国融证券大股东长安投资仅转让部分股权(42.0747%),若收购进展顺利,其还将持有国融证券约29%的股权。
参考国融证券截至2023年12月31日的评估值,经相关方协商一致,本次股份转让的价格为3.3217元/股。

据资产评估报告,国融证券股东全部权益在2023年12月31日的市场价值为60.44亿元,较合并口径归属于母公司口径账面净资产增值20.43亿元,增值率51.06%。
方正证券非银分析师表示,预计本次收购有助于西部证券提升资本实力。据其分析,2023年底西部证券净资产279亿元,位居行业第27名;国融证券净资产40亿元,位居行业第95名,若合并后,二者加总将达到净资产319亿元,排名静态提升至行业第23名,介于国元证券、国金证券之间。
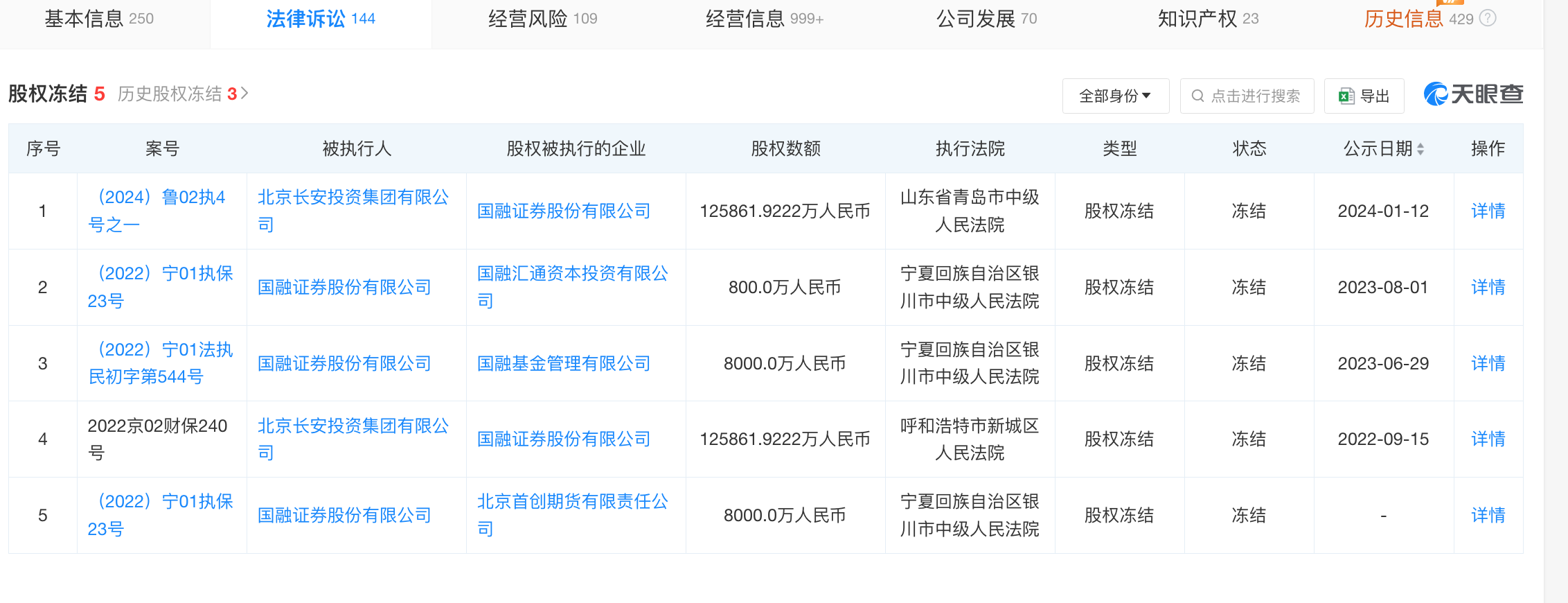
对于西部证券而言,尽管国融证券的规模相对较小,但完成此次收购并非易事。国融证券一些股权冻结问题为目前收购的最大潜在风险。
有接近国融证券人士表示,“考虑到国融证券目前复杂的股权结构,西部证券的这一收购计划可能会遇到一些难题和挑战。一个主要的挑战在于,国融证券的控股股东所持有的股份目前被冻结。”
2016年国融证券增资扩股,彼时杭州普润、天津吉睿、横琴鑫和、北京用友、宁远高合计5家公司以4.98元/股的价格从长安投资受让3.26亿股国融证券股份。长安投资承诺,如果国融证券五年内未上市,则回购股份。
但最终未能实现上市梦,国融证券多位中小股东一同将长安投资告上法庭,后者面临巨大的资金压力。天眼查显示,长安投资对国融证券的全部股份被冻结,国融证券旗下国融基金、首创期货等公司也有股权被冻结。

长安投资曾试图通过出售其持有的国融证券股份来减轻财务负担。2021年,青岛国资曾提出以68.4亿元的报价购买这些股份,但因价格问题,该交易最终未能落地。
消息人士指出,“如果西部证券成功并购国融证券,长安投资面临的资金困境有望得到缓解。同时,众多中小股东长期卷入的法律争端也可能得到解决。相较于西部证券目前提出的每股3.3217元的收购价格,这五位中小股东可能会面临亏损退出的局面。”
“此外,多家中小股东是否同意股权解冻也成为一大看点,如果他们不同意解冻,证监会也将不受理该股权转让的行政许可。”他表示,“此外,相关欠款的去向是先打到法院,还是长安投资方面,相关细节仍需西部证券进一步披露操作细节,这也是一大难点。”
界面新闻就上述问题向西部证券发去采访函,截至发稿尚未得到公司回应。
公开资料显示,西部证券成立于2001年,注册地陕西省西安市,注册资本44.7亿元,实际控制人为陕西投资集团有限公司。股东方面,陕西投资集团有限公司、上海城投控股股份有限公司分别持股35.65%、10.26%,为公司第一、二大股东。
业绩表现方面,10月29日,西部证券2024年三季度报告显示,2024年前三季度,西部证券实现营业收入44.31亿元,同比下降22.59%。
同日,西部证券发布公告称,为推进资产管理业务专业化发展,公司拟出资人民币10亿元设立全资资产管理子公司。经营范围除常规的证券资产管理业务外,还将积极申请公募基金管理业务资格。值得注意的是,西部证券资管业务手续费净收入达到1.26亿元,同比增长81.24%。



评论