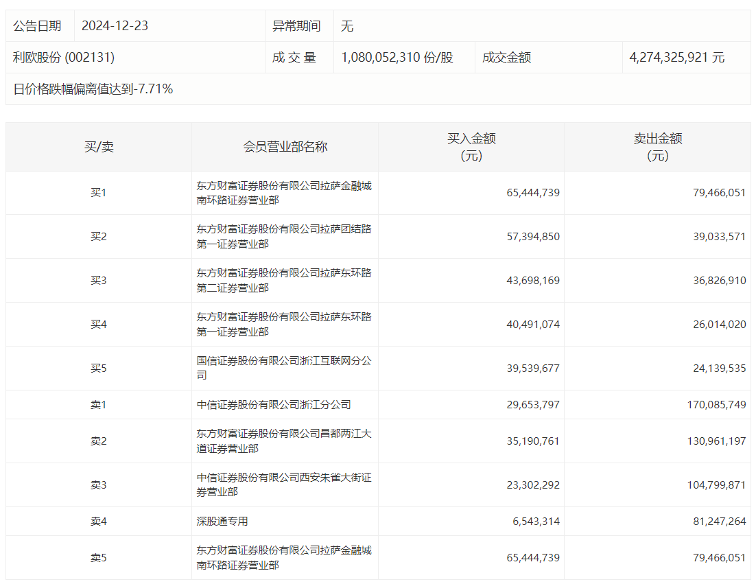
利欧股份今日跌停,龙虎榜数据显示,上榜营业部席位全天成交10.34亿元,占当日总成交金额比例为24.19%。其中,买入金额为3.41亿元,卖出金额为6.93亿元,合计净卖出3.51亿元。
具体来看,知名游资现身龙虎榜,方新侠(中信证券股份有限公司西安朱雀大街证券营业部)净卖出8149.76万元。此外,中信证券浙江分公司、东方财富证券昌都两江大道证券营业部分别卖出1.70亿元、1.31亿元;东方财富证券拉萨金融城南环路证券营业部、东方财富证券拉萨团结路第一证券营业部分别买入6544.47万元、5739.49万元。

评论