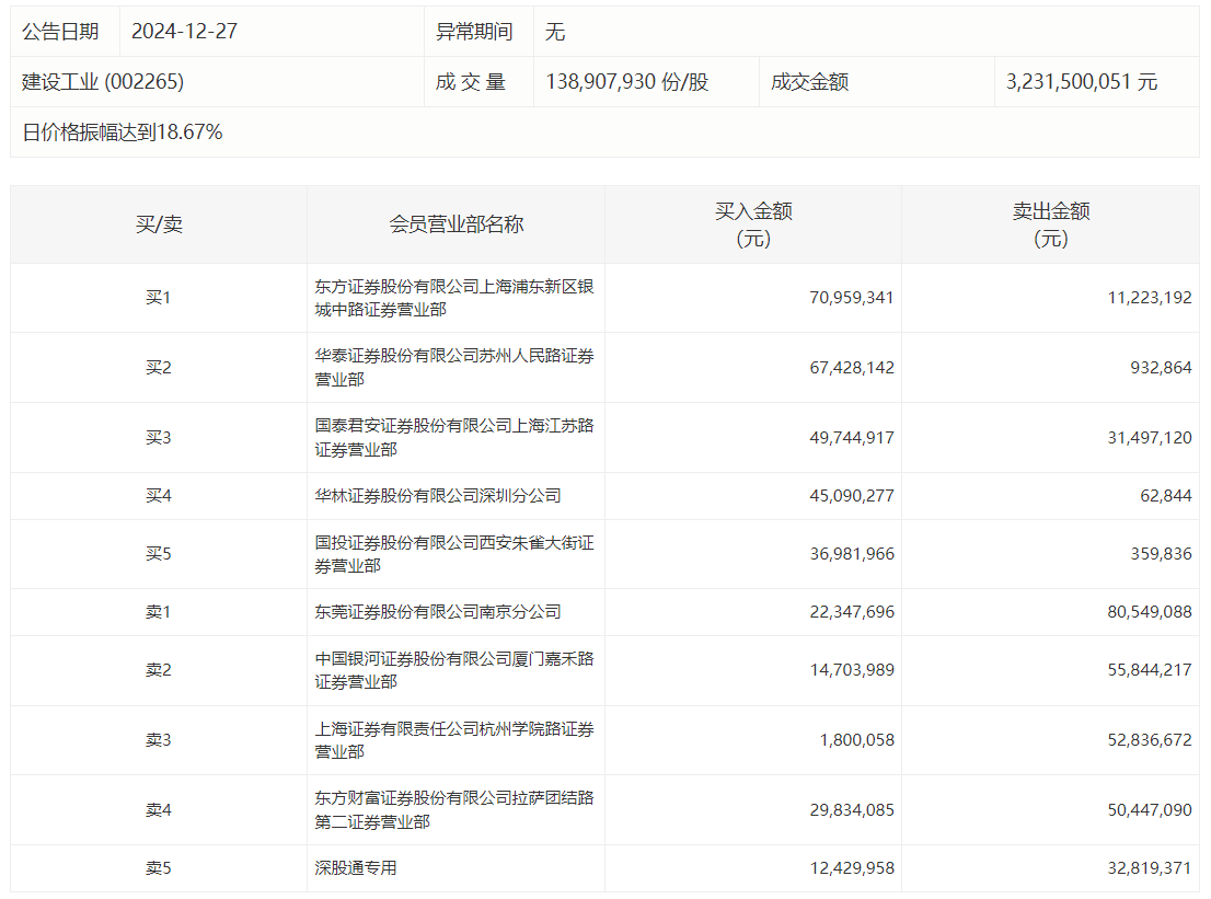
建设工业今日涨5.33%,龙虎榜数据显示,上榜营业部席位全天成交6.68亿元,占当日总成交金额比例为20.67%。其中,买入金额为3.51亿元,卖出金额为3.17亿元,合计净买入3474.81万元。
具体来看,知名游资现身龙虎榜,章盟主(国泰君安证券股份有限公司上海江苏路证券营业部)净买入1824.78万元。此外,东方证券上海浦东新区银城中路证券营业部、华泰证券苏州人民路证券营业部分别买入7095.93万元、6742.81万元;东莞证券南京分公司、中国银河证券厦门嘉禾路证券营业部分别卖出8054.91万元、5584.42万元。

评论