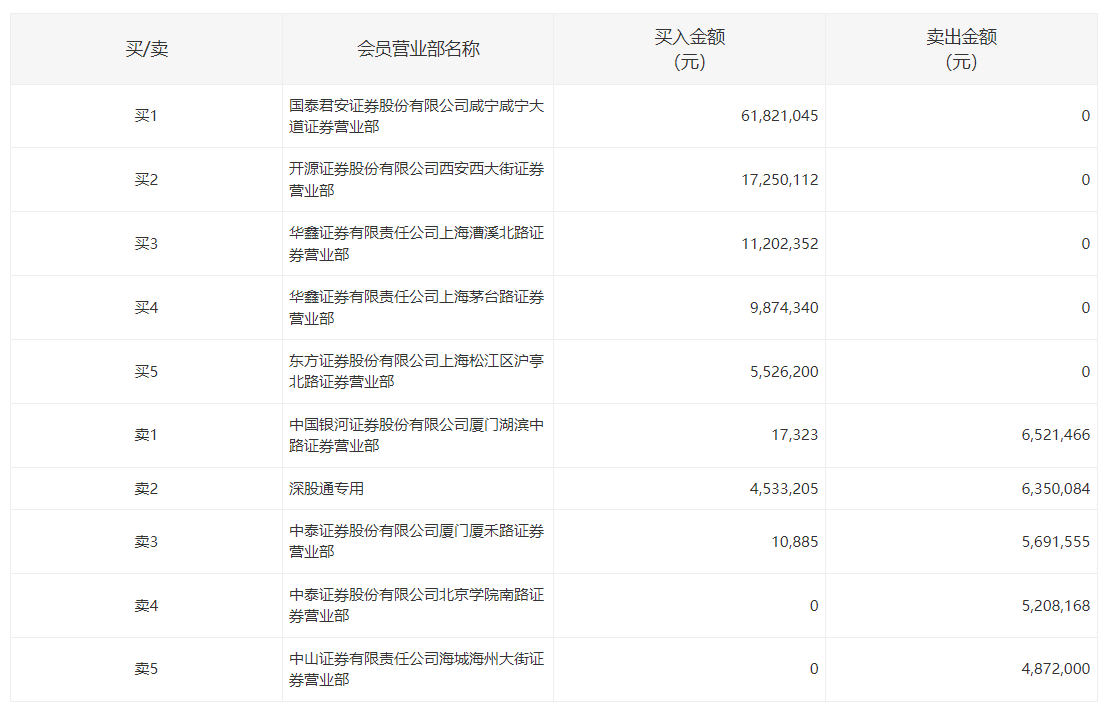
潜能恒信2月28日涨停,龙虎榜数据显示,上榜营业部席位全天成交1.39亿元,占当日总成交金额比例为49.96%。其中,买入金额为1.1亿元,卖出金额为2864.33万元,合计净买入8159.22万元。
具体来看,知名游资现身龙虎榜,炒股养家(华鑫证券有限责任公司上海茅台路证券营业部)净买入987.43万元。此外,国泰君安证券咸宁咸宁大道证券营业部、开源证券西安西大街证券营业部分别买入6182.10万元、1725.01万元;中国银河证券厦门湖滨中路证券营业部、深股通专用分别卖出652.15万元、635.01万元。

评论